Owner’s Manual & Safety Instructions
Save This Manual Keep this manual for the safety warnings and precautions, assembly, operating, inspection, maintenance and cleaning procedures. Write the product’s serial number in the back of the manual near the assembly diagram (or month and year of purchase if product has no number).
Keep this manual and the receipt in a safe and dry place for future reference.
21e
![]()
30″ 5 Drawer
Mechanic’s Cart

64030 64061 64031 58833
Visit our website at: http://www.harborfreight.com
Email our technical support at: [email protected]
When unpacking, make sure that the product is intact and undamaged. If any parts are missing or broken, please call 1-888-866-5797 as soon as possible.
Copyright© 2021 by Harbor Freight Tools®. All rights reserved.
No portion of this manual or any artwork contained herein may be reproduced in any shape or form without the express written consent of Harbor Freight Tools.
Diagrams within this manual may not be drawn proportionally. Due to continuing improvements, actual product may differ slightly from the product described herein.
Tools required for assembly and service may not be included.
WARNING
Read this material before using this product.
Failure to do so can result in serious injury.
SAVE THIS MANUAL.
Specifications
| Total Combined Weight Capacity (Evenly distributed from bottom up.) | 700 lb |
IMPORTANT SAFETY INFORMATION
Assembly Precautions
- Assemble only according to these instructions. Improper assembly can create hazards.
- Wear ANSI-approved safety goggles and heavy-duty work gloves during assembly.
- Keep assembly area clean and well lit.
- Keep bystanders out of the area during assembly.
- Do not assemble when tired or when under the influence of alcohol, drugs or medication.
- Weight capacity and other product capabilities apply to properly and completely assembled product only.
- Assemble on a flat, level, hard and smooth surface capable of safely supporting a fully loaded Cart.
Use Precautions
TO PREVENT SERIOUS INJURY AND DEATH FROM TIPPING:
- DO NOT SIT, STAND OR CLIMB ON THIS ITEM.
- This product is not a toy nor a toy chest.
Do not allow children to play with or near this item. - Do not exceed 700 lb weight capacity, evenly distributed from bottom up.
Uneven loading causes tipping.
Be aware of dynamic loading!
Sudden load movement may briefly create excess load causing product failure. - Do not open more than one Drawer at once.
Lid must be open for Drawers to be unlocked. - Close and lock Drawers before moving.
- Use only on a flat, level, hard and smooth surface capable of safely supporting a fully loaded Cart.
Do not roll Cart over concrete seams or other rough/uneven surfaces. - Do not lift using handle(s).
Do not lift while loaded. - Lock Swivel Casters after moving.
- Do not mount on truck bed or any other moving object.
- Use as intended only.
- Inspect before every use; do not use if parts are loose or damaged.
- Maintain product labels and nameplates.
These carry important safety information.
If unreadable or missing, contact Harbor Freight Tools for a replacement.
Assembly Instructions
Read the ENTIRE IMPORTANT SAFETY INFORMATION section at the beginning of this document including all text under subheadings therein before set up or use of this product.
Note: Finger tighten hardware until assembly is complete.
1. Assemble on a flat, level, hard and smooth surface capable of safely supporting a fully loaded Cart.
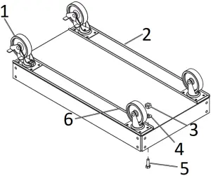
2. Attach two Fixed Casters (10) to one side of the Bottom Shelf (8), using eight sets of Bolts (11), Washers (12) and Nuts (13).
3. Attach two Locking Swivel Casters (9) to the other side, using eight sets of Bolts (11), Washers (12) and Nuts (13).
- Locking Swivel Caster
- Bottom Shelf
- Nut
- Washer
- Bolt
- Fixed Caster
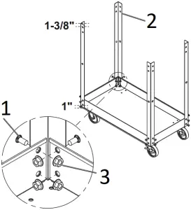
4. Attach Posts (18) to the outside corners of the Bottom Shelf, using sixteen sets of Bolts (14) and Nuts (15).
Note: Make sure the bolt holes on the upper ends of Posts measure 1-3/8″ from the top and the lower holes measure 1″ from the bottom ends.
- Bolt
- Post
- Nut
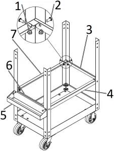
5. Attach Front/Back Cross Supports (6) to the inside of Posts using four sets of Bolts (14) and Nuts (15).
6. On the same side as Swivel Casters, attach Tray (16) to the outside, and a Side Cross Support (7) to the inside of Posts using two sets of Long Bolts (11) and Nuts (15).
7. On the other side, attach the remaining Side Cross Support to the inside of Posts using two sets of Bolts (14) and Nuts (15).
- Nut
- Bolt
- Side Cross Support
- Front Cross Support
- Tray
- Side Cross Support
- Back Cross Support
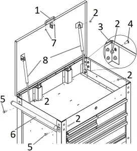
WARNING! TO PREVENT SERIOUS INJURY:
The chest is heavy; do not attempt to lift and lower onto Cross Supports without assistance.
8. With assistance, lift up the chest, then lower it carefully between the Posts until its bottom edges rest on the Cross Supports.
- Chest
9. Attach Side Handle (17) to lower holes on same side as Locking Swivel Casters, using two sets of Long Bolts (11) and Nuts (15).
10. Attach Lid Handle (21) using two Screws (22).
11. Place one Bracket (19) in each corner of Chest. Attach Posts to chest using fourteen sets of Bolts (14) and Nuts (15).
12. Attach Gas Struts (20) using four Nuts (13).

- Lid Handle
- Nut
- Bracket
- Short Bolt
- Long Bolt
- Side Handle
- Screws
- Gas Struts
13. Tighten all hardware, starting at the bottom.
Operation Instructions
Read the ENTIRE IMPORTANT SAFETY INFORMATION section at the beginning of this document including all text under subheadings therein before set up or use of this product.
- Unlock Drawers and fill Cart evenly, from bottom to top. Do not exceed weight capacities.
- Close all Drawers and lock them.
- Unlock Swivel Casters.
- Roll Cart to a flat, level, hard and smooth surface capable of safely supporting a fully loaded Cart. Do not roll Cart over concrete seams or other rough/uneven surfaces.
- Lock Swivel Casters.
Maintenance and Servicing
Procedures not specifically explained in this manual must be performed only by a qualified technician.
WARNING
TO PREVENT SERIOUS INJURY FROM TOOL FAILURE:
Do not use damaged equipment. If any part becomes damaged, have the problem corrected before further use.
- PERIODICALLY, inspect the general condition of the Cart. Check for:
• loose hardware,
• misalignment or binding of moving parts,
• brake operation,
• caster swivel function and movement,
• cracked or broken parts,
• any other condition that may affect its safe operation. - Wipe external surfaces of the Cart with clean cloth.
- Lubricate Drawer Slides as needed.
PLEASE READ THE FOLLOWING CAREFULLY
THE MANUFACTURER AND/OR DISTRIBUTOR HAS PROVIDED THE PARTS LIST AND ASSEMBLY DIAGRAM IN THIS DOCUMENT AS A REFERENCE TOOL ONLY. NEITHER THE MANUFACTURER OR DISTRIBUTOR MAKES ANY REPRESENTATION OR WARRANTY OF ANY KIND TO THE BUYER THAT HE OR SHE IS QUALIFIED TO MAKE ANY REPAIRS TO THE PRODUCT, OR THAT HE OR SHE IS QUALIFIED TO REPLACE ANY PARTS OF THE PRODUCT. IN FACT, THE MANUFACTURER AND/OR DISTRIBUTOR EXPRESSLY STATES THAT ALL REPAIRS AND PARTS REPLACEMENTS SHOULD BE UNDERTAKEN BY CERTIFIED AND LICENSED TECHNICIANS, AND NOT BY THE BUYER. THE BUYER ASSUMES ALL RISK AND LIABILITY ARISING OUT OF HIS OR HER REPAIRS TO THE ORIGINAL PRODUCT OR REPLACEMENT PARTS THERETO, OR ARISING OUT OF HIS OR HER INSTALLATION OF REPLACEMENT PARTS THERETO.
Parts List and Diagram
Parts List
| Part | Description | Qty |
| 1 | Lid | 1 |
| 2 | Chest | 1 |
| 3a | Top Left Drawer | 2 |
| 3b | Top Right Drawer | 1 |
| 3c | Middle Drawer | 1 |
| 3d | Bottom Drawer | 1 |
| 4 | Drawer Slide | 10 |
| 5 | Rail | 10 |
| 6 | Front/Back Cross Support | 2 |
| 7 | Side Cross Support | 2 |
| 8 | Bottom Shelf | 1 |
| 9 | Locking Swivel Caster | 2 |
| 10 | Fixed Caster | 2 |
| 11 | Long Bolt (M8x18) | 20 |
| 12 | Washer (Ø8) | 16 |
| 13 | Nut (M8) | 20 |
| 14 | Short Bolt (M8x14) | 36 |
| 15 | Nut (M8) | 40 |
| 16 | Tray | 1 |
| 17 | Side Handle | 1 |
| 18 | Post | 4 |
| 19 | Bracket | 4 |
| 20 | Gas Strut | 2 |
| 21 | Lid Handle | 1 |
| 22 | Screw (M4x6) | 2 |
Record Serial Number Here: ____________________________
Note: If product has no serial number, record month and year of purchase instead.
Note: Some parts are listed and shown for illustration purposes only, and are not available individually as replacement parts. Parts may not be interchangeable.
Specify UPC number when ordering:
Black: 193175345639
Red: 193175345677
Blue: 193175370143
Slate Grey: 193175447593
Assembly Diagram

Limited 90 Day Warranty
Harbor Freight Tools Co. makes every effort to assure that its products meet high quality and durability standards, and warrants to the original purchaser that this product is free from defects in materials and workmanship for the period of 90 days from the date of purchase. This warranty does not apply to damage due directly or indirectly, to misuse, abuse, negligence or accidents, repairs or alterations outside our facilities, criminal activity, improper installation, normal wear and tear, or to lack of maintenance. We shall in no event be liable for death, injuries to persons or property, or for incidental, contingent, special or consequential damages arising from the use of our product. Some states do not allow the exclusion or limitation of incidental or consequential damages, so the above limitation of exclusion may not apply to you. THIS WARRANTY IS EXPRESSLY IN LIEU OF ALL OTHER WARRANTIES, EXPRESS OR IMPLIED, INCLUDING THE WARRANTIES OF MERCHANTABILITY AND FITNESS.
To take advantage of this warranty, the product or part must be returned to us with transportation charges prepaid. Proof of purchase date and an explanation of the complaint must accompany the merchandise. If our inspection verifies the defect, we will either repair or replace the product at our election or we may elect to refund the purchase price if we cannot readily and quickly provide you with a replacement. We will return repaired products at our expense, but if we determine there is no defect, or that the defect resulted from causes not within the scope of our warranty, then you must bear the cost of returning the product.
This warranty gives you specific legal rights and you may also have other rights which vary from state to state.
![]()
26541 Agoura Road • Calabasas, CA 91302 • 1-888-866-5797



















