MASTERCRAFT
30″ 1-Drawer Tool Cart
Instruction Manual

IMPORTANT:
Please read this manual carefully before installing this cabinet and save it for reference.
NOTE:
If any parts are missing or damaged, or if you have any questions, please call our toll-free helpline at 1-800-689-9928. Have the product number, cash register receipt and the date of purchase available when you call. DO NOT SHIP YOUR PRODUCT BACK TO THE STORE UNLESS WE SEND YOU WRITTEN INSTRUCTIONS FOR RETURN.
SAVE THESE INSTRUCTIONS
This manual contains important safety and operating instructions. Read all instructions and follow them carefully with use of this product.
Model no. 058-6553-2
Contact us 1-800-689-9928
This manual contains information that relates to PROTECTING PERSONAL SAFETY and PREVENTING EQUIPMENT PROBLEMS. It is very important to read this manual carefully and understand it thoroughly before using the tool cart.
- The maximum weight for each drawer should be no more than 75 lb (34 kg).
DO NOT OVERLOAD DRAWERS. - The maximum product weight, including contents, should be no more than 450 lb (204.5 kg) for the cart.
- DO NOT attempt to lift the cart using chains, ropes or other lifting devices if two persons cannot lift the cart by the side handles. Use a forklift placed under the bottom of the cart if this situation occurs. The side handles may fail, which may cause personal injury or damage to the product.
- DO NOT stand on this product. You may fall, which may cause personal injury.
- WEAR SAFETY GLASSES when removing or repositioning the slides.
- When moving this product, do not pull it. Push the product to prevent personal injury.
- Handle and swivel castors must be attached on the same side of the product.
- USE THE BRAKES when not moving this product. This will prevent the product from rolling, which may cause personal injury or product damage.
- DO NOT open more than one drawer at a time. The product may become unstable and tip, which may cause personal injury or product damage.
- DO NOT mount this product on a truck bed or any other moving object. This may cause personal injury or product damage.
- Secure this product properly before moving it with a forklift.
- DO NOT tow with power equipment. The product could tip, which may cause personal injury or product damage.
- DO NOT alter this product in any manner. For example, do not weld external lock bars or attach electrical equipment. This may cause product damage or personal injury.
- Keep the product on level surfaces. The product may become unstable and tip if stored or moved on an uneven surface, which may cause personal injury or product damage.
- When the cover is open, be sure the cover stop is in the locked position. This will prevent accidental closure and personal injury.
- BE CAREFUL when closing the cover. Remove hands before the cover closes completely to prevent personal injury.
- Close the cover and lock the drawers before moving this product. The drawers could come open and make the product unstable and tip, which may cause personal injury or product damage.
- Remove the liner from the product, if necessary, before installing the product.
Otherwise, the product could slip, be damaged and cause injuries. - When locking the product, close the drawer for lock bars to work properly.
- IMPORTANT: Do not attach or mount this product to a vehicle. Mounting this product to any vehicle in any manner will void warranty.
TOOL CART 058-6553-2 PARTS LIST

The keys are taped to the top of the castor carton, which is placed in the top tray.
NOTE: Replacement keys may be ordered using the required code which appears on the face of the lock. Give this information for spare parts: part number, and quantity. Not all parts are covered under warranty. Those parts not covered can be purchased.


ASSEMBLY INSTRUCTIONS
- Remove all items from the box and ensure that all parts listed on the key parts diagram are present
- Inspect the product carefully to make sure no breakage or damage occurred during shipping.
- Do not discard the carton or any packaging material until all parts have been examined.
TOOLS REQUIRED FOR ASSEMBLY
- Cross-head screwdriver for cross-head screws.
- 12 mm wrench for M8 hex nuts.
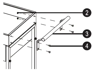
SIDE HANDLE ATTACHMENT
Position the cart handle (3) over the holes and attach with the M6 x 12 bolts (4) and the M6 hex flange nuts (2) Tighten securely.

CASTOR INSTALLATION
NOTE: You may require assistant of another person of this step.
Carefully lay down the cart. Position the two swivel castors with brakes (9) close to the handle side and screw into the legs.
Screw the two swivel castors without brakes (10) onto the other legs.
Tighten them securely with the wrench (15).

DRAWER REMOVAL
Empty the drawers. Pull the drawer out so it is almost fully extended. Push up on one side black release lever, while pushing down on the other side black release lever. While holding the levers in the positions as instructed above, pull the drawer outward until it is released from the drawer slides.

DRAWER REPLACEMENT
Extend the drawer slides from the tool chest. Insert the brackets on each side of the drawer into the slots in the slide and ensure that they are properly in position. Once properly inserted, completely close the drawer to set the slides in their proper positions.

GENERAL MAINTENANCE
- For castors, use high quality bearing grease (annually/yearly).
- Lubricate the slides (twice a year) with a spray lubricant or light-duty oil.
- The drawer fronts, drawer trims and other surfaces should be cleaned periodically with mild detergent and water.
- Grease and oil can be removed with most standard cleaning fluids.
1-year Warranty
This Mastercraft product is guaranteed for a period of cm (1)year from the data of original retail purchase against defects in materials and workmanship.
Subject to the conditions and limitations described below, this product, if returned to as with proof of purchase within the stated warranty period and if covered under this warranty, will be repaired or replaced (with the same model, or one of equal value or specification), at our option. We will bear the cost of any repair or replacement and any costs of labor relating Thereto.
This warranty is subject to the following conditions and limitations:
a) a bill of sale verifying the purchase and purchase date must be provided;
b) This warranty will not apply to any product or part thereof which is worn or broken or which has become inoperative due to abuse, misuse, accidental damage, neglect or lack of proper installation, operation or maintenance (as outlined in the applicable owner’s manual or operating instructions) or which is being used for industrial, professional, commercial or rental purposes;
c) this warranty will not apply to normal wear and tear or to expendable parts or accessories that may be supplied with the product which are expected to become inoperative or unusable after a reasonable period of use;
d) this warranty will not apply to routine maintenance and consumable items such as, but not limited to, fuel, lubricants, vacuum bags, blades, belts, sandpaper, bits, fluids, tone-ups or adjustments;
e) this warranty will not apply whore damage is caused by repairs made or attempted by others (i.e., persons not authorized by the manufacturer);
f) this warranty will not apply to any product that was sold to the original purchaser as a reconditioned or refurbished product (unless otherwise specified in witting);
g) This warranty will not apply to any product or part thereof if any part from another manufacturer is installed therein or any repairs or alterations have been made or attempted by unauthorized persons;
h) this warranty will not apply to normal deterioration of the exterior finish, such as, but not limited to, scratches, dents, paint chips, or to any corrosion or discoloring by heat, abrasive and chemical cleaners; and
i) This warranty will not apply to component pads sold by and identified as the product of another company, which shall be covered under the product manufacturer’s warranty, if any.
Additional Limitations
This warranty applies only to The original purchaser and may not be transferred. Neither the retailer nor the manufacturer shall be liable for any other expense, loss or damage, including, without limitation, any indirect, incidental, consequential or exemplary damages arising in connection with the sale, use or inability to use this product.
Notice to Consumer
This warranty gives you specific legal rights, and you may have other rights, which may vary from province to province. The provisions contained in this warranty are not intended to limit, modify, take away from, disclaim or exclude any statutory warranties set forth in any applicable provincial or federal legislation.
Made in china
Imported by
Mastercraft Canada
Toronto., ON, Canada M4S 2138



















