
MODEL: BV3001E (YT6217)
COBRA ELECTRIC LEAF BLOWER VAC
OWNER’S MANUAL


Cobra Garden Machinery
Henton and Chattel Ltd., London Road, Nottingham NG2 3HW UK
www.cobragarden.co.uk
WARNING For your own safety please read this manual before attempting to operate your new tool. Failure to follow instructions can result in serious personal injury. Spend a few moments to familiarize yourself with your garden tool before each use. Keep this manual in a safe place, so that the information is available at all times. If you give the equipment to any other person, hand over these operating instructions and safety regulations as well.
SYMBOLS MARKED ON THE PRODUCT
Read operator’s manual
Read the instruction manual before using the appliance.
Keep bystanders away.
Wear eye and ear protection.
Keep hands out of rotation fan.
Do not use this product in the rain or leave outdoors while it is raining.
CE Marking
The product meets demands and regulations set by the European Community
WEEE Marking
CAUTION! Unusable power tools do not belong to domestic waste. They must be taken to a communal collecting point for environmentally friendly disposal in accordance with local regulations.
Noise level marking
Your tool noise is not more than 100dB.
GENERAL SAFETY RULES
General Power Tool Safety Warnings
WARNING
Read all safety warnings and all instructions. Failure to follow the warnings and instructions may result in electric shock, fire, and/or serious injury. Save all warnings and instructions for future reference.
The term “power tool” in the warnings refers to your mains-operated (corded) power tool or battery-operated (cordless) power tool.
WORK AREA SAFETY
a )Keep work area clean and well lit. Cluttered or dark areas invite accidents.
b )Do not operate power tools in explosive atmospheres, such as in the presence of flammable liquids gases, or dust. Power tools create sparks that may ignite the dust or fumes
c )Keep children and bystanders away while operating a power tool. Distractions can cause you to lose control.
Set a safe working area.
PERSONAL SAFETY
a) Stay alert, watch what you are doing, and use common sense when operating a power tool. Do not use a power tool while you are tired or under the influence of drugs, alcohol, or medication. A moment of distraction while operating power tools may result in serious personal injury.
b) Use personal protective equipment. Always wear eye protection. Protective equipment such as dust masks, non-skid safety shoes, hard hats, or hearing protection used for appropriate conditions will reduce personal injuries.
c) Prevent unintentional starting. Ensure the switch is in the off-position before connecting to a power source and/or battery pack, picking up or carrying the tool. Carrying power tools with your finger on the switch or energizing power tools that have the switch on invites accidents.
d) Remove any adjusting key or wrench before turning the power tool on. A wrench or a key left attached to a rotating part of the power tool may result in personal injury.
e) Do not overreach. Keep proper footing and balance at all times. This enables better control of the power tool in unexpected situations.
f) Dress properly. Do not wear loose clothing or jewelry. Keep your hair, clothing, and gloves away from moving parts. Loose clothes, jewelry, or long hair can be caught in moving parts.
g) If devices are provided for the connection of dust extraction and collection facilities, ensure these are connected and properly used. The use of dust collection can reduce dust-related hazards.
POWER TOOL USE AND CARE
a) Do not force the power tool. Use the correct power tool for your application. The correct power tool will do the job better and safer at the rate at which it was designed.
b) Do not use the power tool if the switch does not turn it on and off. Any power tool that cannot be controlled with the switch is dangerous and must be repaired.
c) Disconnect the plug from the power source and/or the battery pack from the power tool before making any adjustments, changing accessories, or storing power tools. Such preventive safety measures reduce the risk of starting the power tool accidentally.
d) Store idle power tools out of the reach of children and do not allow persons unfamiliar with the power tool or these instructions to operate the power tool. Power tools are dangerous in the hands of untrained users.
e) Maintain power tools. Check for misalignment or binding of moving parts, breakage of parts, and any other condition that may affect the power tool’s operation. If damaged, have the power tool repaired before use. Many accidents are caused by poorly maintained power tools.
f) Keep cutting tools sharp and clean. Properly maintained cutting tools with sharp cutting edges are less likely to bind and are easier to control.
g) Use the power tool, accessories and tool bits, etc. in accordance with these instructions, taking into account the working conditions and the work to be performed. Use of the power tool for operations different from those intended could result in a hazardous situation.
SERVICE
Have your power tool serviced by a qualified repair person using only identical replacement parts. This will ensure that the safety of the power tool is maintained.
ADDITIONAL WARNINGS
- This tool is not intended for use by persons (including children) with reduced physical, sensory or mental capabilities, or lack of experience and knowledge unless they have been given supervision or instruction concerning the use of the appliance by a person responsible for their safety.
Children should be supervised to ensure that they do not play with the appliance. - When working with the machine, always hold it firmly with both hands and provide for a secure stance. The power tool is guided more securely with both hands.
- Always ensure all handles and guards are fitted when using the machine. Never attempt to use an incomplete machine or one fitted with an unauthorized modification.
- Wait until the machine has come to a standstill before placing it down.
ADDITIONAL SAFETY INSTRUCTIONS FOR LEAF BLOWERS
The intended use is described in this manual. The use of any accessory or attachment or performance of any
operation with this appliance other than those recommended in this instruction manual can present a risk of
personal injury and/or damage to property.
- To protect your feet and legs while operating the appliance, always wear heavy-duty footwear and long trousers.
- Always switch off your product, allow the fan to stop, and remove the plug from the socket:
- You leave your product unattended.
- Checking, adjusting, cleaning, or working on your product.
- If the appliance starts to vibrate abnormally.
- Do not place the inlet or outlet of the Blower near eyes or ears when operating. Never blow debris in the direction of bystanders.
- Do not use it in the rain or leave it outdoors while it is raining.
- Do not cross gravel paths or roads whilst your product is switched on during blow mode. Walk, never run.
- Do not place your unit down on gravel while it is switched on.
- Always be sure of your footing, particularly on slopes. Do not overreach and keep your balance at all times.
- Do not place any objects into the openings. Never use if the openings are blocked-keep free of hair, lint, dust, and anything that may reduce the airflow.
Warning! Always use your product in the manner outlined in this manual. Your product is designed to be used in an upright mode and if it is used in any other way it may result in injury, Never run your product whilst lying on its side or upside down. - The operator or user is responsible for accidents or hazards occurring to other people or their property.
- Do not use solvents or cleaning fluids to clean your product. Use a blunt scraper to remove debris and dirt.
- Keep all nuts bolts and screws tight to make sure that the appliance is in a safe working condition.
MAINTENANCE AND STORAGE
a) Keep all nuts, bolts, and screws tight to be sure the appliance is in safe working condition.
b) Replace worn or damaged parts.
c) Use only genuine replacement parts and accessories.
d) Store the machine in a dry place out of the reach of children.
e) When the machine is stopped for servicing, inspection, or storage, or to change an accessory, shut off the power source, disconnect the machine from the battery and make sure that all moving parts come to a complete stop. Allow the machine to cool before making any inspections, adjustments, etc. Maintain the machine with care and keep it clean.
f) Store the machine in a dry place out of the reach of children.
g) Always allow the machine to cool before storing.
h) Never attempt to override the interlocked feature of the guard.
PARTS DESCRIPTION

| 1 On/Off switch 2 Main handle 3 Power cord with plug 4 Cord retainer 5 Mode lever 6 Outlet nozzle 7 Collection bag 7a Connector 7b Hanging loop | 8 Hook 9 Guide roller 10 Lower tube set 11 Upper tube set 12 Front carrying handle 13 Harness hold clip 14 Carrying harness 15 Air vents |
TECHNICAL DATA
| Rated voltage: | 220-240V 50Hz |
| Rated input | 3000W |
| No-load speed | 15,000 /min |
| Weight: | 4.3kg |
| Air velocity | 145 mph |
| Air volume | 380 cfm |
| Collection bag | 35 I |
| Mulch ratio | 10:1 |
| Measured sound power level: | LPA = 86 dB(A) |
| Guaranteed sound power level: | LWA.d: 100 dB(A) |
| Weighted Vibration | <4.006 m/s2 Uncertainty K =1.5 m/s’ |
ASSEMBLY
Assembling the blower tube (Fig. 1, Fig. 2)
Carefully remove the product and any accessories from the box.
Warning! The leaf blower must not be used or switched on until it has been fully assembled.
This product requires assembly. Carefully remove the product and any accessories from the box. Inspect the product carefully to make sure no breakage or damage occurred during shipping. Do not discard the packing material until you have carefully inspected and satisfactorily operated the product.
NOTE: Take care of small parts that are removed during assembly or when making adjustments. Keep them secure to avoid loss.

- Align the lower tube (E & C) to the upper tube assembly (B). First, insert the lower tube (E&C) all the way to the stop. Use a flat-head screwdriver to secure the connection with 4 security screws, 2 on each side. ( Fig.1)
- Align the assembled tubes to the main unit(A) and insert them all the way to the stop. Use 1 security screw on the left side and 1 cross head screw on the right side to secure the connection (Fig 1 ).

- Insert the hanging loop of collection bag into a hook (Fig. 2).
Align the connector on the collection bag with the outlet nozzle, the pin of the outlet nozzle into the slot of the connector, and insert it all the way to the stop. Turn the connector counterclockwise until the pin of the outlet nozzle is locked in the ring of the connector.
Warning! Always use the product with its collection bag attached when operating it to protect yourself against
projected debris and to avoid injuries! Do not use this product with a damaged collection bag or without one at
all! Switch off the machine before attaching or removing the bag.
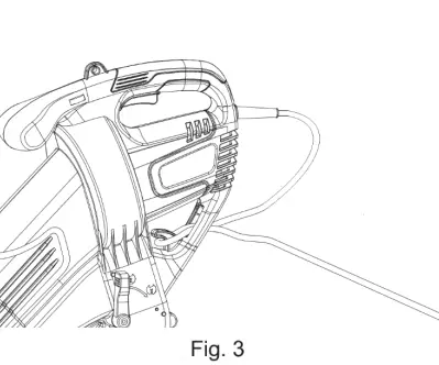
Connection to the power supply
- We recommend that this equipment is only connected to a socket that is protected by a circuit-breaker that would be actuated by a 30 mA residual current (RCD). Only use or replace power supply cables for this unit with the same type. DO not run over, crush or pull the power supply cable or extension cable, otherwise, it may be damaged. Protect the cable from heat, oil, and sharp edges. Use only extension cables suitable for outdoor use, preferably with a high visibility cord color with the following specification:
For extension cables up to 25 meters, use a wire cross-section of 1.5mm. For extension cables over 25 meters and less than 40 meters, use a wire cross-section of 2.5mm - Make sure the on/off switch (1) is in its off position.
Connect the plug with the extension cord socket. - Loop the cable through the hole on the rear safeguard and hook the loop over the cord retainer. Gently pull on the cord to ensure that it is firmly attached to the handle (Fig. 3).
- Connect the plug to the power supply.
- Your product is now ready to be used by switching on (1 ).
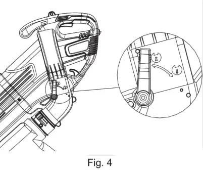
Operating mode selection
Warning!
Always turn the product off and let it come to a complete stop before changing the operating mode!
- Select the operating mode by moving the mode lever to the respective symbol.
- Move the lever to the up position to use the product like a vacuum (Fig. 4).


- Move the lever to the down position to use the product as a blower (fig. 5).
- Always ensure that the lever is adjusted in either end position. Do not use it in any other position.
Fitting the harness
The single harness is adjustable to suit the operator.
Please set the quick release mechanism to the required area by the operator (Fig. 6)
USING THE BLOWER VACUUM
- Check the product, its power cord, and plug as well as accessories for damage before each use. Do not use the product if it is damaged or shows wear.
- Double-check that accessories or application tools are properly fixed.
- Always hold the product on its handle(s)/gripping surface(s). Keep the handle(s)/gripping surface(s) dry and clean to ensure safe support.
- Ensure that the air vents are always unobstructed and clear. Clean them if necessary with a soft brush.
Blocked air vents may lead to overheating and damage to the product. - Switch the product off immediately if you are disturbed while working by other people entering the working area. Always let the product come to a complete stop before putting it down.
- Do not overwork yourself. Take regular breaks to ensure you can concentrate on the work and have full control over the product.
- Before switching the product on, check whether it has been assembled correctly and all the moving parts are running smoothly!
- While working, ensure that the product does not strike hard objects, as this can cause damage.
- Do not blow any solid bodies such as stones, branches or pieces of branch, fir tree cones, or similar.
- We recommend slightly dampening surfaces in dusty conditions. Use a suitable dust mask.
Operating Hours
Only operate the product at reasonable hours – not early in the morning, late at night. Check with your local authorities if there are any specific restrictions.
Switching On and Off
Before you start the machine, make sure that the collection bag is connected correctly and the shoulder strap ensures the correct posture.
- Press the on/off switch (1) to turn the product on.
- Release the on/off switch (1) to turn the product off.
Use the blower to blow garden waste such as leaves, grass, or twigs together into heaps. Be careful to not blow debris into bystanders or property nearby.
- Do not blow hard objects such as nails, bolts, or rocks.
- Do not operate the blower near bystanders or pets.
- Use a broom or rake to loosen up firm garden waste from the soil prior to blowing.
- Use extra care when cleaning debris from stairs or other tight areas.
- The motor continues to rotate for a short time after switching off. Wait before putting the tool down.
Wear safety goggles or other suitable eye protection, long trouser, and suitable footwear.
Blowing Function
- Before blowing, loosen leaves that are stuck to the ground using a broom or rake.
- Hold the tube approximately 10 cm above the ground and walk slowly forward using a sweeping motion from side to side.
- Direct the air stream away from yourself.
- Ensure that you do not stir up any heavy objects and hurt somebody or damage something.
Vacuum Function
1. Push the product in front of you. The guide rollers make it easy to guide the tube along the ground.
2. The leaves will be sucked up into the tube and thrown into the collection bag.
3. Make sure the volume of leaves sucked in at one time is not too large. This will avoid clogging the tube and blocking the impeller wheel.
Collection Bag
- Always operate the product with the collection bag attached.
- Inspect the collection bag each time before use. Do not use it if you detect any damage.
- Empty frequently during use. Do not wait until the collection bag is completely full. We recommend emptying it when it is half full.
Note: A full collection bag reduces the performance of this product. - Switch the product off and disconnect it from the power supply.
- Open the collection bag by its zipper and empty the clippings onto a compost heap.
- Close the zipper before continuing operation.
MAINTENANCE
Disconnect from the power supply before completing any cleaning or maintenance.
- Store the tool, instruction manual, and accessories in a secure, dry place.
- Keep the tool’s air vents unclogged and clean at all times.
- Remove dust and dirt regularly. Cleaning is best done with a rag or brush.
- Never use caustic agents to clean plastic parts.
- Check the machine for damage or signs of wear. If the tool starts to vibrate abnormally, immediately stop and consult your service center for repairs.
Caution: Do not use cleaning agents to clean the plastic parts of the tool. A mild detergent on a damp cloth is recommended. Keep water away from the blower.
TROUBLESHOOTING
| Problem | Possible cause | Fault correction |
| The device does not start | Not connected to the power supply | Connect to the plug the socket. Use an RCD-protected socket. |
| The power cord or plug is defective | Contact your Cobra service center | |
| Defective electrical component | ||
| The device does not reach full power | Unsuitable extension cable | Use an extension cable to the correct specification. |
| Vacuum function reduced | Clear the air vents. Check and empty the bag for the vacuum. | |
| Air vents are blocked |
WARRANTY
This product is warranted in accordance with legal regulations for a 24 month period effective from the date of purchase by the first user.
This product will not be covered if used in a commercial application.
This warranty covers all material or production failures, it does not include: defects from normal wear and tear, parts such as bearings, brushes, cables, air cleaning elements, brake pad, clutch disc, tire, wheel, recoil starter rope, belts, cutter blades, plugs, lubricant oils, and grease or accessories. Damage or defects resulting from abuse, accidents or alterations, natural fading of painted or plated surfaces, sheet peeling, and other natural deterioration.
Any damage that occurs from the use of non-genuine Cobra parts will not be covered.
We reserve the right to reject any claim where the purchase cannot be verified or when it is clear that the product was not maintained properly. (Clean ventilation slots, carbon brushes and serviced regularly)
Expenses incidental to the warranty claim that is not covered;
-Compensation for loss of time, commercial loss, or rental costs of a substitute product.
-Costs incurred for transportation to and from the dealership.
Any damage that occurs from the following will not be covered; exposure of the product to smoke and soot, chemical agents, bird droppings or other animal waste, seawater, sea breeze, salt, or other environmental phenomena.
Any damage resulting from operating methods other than those indicated in the owner’s manual will not be covered.
Your purchase receipt must be kept as proof of date of purchase. Your un-dismantled product must be returned to your dealer in an acceptably clean state, accompanied by your proof of purchase.
Please Register Your Product:
Please take a few minutes and register your purchase with Cobra.
You can register by going online to: www.cobragarden.co.uk and clicking on Product Registration.
ENVIRONMENTALLY FRIENDLY DISPOSAL
According to EU directive 2012/19/EU on electric and electronic equipment and its implementation into national law, all-electric tools must be separately collected and environmentally friendly recycled. Alternative disposal: If the owner of the power tool does not return the tool to the manufacturer, he is responsible for proper disposal at a designated collection point that prepares the device for recycling according to national recycling laws and regulations.
This does not include accessories and tools without electric or electronic components.
EC Declaration of Conformity | |
| We herewith declare. | Cobra Garden Machinery. Henton & Chattel! Ltd. London Road. Nottingham NG2 3HW UK |
| That the following machine complies with the appropriate basic safety and health requirements of the EC Directive based on its design and type, as brought into circulation by us. | |
| In case of alteration of the machine, not agreed upon by us. this declaration will lose its validity | |
| Machine Description: | Electric Leaf Blower Vacuum |
| Machine Type: | BV3001E (YT6217) |
| Rated voltage/power | 220-240V 501-lz / 3000W |
| Measured sound power level: | 99.3 dB(A) |
| Guaranteed sound power level: | 100dB(A) Notified Body for EC Directive 2000/14/EC:0036 TUV Rheinland LGA Products GmbH TillystraBe 2 90431 Nurnberg Germany |
| Applicable EC Directives | EC Machinery Directive:2006/42/EC EC Directive of Electromagnetic Compatibility: 2014/30/EU EC Directive of noise emission: 2000/14/EC Rol-ls Directive 2011/65/EU |
| Applicable Harmonized Standards | EN 60335-1 EN 50636-2-100 EN 62233 EN ISO 12100 EN 550141 EN 55014-2 EN IEC 61000-3-2 EN 61000-3-3 |
| Authorized Signature/Date | ![]() Peter J. Chaloner 12/072021 |
| Title of Signatory | Managing Director |
| Name and address of the person authorized to compile the technical file | Cobra Garden Machinery. Henton & Chattell Ltd. London Road. Nottingham NG2 3HW UK |

For extension cables up to 25 meters, use a wire cross-section of 1.5mm. For extension cables over 25 meters and less than 40 meters, use a wire cross-section of 2.5mm

USING THE BLOWER VACUUM














