Roco H0 Steamlocomotive Class Oi2-10 PKP

Unwrap model
Take the loco carefully out of the packing with the help of the foil (fig. 1).
Very important!
Before taking into service your model these bearings of the coupling rods must be oiled as otherwise there would be the risk of bad running qualities of damage to the locomotive (see fig. 8).
Operating instructions
Before use is advisable to let the loco go around about 30 minutes for-wards 30 minutes backward without load, to obtain an optimal circuit and best tractive power. The smallest radius this model should run is R3 (419,6 mm) or rather R2 (358 mm) of the ROCO track system (model without tubes protection pis-tons would run only if driven very carefully on R2) (fig. 2). 
Your locomotive will run smoothly on clean tracks only. For this purpose, we recommend using item no. 46400, ROCO track cleaning van, or item no. 10002, ROCO track cleaning rubber, for removing heavy dirt.
Fittings:
Operation is possible with different couplings (fig. 3). We recommend using the ROCO close coupling.
In the enclosed accessory bag you will find small kits to be fitted on your locomotive. Please mount them cautiously. Attention! Use glue only if indicated (fig. 3).
Running in digital mode
First, remove the Tender body (fig. 7). Then remove the jumper from the interface. Finally, put the plug of the chip into the interface as shown in fig. 5.
Maintenance of the model
To enjoy your model for a long time, it is necessary to service it regularly (i.e. after it has been in operation for approximately 30 hours). Uncouple locomotive and tender first (fig. 4).
Cleaning of wheel contacts:
Wheel contacts easily get dirty on tracks that are not entirely clean. Use a small brush to remove dirt from spots marked in fig. 9.
Lubrication:
Apply tiny oil drops to spots marked in fig. 8. Prior to lubrication dismantle the loco body or the tender body (fig. 7). We recommend using item no. 10906, Roco oiler. For lubrication of the gear parts (e.g. cogwheels, worm) we would recommend our Roco special grease (item no. 10905).
Attention:
Please do not oil these parts when using our grease.
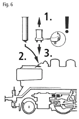
Steam generator application (fig. 6):
First, remove the smokestack and then push in the Seuthe steam generator no. 10 (running in digital mode: use no.11).
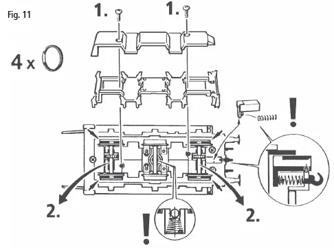
Change of traction tyre:
Remove the tender gear cover. Take out the wheelset and remove the traction tire using a pin or a fine screwdriver (fig. 11). When pressing on the new traction tire please avoid twisting it.
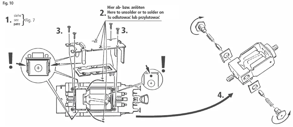
Carbon Brush Changing:
First, remove the tender body (fig. 7), and then the motor (fig. 10).
Assembly
During assembly please take care of the correct position of contacts.
More information about the sound decoder can be found here.




















