
SAFETY & WARNINGS
Warning:
Read all safety warnings and all instructions. Failure to follow the warnings and instructions listed below may result in electric shock, fire and/or serious injury.
Warning:
When using electrical appliances, basics safety precautions, including the following, should always be followed to reduce the risk of fire, electric shock, personal injury and material damage.
- Read all this user guide carefully before using the appliance.
- The intended use is described in this user guide. The use of any accessory or attachment or the performance of any operation with this appliance other than those recommended in this user guide may present a risk of personal injury.
- Retain this user guide for future reference.
Using the steam mop
- Do not direct steam at people, animals, electrical appliances or electrical outlets.
- Do not expose to rain.
- Do not immerse the appliance in the water.
- Do not leave the appliance unattended. Keep children away from unit while in use.
- Do not leave the appliance connected to an electrical outlet when not in use.
- Never pull the power cord to disconnect the appliance from the socket. Keep the appliance cord away from heat, oil and sharp edges.
- Do not handle steam cleaner with wet hands.
- Do not pull or carry by cord, use cord as a handle, close door on cord, pull cord around sharp corners or expose cord to heated surfaces.
- Do not use appliance in an enclosed space filled with vapor given off by oil-based paint thinner, some moth-proofing substances, flammable dust or other explosive or toxic vapours.
- Do not use on leather, wax polished furniture or floors, synthetic fabrics, velvet or other delicate, steam-sensitive materials.
- Do not use on any unsealed hard floor surfaces. Additionally, on surfaces that have been treated with wax or some no-wax floors, the sheen may be removed by the heat and steam action. It is always recommended to test an isolated area of the surface to be cleaned before proceeding. We also recommend that you check the use and care instructions from the floor manufacturer.
- Never put de-scaling, aromatic, alcoholic or detergent products into the steam mop, as this may damage it or make it unsafe for use.
- If the circuit breaker activates while using the steam function, discontinue product use immediately and contact help.kogan.com before further use. Beware of the risk of electrical shock.
- The appliance emits very hot steam to sanitise the area of use, and the steam head and cleaning pads get very hot during use.
- Caution: Always wear suitable shoes when using your steam mop and when changing the accessories on your steam mop. Do not wear slippers or open-toed footwear.
- The lid may become hot during use.
- Care should be taken when using this appliance. DO NOT touch any parts which may become hot during use.
- Do not use if micro-fibre cleaning pad are not correctly fitted.
Safety of others:
- This appliance is not intended for use by persons (including children) with reduced physical, sensory or mental capabilities or lack of experience and knowledge, unless they have been given supervision or instruction concerning the use of the appliances by a person responsible for their safety.
- Children should be supervised to ensure that they do not play with the appliance.
Residual risks:
Additional residual risks may arise when using the tool which may not be included in the enclosed safety warnings. These risks can arise from misuse, prolonged use, etc.
Even with the application of the relevant safety regulations and the implementation of safety devices, certain residual risks cannot be avoided. These include:
- Injuries caused by touching any moving parts.
- Injuries caused by touching any hot parts.
- Injuries caused when changing any parts or accessories.
- Injuries caused by prolonged use of the appliance. When using any appliance for prolonged periods ensure you take regular breaks.
WARNING — KEEP BATTERIES OUT OF REACH OF CHILDREN
- Swallowing may lead to serious injury or death in as little as 2 hours, due to chemical burns and potential perforation of the oesophagus.
- If you suspect your child has swallowed or inserted a button battery immediately call the 24-hour Poisons Information Centre on 13 11 26 (Australia) or 0800 764 766 (New Zealand) for fast, expert advice.
- Examine devices and make sure the battery compartment Is correctly secured, e.g. that the screw or other mechanical fastener is tightened. Do not use if compartment is not secure.
- Dispose of used button batteries immediately and safely. Flat batteries can still be dangerous.
- Tell others about the risk associated with button batteries and how to keep their children safe.
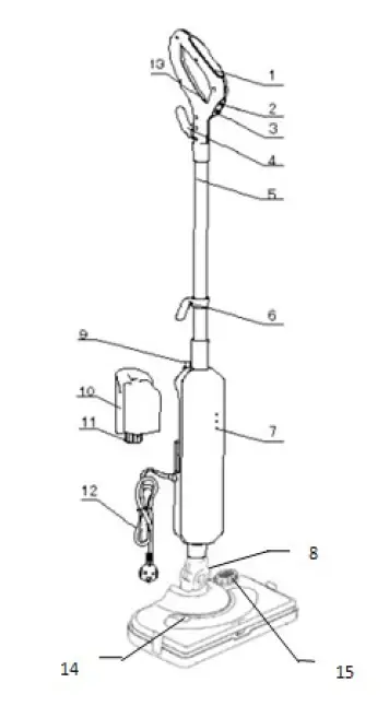
COMPONENTS 
- Main body
- Handle tube
- Handle
- Mop head
- Microfibre pad
- Carpet glider
- Measuring cup

- Handle
- Steam button
- On/off Switch
- Cord storage
- Handle tube
- Cord storage
- LED light
- Mop head spindle
- Water tank button
- Water tank
- Water tank cap
- Power cord
- Button battery installation position
- Detergent tank
- Detergent spray pedal
ASSEMBLY
Note:
Each steam mop is tested prior to sale to ensure product performance and safety. When assembling your new steam mop for the first time you may notice water residue inside of the unit. This is normal.
Attaching the handle
- Slide the handle (C) into the handle tube (B) until it clicks into place (1a).
- Slide the handle tube (B) with handle installed to the main body (A), until it clicks into place (1b).
- Push the button to remove the handle tube for easy storage (1c).
WARNING: Don’t pull hard spring during assembly.
Attaching the steam head
- Slide the bottom end of main body onto the steam head until Steam Head Spindle clicks into place (2a).
- The steam head can be removed from the Main body by pressing salient point on the Steam head Spindle (2b.)

Attaching a cleaning pad
- Microfibre cleaning pad (E) is to be placed at the bottom of steam head (3a).
- To remove the pad, place the front of your shoe onto the cleaning pad removal tab and press down firmly.

Attaching Carpet Gilder
- Ensure microfibre cleaning pad is fitted before the carpet glider.
- Attach carpet gilder by clipping into place on the steam head and applying vertical pressure, until it clicks into place (4a).
- To remove the carpet glider, place the front of your shoe onto the cleaning pad removal tab and press down firmly, the carpet gilder will remove from steam head.
FILLING THE WATER TANK
Method one
Open the water tank cap, use the measuring cup to fill with 420mL of water, then close the water tank cap.
Method two
Remove the water tank from main body, open the water tank cap, and fill the water tank from water faucet. When done, replace the water tank cap, then install the water tank into main body until it clicks into place.
OPERATION
- Install the button battery into the handle battery compartment.

- Plug in the appliance to a grounded wall outlet.
- Press the power switch. The indicator lights will turn red, indicating preheating. If the lights do not turn on, please check the Troubleshooting section at the back of this user guide for more details.
- The appliance warm-up time is 25 seconds. When preheating is complete, the indicator light will turn to be blue, and the appliance will be ready for use.
Notes:
If a power failure occurs in the middle of the warm-up, or power-off occurs after the warm-up is complete, turn the power supply on again. Depending on the time between power off and on, the appliance may repeat the above warm-up operation.
- Continuous steam output (up to 5 minutes continuously working, the steam averaged): about 16-26g / min.
- Steam output time: About 10-20 minutes.
CLEANING & CARE
WARNING:
Do not immerse the appliance in water. Ensure that the product is powered off and unplugged before cleaning the appliance. Empty the water tank after use every time and clean the water tank.
How to decalcify the water tank interior
To clean calcium deposits that builds up inside the water tank, add one or two tablespoons of white vinegar to water tank and then shake the contents. Let it sit for several hours, then pour away the solution and rinse with clean water.
Cleaning procedure to remove scale. If your steam mop outputs steam more slowly than usual, or no steam, you may need to remove lime scale. Lime scale can develop over time on the metal parts and greatly affect steam mop performance. It is necessary to remove lime scale on regular basis every 25-50 times you use a full tank of water, or at least once a month, especially in areas with hard water. The frequency of lime scale removal depends upon the hardness of you tap water and how often you use the steam mop.
By using cleaning solution
- Prepare a solution of 1/3 white vinegar and 2/3 tap water and add to the water tank.
- Secure and position the unit to ensure steam released is aimed away from the floor or surrounding objects and surface. Plug the unit in, turn the unit ON by pressing the power switch and allow the unit to produce steam unit he negar/water solution in used up.
- Repeat the above procedure as many times as necessary unit a normal steam flow rate is achieved.
- Fill the water tank with fresh water and rinse ours.
- Fill the water tank with fresh water, attach to the unit and releasee steam through the system unit the water tank is empty.
WARNING: Don’t leave the appliance during the lime scale removal process and/or while in use
Notice:
Perform a test cleaning on a suitable isolated area after each lime scale removal to ensure that there is no debris left in the system.This product contains no serviceable parts. Do not try to repair it by yourself. Any servicing that requires disassembly other than cleaning must be performed by a qualified appliance repair technician. All servicing should be done by an authorised service representative.
Cleaning Microfiber Pad
- Machine washable on “warm” setting. Always use a mild detergent.
- For best care results, lay flat to dry.
- Important: Allow the steamer to fully cool down before performing any maintenance or troubleshooting checks.
- Important: Never use bleach or fabric softener when washing the microfiber cleaning pad.
Storage
- After the steamer is used, turn power off and then unplug the power cord.
- Take out the water tank and empty the residual water in the tank and clean the external surface with a dry cloth. Until the steam mop cools down, clean appliances.
- Remove the cleaning pad and wash it so that it will be ready for next use.
- Store product in a protected, dry area. Keep water funnel and measuring cup for future use.
- Keep out of reach of children.
Notes:
After cleaning, take out the water tank before cutting off the power and then let the product work for a while, until there is no steam. It can make pipe without water, good to store.
SPECIFCATIONS 
TROUBLESHOOTING
Use troubleshooting guide as a first step to resolve any problems you may be experiencing. If further assistance is required, contact help.kogan.com for support.
WARNING: To reduce risk of personal injury, unplug the steamer before servicing and allow to cool.
Disposal
This marking indicates that this appliance should not be disposed with other household wastes. To prevent possible harm to the environment or human health from uncontrolled waste disposal, recycle it responsibly to promote the sustainable reuse of material resources.
Need more information?
We hope that this user guide has given you the assistance needed for a simple set-up. For the most up-to-date guide for your product, as well as any additional assistance you may require, head online to help.kogan.com

























