kogan KAMOPSTM03U 3-In-1 UV Steam Mop

SAFETY & WARNINGS
Warning: Read all safety warnings and all instructions. Failure to follow the warnings and instructions listed below may result in electric shock, fire and/or serious injury.
Warning: When using electrical appliances, basics safety precautions, including the following, should always be followed to reduce the risk of fire, electric shock, personal injury and material damage.
- Read this user guide carefully before using the appliance and retain it for future reference.
- The intended use is described in this guide. The use of any accessory or
attachment or the performance of any operation with this appliance other than those recommended in this guide may present a risk of personal injury.
Using your appliance
- Do not direct steam at people, animals, electrical appliances or electrical outlets.
- Do not immerse the appliance in water or other liquids.
- Do not leave the appliance unattended. Ensure children are supervised during operation. Do not leave the appliance connected to an electrical outlet when not in use.
- Never pull the power cord to disconnect the appliance from the outlet. Keep the power cord away from sources of heat, oil and sharp edges.
- Do not handle the steam mop with wet hands.
- Do not pull or carry by cord, use cord as a handle, close door on cord, pull cord around sharp corners or expose cord to heated surfaces.
- Do not use appliance in an enclosed space filled with vapor given off by oil-based paint thinner, some moth-proofing substances, flammable dust or other explosive or toxic vapours.
- Do not use on leather, wax polished furniture or floors, synthetic fabrics, velvet or other delicate, steam-sensitive materials.
- Do not use on any unsealed hard floor surfaces. Additionally, on surfaces that have been treated with wax, the sheen may be removed by the heat and steam action. It is always recommended to test an isolated area of the surface to be cleaned before proceeding. We also recommend that you check the use and care instructions from the floor manufacturer.
Never put de-scaling, aromatic, alcoholic or detergent products into the steam mop, as this may damage it or make it unsafe for use. - If the circuit breaker activates while using the steam function, cease use immediately and contact help.Kogan.com for support (beware of the riskof electrical shock).
- The appliance emits extremely hot steam to sanitize the area of use. This means that the steam head and cleaning pads get extremely hot during use.
- Always wear suitable shoes when using your steam mop and when changing the accessories. Do not wear slippers or open-toed footwear.
- The lid may become hot during use.
- Care should be taken when using this appliance. Do not touch any parts which may become hot during use.
- Do not use when micro-fibre cleaning pad does not install correct.
Safety of other:
- This appliance can be used by persons with reduced physical, sensory or mental capabilities or lack of experience and knowledge if they have been given supervision or instruction concerning use of the appliance in a safe way and understand the hazards involved. Children shall not play with the appliance.
- If the power cord is damaged, cease use immediately and contact help.Kogan.com for support (beware of the risk of electrical shock).
Warning: Danger of scalding
- The plug must be removed from the power outlet before cleaning or performin any maintaining on the appliance.
- The steam must not be directed towards equipment containing electrical components, such as the interior of ovens.
- The appliance has to be unplugged after use.
- The appliance should be used only after assembling. The appliance should not be used without handle.
- The appliance shall not be left unattended while it is connected to the supply mains.
- The appliance is not to be used if it has been dropped, or if there are visible signs of damage or if it is leaking.
Residual risks:
Additional residual risks may arise when using the appliance which may not be included in the enclosed safety warnings. These risks can arise from misuse, prolonged use, etc.
Even with the application of the relevant safety regulations and the implementation of safety devices, certain residual risks cannot be avoided. These include:
- Injuries caused by touching any moving parts.
- Injuries caused by touching any hot parts.
- Injuries caused when changing any parts or accessories.
- Injuries caused by prolonged use of the appliance. When using any appliance for prolonged periods ensure you should take regular breaks.
COMPONENTS



A Handle
B Handle Tube
C Steamer Unit
D UV Lamp
E Steam Mop Head
F Microfibre Pad
G Carpet Glider
H Measuring Cup
OVERVIEW

- Handle
- Cord wrap brackets
- Cord clip
- Upper and lower tubes
- Water tank
- Filter cartridge
- Control panel
- Power cord
- Mop head spindle
- UV lamp attachment
- UV power switch
ASSEMBLY
Notes:
Each steam mop is 100% tested in the factory to ensure product performance and safety. When assembling your new steam mop for the first time you may notice water residue inside of the unit.
Ensure the appliance is switched off during assembly. Do not fill with water until assembly complete.
Step 1: Attaching the handle
Insert the handle (A) into the handle tube (B), then attach the handle tube to the steamer unit (C). Both will “click” into place to confirm they are attached securely.
Press the release buttons to remove both the handle tube from the steamer unit, or the handle from the handle tube (Figure 1b).
Step 2: Attaching the steam head
Slide the bottom end of the Steamer Unit (C) onto the Steam Mop Head (E) until Mop Head Spindle (9) clicks into place.
To remove the Steam Mop Head from the Steamer Unit, press the salient point on the Mop Head Spindle (Figure 2b).
Step 3: Attaching the microfibre pad and carpet glider
Because of barb design at the bottom of the Steam Mop Head (E), just place a microfibre cleaning pad (F) onto the head and they will bond and be ready for use. To remove the microfibre pad, place the front of your shoe onto the cleaning pad removal tab and press down firmly
To attach the Carpet Glider (G), place the steam mop head over it and press down firmly.
UV LAMP
Inserting batteries
Insert 4x “AAA” batteries (not included), paying close attention to the polarity markings(+/-) while inserting into the battery compartment (1). Replace the cover plate when done (2).
Attaching the UV Lamp
With the Steam Mop Head (E) held level, place the UV Lamp attachment into the mop’s clamp groove. It will “click” into place to confirm when securely attached (3).
To detach the UV Lamp, pull the release latch back (4), then upwards to release.
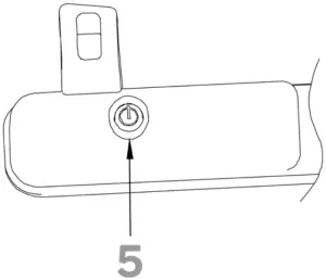
Switching on
Press the power button (5) on/off – the LED lights will activate when on. When in use, the steam mop head must make contact with the floor, enabling the dots of the UV Lamp can make contact for proper effect.
FILLING THE WATER TANK
Filling with measuring cup
Open the water tank cap, use the measuring cup to fill with 370ml of water, then close the water tank cap.
Filling at tap
Remove the water tank from main body, open the water tank cap, and fill the water tank from water faucet.
When done, replace the water tank cap, then install the water tank into main body until it clicks into place.
OPERATION
- Plug in the appliance to a grounded power outlet.
- Press the power switch at the Control Panel (7). The indicator lights will turn red, indicating preheating. If the lights do not turn on, please check the Troubleshooting section at the back of this user guide for more details.
- The appliance warm-up time is 30 seconds. When preheating is complete, the indicator light will turn to be blue, and the appliance will be ready for use.
Notes:
If a power failure occurs in the middle of the warm-up, or power-off occurs after the warm-up is complete, turn the power supply on again. Depending on the time between power off and on, the appliance may repeat the above warm-up operation.
During operation, the steam mop head has features a wide, rotary angle, can clean corners, and can also be angled to access low spaces (as per below image).
CLEANING & CARE
| WARNING: Do not immerse the appliance in water. |
Ensure that the product is powered off and unplugged before cleaning the appliance. Empty the water tank after use every time and clean the water tank.
How to decalcify the water tank interior
To clean the calcium deposits that build up inside the water tank, add one or two tablespoons of white vinegar to water tank and then shake the contents. Let it sit for several hours, then pour away the solution and rinse with clean water. DO NOT TURN THE STEAMER ON with the solution inside.
Cleaning procedure to remove lime scale
If your steam mop outputs steam more slowly than usual, or no steam, you may need to remove lime scale. Lime scale can develop over time on the metal parts and greatly affect steam mop performance.
It is necessary to remove lime scale on regular basis every 25-50 times you use a full tank of water, or at least once a month, especially in areas with hard water.
The frequency of lime scale removal depends upon the hardness of you tap water and how often you use the steam mop.
Limescale cleaning solution:
- Prepare a solution of 1/3 white vinegar and 2/3 tap water and add to the water tank.
- Secure and position the unit to ensure steam released is aimed away from the floor or surrounding objects and surface. Plug the unit in, turn the unit ON by pressing the power switch and allow the unit to produce steam unit the vinegar/water solution in used up.
- Repeat the above procedure as many times as necessary unit a normal steam flow rate is achieved.
- Fill the water tank with fresh water and rinse out
- Fill the water tank with fresh water, attach to the unit and releasee steam through the system unit the water tank is empty.
| WARNING: Don’t leave the appliance unattended during the lime scale removal process and/or while in use. |
Notice:
Perform a test cleaning on a suitable isolated area after each lime scale removal to ensure that there is no debris left in the system.
This product contains no serviceable parts. Do not try to repair it by yourself. Any servicing that requires disassembly other than cleaning must be performed by a qualified appliance repair technician.
All servicing should be performed by an authorised service representative of kogan.com – contact help.kogan.com for support assistance.
Cleaning Microfibre Pad
- Machine washable on Warm setting. Always use a mild detergent.
- For best care results, lay flat to dry.
- IMPORTANT: Allow the steamer to fully cool down before performing any maintenance or troubleshooting checks.
- IMPORTANT: Never use bleach or fabric softener when washing the microfibre cleaning pad.
Storage
- After the steamer is used, turn power off and then unplug the power cord.
- Take out the water tank and empty the residual water in the tank and clean the external surface with a dry cloth. Until the steam mop cools down, clean appliances.
- Remove the cleaning pad and wash it so that it will be ready for next use.
- Store product in a protected, dry area. Keep water funnel and measuring cup for future use.
- Keep out of reach of children.
Notes:
After cleaning, remove the water tank before cutting off the power and then let the product work for a while until there is no steam. It will then be good ta store.
TROUBLESHOOTING
Use troubleshooting guide as a first step to resolve any problems you may be experiencing. Contact help.kogan.com iffurther assistance is required.
| WARNING: To reduce risk of personal injury-unplug steamer before servicing and allow to cool. |
| Problem | Possible reason | Possible solution |
| Reduced steam or no steam | Water tank may be empty | Fill water into the water tank |
| Steam nozzle may be blocked | Clean steam nozzle | |
| There is no power to the unit | Make sure unit is plugged in | |
| Did not press steam button | Press steam button | |
| Unit will not turn on | Blown fuse or breaker | Replace fuse or reset breaker in home |
| Power cord not plugged in | Plug cord into a working circuit | |
| Internal fuse is blown | Contact help.kogan.com for further assistance |
Disposal
![]() | This marking indicates that this appliance should not be disposed with other household wastes. To prevent possible harm to the environment or human health from uncontrolled waste disposal, recycle it responsibly to promote the sustainable reuse of material resources. |
SPECIFICATIONS
| Rated voltage | 230V |
| Rated frequency | 50Hz |
| Output power | 1500W (+5%,-10%) |
| UV Lamp batteries | AAA (x4) (not included) |
| Water tank capacity | 370ml |
| Steam output time | 12 minutes |
| Continuous steam output | Up to 5 minutes (Average 26g/min) |
| Waterproof level | IPX4 |
Need more information?
We hope that this user guide has given you the assistance needed for a simple set-up.
For the most up-to-date guide for your product, as well as any additional assistance you may require, head online to help.kogan.com





















