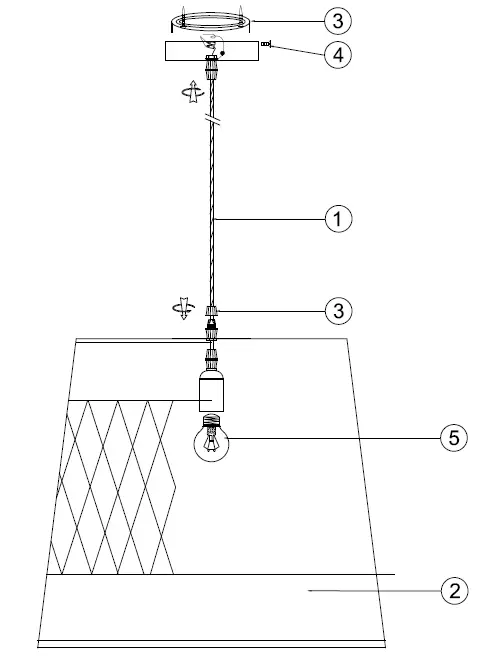
Home » Blog » Elegl024d55nc Ele Light And Decor Installation Guide Elegl024d55nc Ele Light And Decor Installation Guide Contents hide1 ELEGL024D55NC ELE Light and Decor2 MODEL3 OVERVIEW4 INSTALLATION INSTRUCTIONS5 Documents / ResourcesELEGL024D55NC ELE Light and DecorMODELGL025D45OVERVIEWINSTALLATION INSTRUCTIONS Documents / Resouces Download manual Here you can download full pdf version of manual, it may contain additional safety instructions, warranty information, FCC rules, etc. To access the pdf donwload links, solve the captcha. Related Manuals Ele Light And Decor Gl0027d40 Light Installation Guide Ele Light And Decor Elegl0011d38 Lighting Home Décor Outdoor Furniture Installation Guide Ele Light Decor Gl0016d40 Ele Geometric Pendant Light Installation Guide Ele Light And Decor Gl0021d65 Bell Pendant Light Installation Guide Ele Light Decor Gl0010d40 Ele Long Pendant Light Installation Guide Homedepot Ele-gl0013d28 Ele Light And Decor Nora 1-light Tan Pendant Light Installation Guide Ele Gl0018d50 Pendant Light Installation Guide Ele Light And Decor Elegl0018d53 Bamboo And Rattan Dome Pendant Light Installation Guide Elco 480003 Ellen 230v Ceiling Light Installation Guide Havit Lighting Hv3642 Lisse + Essil Wall Light Installation Guide Elsner Sewi Knx Aqs L-or Light Installation Guide Elco Lighting Ert81dxct5w 8 Inch 120-277-347v Ultra Slim Led Round Panel Light Instructions Esl Vision Wall Pack Series Wall Light Installation Guide Steinel L 20 S Outdoor Wall Light Installation Guide Ledone Loc-elhb Mw Series Led Light Installation Guide Ele Light And Decor Elegl0014d33 1-light Woven Globe Beige Pendant Design Pendant Light Installation Guide Havit Hv3647t Essil Wall Light Installation Guide Elco Lighting Ert311ct5w 3 Inch Ultra Slim Led Round Panel Light Instructions Elegant 3503f26l2bk Monroe Crystal Black Led 26 Flush Lighting Installation Guide Uolfin Eequjb-lws2875w-w8 1 Light Outdoor Wall Light Installation Guide