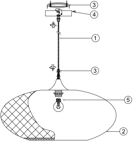
Installation Guide
GL0018D53




1*E26 Max-60W 1*E26 Max-60W




1*E26 Max-60W 1*E26 Max-60W
Download manual
Here you can download full pdf version of manual, it may contain additional safety instructions, warranty information, FCC rules, etc.