nVent HOFFMAN CS480 Straight Coupling
Product Information
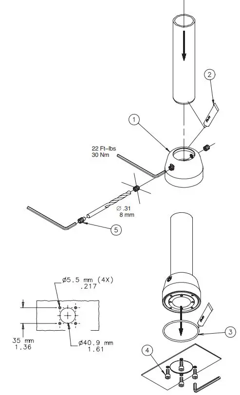
- Product Name: CS480 Straight Coupling
- Model Number: 87569883
- Package Contents: 1x CS480 Straight Coupling, 1x Set Screw (item 5), 4x Unspecified Items
- Caution: To avoid personal injury and/or product damage, an alternate set screw (item 5) is required when the enclosure is mounted below the joint fitting.
- Torque: 22 Ft-lbs (30 Nm)
- Diameter: 0.318 mm
Product Usage Instructions
- Step 1: Ensure that you have the CS480 Straight Coupling and the necessary components.
- Step 2: If you are planning to mount the enclosure below the joint fitting, make sure to use the alternate set screw (item 5) provided.
- Step 3: Carefully align the CS480 Straight Coupling with the joint fitting or the enclosure.
- Step 4: Use the provided set screw (item 5) to secure the coupling in place. Tighten the set screw using a torque of 22 Ft-lbs (30 Nm).
- Step 5: Repeat steps 3 and 4 for any additional couplings or fittings that need to be connected.
Note: It is essential to follow the caution mentioned in the user manual regarding mounting the enclosure below the joint fitting to prevent personal injury or product damage.
Parts

CAUTION
- To avoid personal injury and/or product damage, alternate set screw (item 5) is required when enclosure is mounted below joint fitting.
Installation Instructions

Contact
PH: 763 422 2211 87569883
nVent.com/HOFFMA
© 2018 Hoffman Enclosures Inc.











