nVent HOFFMAN CS480 Coupling Sleeve

Product Information
- Product Name: 87569897
- Revision: B
Product Usage Instructions
Mounting Combinations:
- Vertical Mounting (Vertikale Montage): Mount the product vertically using the provided vertical support (item 1x).
- Horizontal Mounting (Horizontal Montage): Mount the product horizontally using the provided horizontal support (item 1x).
Alternate Set Screw:
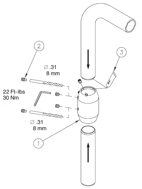
To avoid personal injury and/or product damage, it is important to use the alternate set screw (item 3) when mounting the enclosure below a joint fitting.
Whats’s In The Box

CAUTION
To avoid personal injury and/or product damage, an alternate set screw (item 3) is required when the enclosure is mounted below the joint fitting.
Mounting Instruction
Mounting Combinations

Vertical Mounting

Horizontal Mounting

© 2018 Hoffman Enclosures Inc.
PH 763 422 2211 • nVent.com/HOFFMAN.









