Armacost 213110 Dot Dimmable Under Cabinet LED Puck Light

Product Information
The Dot LED Puck Lights are a set of LED lights that require a 12-volt DC power supply. Each light consumes approximately 1.5 watts of power and has a light output of around 95 lumens. The lights are made of aluminum and are intended for use in dry locations only. The product comes with a 3-year limited warranty and requires proof of purchase for returns.
Product Usage Instructions
Before installing the Dot LED Puck Lights, ensure that the power supply is rated adequately based on the number of installed lights. The lights are for use only with low voltage 12-volt DC power source. Do not connect them to 120V AC current. Disconnect all power before installing. If you wish to install wire runs inside walls, follow national and local electrical codes for low voltage Class 2 circuit installation. Use CL2 or better cabling that is properly certified. Do not install low-voltage wiring in the same wire run as AC power and keep them at 90-degree angles if they cross. If you are unsure about how to install and wire this device, contact a qualified electrician. Use only insulated staples, plastic ties or clips to secure wires and ensure that they are routed and secured correctly so that they will not be pinched or damaged. Failure to observe polarity or shorting of wires may damage the LED lights. To install the lights, make a minimum 9mm diameter hole for wiring and attach the light base (1) to the mounting surface using screws (2). Insert the light body (3) into the light base (1). To recess mount, cut a 30mm hole and press the light body (3) into the hole. Connect each light to a constant voltage 12-volt DC power supply and ensure that the installation is correct. Improper installation, improper powering, abuse, or failure to use this product for its intended purpose will void the warranty. If you have any questions, email [email protected] or visit armacostlighting.com for more information.
Lights require a 12-volt DC power supply. Each LED light uses about 1.5 watt. Choose an adequately rated power supply based on the number of installed lights.
IMPORTANT
CAUTION: For use only with low voltage 12-volt DC power source. Do not connect to 120V AC current. For dry location only.
Disconnect all power before installing
Wire runs inside walls must be installed in accordance with national and local electrical codes, low voltage Class 2 circuit. Use properly certified CL2 or better cabling. Do not install low-voltage wiring in the same wire run as AC power. If AC and low-voltage wires cross, keep them at 90-degree angles. If you are unclear as to how to install and wire this device, contact a qualified electrician.
- Use only insulated staples, plastic ties or clips to secure wires.
- Route and secure wires so they will not be pinched or damaged.
- Failure to observe polarity or shorting of wires may damage the LED lights.
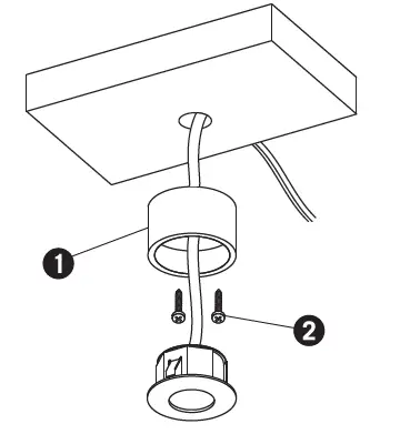
Installation
- Make a 9mm minimum diameter hole for wiring.
Attach the light base (1) to the mounting surface using screws (2).
- Insert the light body (3) into the light base (1).

- To recess mount, cut a 30mm hole and press the light body (3) into the hole.

- Connect the light to a constant voltage 12-volt DC power supply.
SPECIFICATIONS
- Input Voltage ————————————– 12-volt DC
- Power Consumption ———————————-~1.5W
- Light Output (Lumens) ——————————————- ~95
- Body material —————————————————-Aluminum
3-YEAR LIMITED WARRANTY
This product is for dry location use only. Improper installation, improper powering, abuse, or failure to use this product for its intended purpose will void warranty. Proof of purchase is required for all returns. Questions? Email [email protected].
armacostlighting.com. © 2022 Armacost Lighting. All rights reserved.

Attach the light base (1) to the mounting surface using screws (2).


















