Schneider Electric ZBRT1 Rope Pull Switch

Product Information
The ZBRP1 is a rope pull switch manufactured by Schneider Electric. It is designed to provide an emergency stop function for conveyor systems and other industrial equipment. The device is equipped with a monostable or bistable switch that activates when the pull rope is pulled or when the switch is triggered. The device operates on a frequency of 2.405 GHz (IEEE 802.15.4) and has a transmission range of up to 100 meters (328 feet) in the open air.
Product Usage Instructions
- Mounting:
- Mount the ZBRP1 on a flat surface using appropriate fasteners.
- Ensure that the device is mounted securely and is level.
- Make sure that the pull rope is attached to the device according to the manufacturer’s instructions.
- Usage:
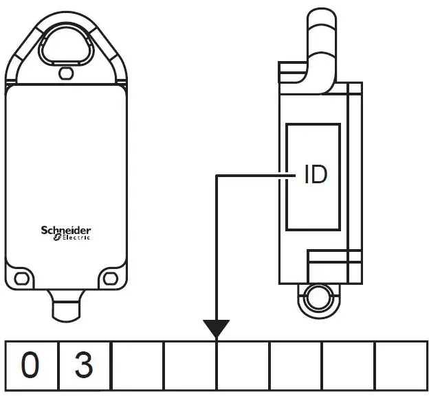
- Before using the device, take note of and retain the ID number for future reference.
- Do not use the device in critical safety conditions.
- Use appropriate safety interlocks where personnel may be at risk.
- Do not open the device.
- Follow all instructions in the user manual carefully to avoid any risk of injury, death, or equipment damage.
NOTE
Please note down and retain your rope pull switch ID. You will need it for an ID Reset.
Maximum dimensions

Mounting

Model: ZBRT1 transmiter enclosed in ZBRP1 FCC USA and I C Canada Compliance Statement.
This device complies with part 15 of the FCC rules and Industry Canada license-exempt RSS standard(s). Operation is subject to the following two conditions:
- this device may not cause harmful interference, and
- this device must accept any interference received, including interference that may cause undesired operation of the device.
Note: Schneider Electric is not responsible for any radio or tv interference caused by unauthorized modifications to this equipment. Changes or modifications not expressly approved by Schneider Electric responsible for compliance could void the user’s authority to operate the equipment.
WARNING
UNINTENDED EQUIPMENT OPERATION
- Do not use this equipment in safety-critical machine functions.
- Use appropriate safety interlocks where personnel and/or equipment hazards exist.
- Do not open the product. Failure to follow these instructions can result in death, serious injury, or equipment damage.
Unobstructed
Metal cabinet
Typical values that may be modified by the application environment
Consult the Expert Instruction Sheet on:
Teach/Unteach

Q1 (Teach + 4s = Q1 active)

Q2 (Teach + 4s => Q2 active) 



- Monostable
- Bistable
- Stop/Start Stopp/Start
- Green ON
- Yellow ON
- Flashing
Model: ZBRT1 transmiter enclosed in ZBRP1
FCC USA and I C Canada Compliance Statement
This device complies with part 15 of the FCC rules and Industry Canada license-exempt RSS standard(s). Operation
is subject to the following two conditions:
- this device may not cause harmful interference, and
- this device must accept any interference received, including interference that may cause undesired operation of the device.
Note: Schneider Electric is not responsible for any radio or tv interference caused by unauthorized modifications to this equipment. Changes or modifications not expressly approved by Schneider Electric responsible for compliance could void the user’s authority to operate the equipment.
Apprendimento

Q1 (Teach + 4s = Q1 active)
Q2 (Teach + 4s => Q2 active)


Web site
- Schneider Electric Limited
- Stafford Park 5
- Telford, TF3 3BL, UK
- www.se.com.




















