
402-0106-1
HEAT PUMP FOR SWIMMING POOL
Installation and Instruction Manual

Specifications
| Model | Sun Spring 5 | Sun Spring 7 | Sun Spring 10 | Sun Spring 14 | |
| Heating capacity | kW | 4,85 | 6,7 | 10,1 | 13,7 |
| Power input | kW | 0,8 | 1,05 | 1,7 | 2,51 |
| Maximum pool volume* | m3 | 12 | 20 | 30 | 45 |
| Running current | A | 4,7 | 5,3 | 8,6 | 11,5 |
| COP ** | 4,75 | 5,6 | 5,2 | 5,45 | |
| Power supply | V/Ph/Hz | 220-240/1/50 | |||
| Controller | Digital with built-in diagnostics | ||||
| Heat exchanger | Titanium | ||||
| Compressor quantity | 1 | 1 | 1 | 1 | |
| Type compressor | rotary | rotary | rotary | rotary | |
| Refrigerant | R410A | ||||
| Refrigerant quantity | kg | 0,60 | 0,90 | 0,90 | 1,3 |
| Fan quantity | 1 | 1 | 1 | 1 | |
| Fan input power | W | 70 | 70 | 80 | 80 |
| Fan speed | tpm | 950 | 950 | 1200 | 1200 |
| Fan direction | vertical | vertical | vertical | vertical | |
| Noise at 2m | dB(A) | 53 | 54 | 57 | 58 |
| Water connection | “ | 1,5 | 1,5 | 1,5 | 1,5 |
| Water flow | m3/h | 3 – 12 | 4 – 12 | 5 – 12 | 5 – 12 |
| Pressure drop (max.) | kPa | 11 | 13 | 15 | 15 |
| Protection | IP x4 | ||||
| RCD protection | mA | 10 | 10 | 30 | 30 |
| Dimensions | L/W/H (mm) | 458/472/530 | 458/472/530 | 458/472/750 | 458/472/750 |
| Unit shipping dimensions | L/W/H (mm) | 500/510/580 | 500/510/580 | 500/510/800 | 500/510/800 |
| shipping weight | kg | 27/28 | 29/30 | 37/39 | 43/45 |
* Maximum pool volume when completely insulated, with pool cover, out of the wind and in the sun.
** Measurement conditions: ambient temperature 25°C, water temperature 25°C, relative humidity 70%
Preface
In order to provide our customers with quality, reliability, and versatility, this product has been made to strict producing standards. This manual includes all necessary information about installation, debugging, discharging, and maintenance. Please read this manual carefully before you open or maintain the unit. Failure to comply with these recommendations will void the warranty. The manufacturer of this product will not be held responsible if someone is injured or the unit is damaged, as a result of improper installation, debugging, or unnecessary maintenance. The Swimming Pool Heat Pump Unit heats the swimming pool water and keeps the temperature constant. Our Sun Spring heat pumps have the following characteristics:
- Durable
The heat exchanger is made of PVC & Titanium tube, which can withstand prolonged exposure to swimming pool water. - Flexible installation
All our heat pumps are fully tested and ready for use when they leave our factory. Simply connect swimming pool water to the heat pump en insert the electrical plug into a wall socket. - Quiet operation
The unit comprises an efficient rotary compressor and a low-noise fan motor, which guarantees its quiet operation. - Easy operation
The electronic control panel permits easy setting of the desired temperature. All relevant information regarding the heat pump’s operation can be read on this display.
Installation and connections
2.1 Box content
The box contains the heat pump, 2 water connections, and this manual. Other parts, including a by-pass, must be provided by the user/installer.
Attention: Always keep the unit straight up. If the unit has been tilted or put on his side, allow 24h before starting the unit.
2.2 Installation and connections
Install the unit outside as you can see on page 33.
The Sun Spring heat pumps are designed and constructed to provide long performance life when installed and operated properly under normal conditions. Periodic inspections are important to keep your heat pump running safely and efficiently through the years. The following basic guidelines are suggested for your inspection:
- Make sure the front of the unit is accessible for future service.
- Keep the surrounding areas of the heat pump clear of all debris.
- Keep all plants and shrubs trimmed and away from the heat pump.
- Keep lawn sprinkler heads from spraying on the heat pump to prevent corrosion and damage. Use a deflector if needed.
- If the unit is installed under a very sharp roof pitch or under a roof without a gutter, a gutter or diverter should be fitted to prevent excessive water from pouring down onto the unit.
- Do not use the heat pump if any part has been submerged underwater. Immediately call a qualified professional technician to inspect the heat pump and replace any part of the control system, which has been submerged.
2.3 Water connections
The piping to and from the heat pump needs to have a 50mm outer diameter and needs to be glued or clamped onto the water connections that came with the heat pump.
These pipes can be hard PVC or flexible. Always install piping intended for swimming pool use and use the correct glue to put them together.
2.4 Electrical connection
Always check if the voltage from the network corresponds with the operating voltage of the unit. The heat pump must only operate together with the filter pump. Both should always be powered together. Therefore, connect them to the same circuit breaker type D. The heat pump will get damaged when operated without water flow and will void the warranty.
Please adhere to the following guidelines for the rest of the electrical installation:
| Model | Power supply | Circuit breaker TYPE | Running current | Cable section for 15m of cable | Cable section for 50m of cable |
| Sun Spring 5 | 220-240V | 16A | 4,7A | 2,5mm2 | 2,5mm2 |
| Sun Spring 7 | 220-240V | 16A | 5,3A | 2,5mm2 | 4mm2 |
| Sun Spring 10 | 220-240V | 16A | 8,6A | 2,5mm2 | 4mm2 |
| Sun Spring 14 | 220-240V | 20A | 11,5A | 2,5mm2 | 6mm2 |
Values in this table are only guidelines. Check your local regulations.
Attention: Ensure good grounding
The heat pump is supplied with a connection cable and can be plugged directly into an outlet. The cable has standard a 30mA RCD.

Attention: test the RCD before usage as follows:
- Plug the RCD into a fixed socket
- Press the “RESET” button. The indicator should be “ON”.
- Press the “TEST” button. The indicator should be “OFF”.
- Press the “RESET” button again to start using the heat pump.
You should always switch off the heat pump immediately when the RCD indicator is turned “OFF”. Be extremely careful when pressing “RESET” after a failure because there might still be a problem.
2.5 Initial startup of the heat pump
The following steps need to be taken at startup (after verification that all the connections are made according to the specifications:
- Turn on the filter pump. Check for possible water leakage and water flow to and from the swimming pool.
- Put the power plug into the outlet and switch the heat pump ON. The unit will start after the time delay (see further).
- Verify after a few minutes that the air exhausted by the heat pump is becoming cooler.
- Allow the unit and pool pump to run 24 hours per day until the desired pool water temperature is reached. When the set temperature is reached, the unit just shuts off. The unit will now automatically restart when the pool temperature drops 1 degree Celsius below the set temperature.
Several days will be needed to bring the temperature of the swimming pool water to its required value, depending on the initial water temperature and the ambient temperature. A good pool cover and insulation of the piping can shorten this period considerably.
Attention: Time delay – the unit is equipped with a 3-minute built-in delay to protect control circuit components and to eliminate restart cycling and contactor chatter. This time delay will automatically restart the unit approximately 3 minutes after each circuit interruption. Even a brief power interruption will activate this delay and prevent the unit from starting until the 3-minute countdown is completed.
2.6 Condensation
By its operation of heating the swimming pool water, the air taken by the unit is cooled down and water may condense on the fins of the evaporator. If the relative humidity is very high, this could be as much as several liters an hour. Sometimes this condensation water is wrongly considered swimming pool water.
Attention: A quick way to verify that the water running through the drain is condensation water is to shut off the unit and keep the pool pump running. If the water stops running out of the base pan, it is condensation water. AN EVEN QUICKER WAY – TEST THE DRAIN WATER FOR CHLORINE – if there is no chlorine present, then it’s condensation.
Usage and operation
3.1 The display
See page 34.
The heat pump can be turned on or off with the ON/OFF button.
When OFF the display is showing the following information:
- The indication ‘OFF’ at the location of the pool water temperature
- The temperature wanted for heating
- Eventual error messages
When ON the display is showing the following information:
- The temperature wanted for heating
- The pool water temperature
- The indication ‘Heating’ when the unit is heating the water
- A graphical representation of the water flow: the flow bar (see further)
3.2 Setting of the desired temperature
The desired temperature can directly be set with the arrow keys. The setting will automatically be stored in memory.
A choice can be made between °C and °F as follows:
- Cut electrical power to the unit
- Press both arrow keys at the same time and restore electrical power to the unit, then release the keys.
3.3 The flow bar
The flow bar is a graphical representation of the water volume through the unit. The heat pumps have it best performance when the flow bar is in the green zone. The graph is only valid after at least 30 minutes of operation. The flow bar also represents the three-minute time delay before the actual start of the unit. The indication “flow” is not visible; the small block at the very right end of the flow bar is flickering and disappears after a while. When they are all gone, the unit will start.
Maintenance and inspection
4.1 Maintenance
- Check the water supply to the unit often. Low water flow and air entering into the system should be avoided, as this will diminish the units’ performance and reliability. You should clean the pool/spa filter regularly to avoid damage to the unit as a result of the dirty or clogged filter.
- The area around the unit should be dry, clean, and well ventilated. Clean the side heating exchanger regularly to maintain good heat exchange and to save energy.
- Check the power supply and cable connection often. Should the unit begin to operate abnormally or do you smell something unusual around the electrical compartment, switch off the heat pump and have it replaced in a timely manner.
4.2 Trouble shooting guide
Improper installation will create an electrical hazard, which could result in death or serious injury to pool users, installers, or others due to electrical shock, and may also cause damage to property.
Attention: DO NOT attempt any internal adjustments inside the heater.
Attention: Keep your hands and hair clear of the fan blades to avoid injury.
Attention: If you are not familiar with the pool filtering system and heater:
- Do not attempt to adjust or service without consulting your dealer, professional pool, or air conditioning contractor.
- Read the entire installation and users guide before attempting to use, service, or adjust the heater or pool filtering system.
- Do not start the heat pump until 24 hours after installation to avoid damaging the compressor.
Attention: Turn off power to the unit prior to attempting service or repair.
| Problem | Cause | Solution |
| Heat pump not running | 1. No electricity | 1. Switch on the electrical power |
| 2. Unit not turned on | 2. Switch on the heat pump | |
| 3. Wrong temperature setting | 3. Adjust the temperature setting | |
| 4. Time delay still activated | 4. Wait 3 min for the unit to start | |
| 5. Air temperature below 8°C | 5. Wait until the temperature has risen | |
| 6. Other | 6. See further under ‘error mes- sages’ | |
| Insufficient heating | 1. Obstacles blocking airflow | 1. Remove obstacles |
| 2. Ice on the evaporator | 2. Turn off the unit (the air too cold) |
4.3 Error messages
The heat pump will show an error message in case of a problem. The following messages can occur:
| Error message | Oorzaak | Oplossing |
| Low air temp | The heat pump will not start when the ambient air temperature is below 8°C. | the unit will start as soon as the ambient temperature reaches 8°C. |
| Overheat | The heat pump is not capable of transferring all the heat it has generated. | check the water flow. |
| low flow | Insufficient water flow. The fan has stopped but the compressor is still running. | check the water flow. |
| Flow error | Check/restore the water flow. The heat pump will start after a 3-minute delay when the flow in the unit is sufficient again. | check the water flow. |
more information: www.sunspring.eu
4.4 Water chemistry
Special care should be taken to keep the chemical balance of your swimming pool within the following limits:
| Min. | Max. | |
| pH | 7,0 | 7,8 |
| Free chlorine (mg/l) | 0,5 | 1,5 |
| TAC (mg/l) TAC (°F) | 80 10 | 150 30 |
| Salt (g/l) | 8 |
Attention: failure to keep the swimming pool water between the above limits will void the warranty
Attention: when the concentration of one or more products mentioned above becomes too high, irrevocable damage to your heat pump may occur. Make sure that you always install water treatment equipment after the heat pump. When an auto- Matic chemical feeder is installed in the plumbing, it must be installed downstream of the heat pump. A check valve must be installed between the heat pump and the chemical feeder to prevent back siphoning of chemically saturated water into the heat pump which will damage the components.
4.5 Winterizing
Although our Sun Spring heat pumps are protected against freezing, it is good practice to drain the complete installation. Perform the following actions to completely drain the heat pump:
- Turn off the electrical power to the heat pump at the main breaker panel.
- Shut off the water supply to the heat pump.
- Disconnect the water inlet and outlet and let the water drain from the heat pump.
- Re-connect the water inlet and outlet loosely to prevent debris from entering the connections.
Attention: failure to winterize could cause damage to the heat pump and will void the warranty
4.6 Spring startup
If your heat pump has been winterized, perform the following steps when starting the system in the spring:
- Inspect the system for any debris or structural problems.
- Connect the water inlet and outlet unions firmly.
- Turn on the filter pump to supply water to the heat pump.
- Restore electrical power to the heat pump and switch it ON.
Warranty
LIMITED WARRANTY
Thank you for purchasing our heat pump.
We warrant all parts to be free from manufacturing defects in materials and workmanship for a period of two years from the date of retail purchase.
This warranty is limited to the first retail purchaser, is not transferable, and does not apply to products that have been moved from their original installation sites. The liability of the Manufacturer shall not exceed the repair or replacement of defective parts and does not include any costs for labor to remove and reinstall the defective part, transportation to or from the factory, and any other materials required to make the repair. This warranty does not cover failures or malfunctions resulting from the following:
- Failure to properly install, operate or maintain the product in accordance with our published “Installation & Instruction Manual” provided with the product.
- The workmanship of any installer of the product.
- Not maintaining a proper chemical balance in your pool [pH level between 7,0 and 7,8. Total Alkalinity (TA) is between 80 to 150 ppm. Free Chlorine between 0,5 – 1,5mg/l. Total Dissolved Solids (TDS) less than 1200 ppm. Salt maximum 8g/l]
- Abuse, alteration, accident, fire, flood, lightning, rodents, insects, negligence, or acts of Gods.
- Scaling, freezing, or other conditions causing inadequate water circulation.
- Operating the product at water flow rates outside the published minimum and maximum specifications.
- Use of non-factory authorized parts or accessories in conjunction with the product.
- Chemical contamination of combustion air or improper use of sanitizing chemicals, such as introducing sanitizing chemicals upstream of the heater and cleaner hose or through the skimmer.
- Overheating, incorrect wire runs, improper electrical supply, the collateral damage caused by failure of O-rings, DE grids, or cartridge elements, or damage caused by running the pump with insufficient quantities of water.
LIMITATION OF LIABILITY
This is the only warranty given by Manufacturer. No one is authorized to make any other warranties on our behalf.
THIS WARRANTY IS IN LIEU OF ALL OTHER WARRANTIES, EXPRESSED OR IMPLIED, INCLUDING BUT NOT LIMITED TO ANY IMPLIED WARRANTY OF FITNESS FOR A PARTICULAR PURPOSE AND MERCHANTABILITY. WE EXPRESSLY DISCLAIM AND EXCLUDE ANY LIABILITY FOR CONSEQUENTIAL, INCIDENTAL, INDIRECT, OR PUNITIVE DAMAGES FOR BREACH OF ANY EXPRESSED OR IMPLIED WARRANTY.
This warranty gives you specific legal rights, which may vary, by country.
WARRANTY CLAIMS
For prompt warranty consideration, contact your dealer and provide the following information: proof of purchase, model number, serial number, and date of installation. The installer will contact the factory for instructions regarding the claim and to determine the location of the nearest service center.
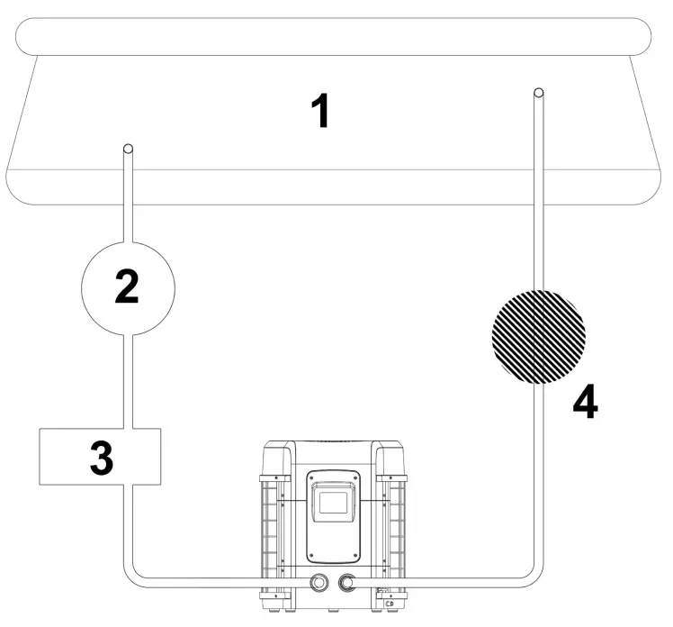
Heat pump location

- Swimming pool
- Water pump
- Filter
- Water treatment
Attention: Distance to the swimming pool: 2m
The Display

- ON / OFF switch
- Operation mode
- Arrow keys
- Set water temperature
- Pool temperature
- Display water flow
















