BLACK DECKER EGO Power+ Mower User Manual

Intended use
Your BLACK+DECKER LM2000 lawn mower has been designed for mowing grass. This appliance is intended for consumer use only.












Safety instructions
Warning! When using corded appliances, basic safety precautions, including the following, should always be followed to reduce the risk of fire, electric shock, personal injury and material damage.
Warning! When using the machine the safety rules must be followed. For your own safety and bystanders please read these instructions before operating the machine. Please keep the instructions
safe for later use.
- Read all of this manual carefully before operating the appliance.
- The intended use is described in this manual. The use of any accessory or attachment or the performance of any operation with this appliance other than those recommended in this instruction manual may present a risk of personal injury.
- Retain this manual for future reference.
Using your appliance
Always take care when using the appliance.
- This appliance is not intended for use by young or infirm persons without supervision.
- The appliance is not to be used as a toy.
- Do not allow children or animals to come near the work area or touch the appliance or power supply cord.
- Close supervision is necessary when the appliance is used near children.
- Use in a dry location only. Do not allow the appliance to become wet.
- Do not immerse the appliance in water.
- Do not open body casing. There are no user serviceable parts inside.
- Do not operate the appliance in explosive atmospheres, such as in the presence of flammable liquids, gases or dust.
- To reduce the risk of damage to plugs and cords never pull the cable to remove the plug from a socket.
- Before using, always visually inspect to see that the blades, blade bolts and cutter assembly are not worn or damaged. Replace worn or damaged blades and bolts in sets to preserve balance.
- In order to avoid a hazard due to inadvertent resetting of the thermal cut-out, this appliance must not be supplied through an external switching device, such as a timer, or connected to a circuit that is regularly switched on and off by the utility.
After use
- When not in use, the appliance should be stored in a dry, well ventilated place out of the reach of children.
- Children should not have access to stored appliances.
- When the appliance is stored or transported in a vehicle it should be placed in the boot or restrained to prevent movement following sudden changes in speed or direction.
Inspection and repairs
- Before use, check the appliance for damaged or defective parts. Check for breakage of parts, damage to switches and any other conditions that may affect its operation.
- Do not use the appliance if any part is damaged or defective.
- Have any damaged or defective parts repaired or replaced by an authorised repair agent.
- Never attempt to remove or replace any parts other than those specified in this manual.
- Be careful during adjustment of the mower to prevent entrapment of the fingers between moving blades/parts and fixed parts of the machine.
- When servicing the blades be aware that, even though the power source is switched off, the blades can still be moved.
Additional safety instructions for lawn mowers
- Firmly grip handle with both hands when operating the lawn mower.
- If at any time it is felt necessary to tilt the lawn mower, make sure that both hands remain in the operating position while the lawn mower is tilted. Keep both hands in the operating position until the lawn mower is returned to rest correctly on the ground.
- Never wear radio or music headphones while operating the lawn mower.
- Never attempt to make a wheel height adjustment while the motor is running or while the safety key is in the switch housing.
- If the lawn mower stalls, release bail bar to turn mower off, wait for blade to stop, before attempting to unclog the chute or remove anything from under the deck.
- Keep hands and feet away from cutting area.
- Keep blades sharp. Always use protective gloves when handling the lawn mower blade.
- If you are using the grass collector, check it frequently for wear and deterioration. If excessively worn, replace with a new grass collector for your safety.
- Use extreme caution when reversing or pulling the lawn mower towards you.
- Do not put hands or feet near or under the lawn mower. Keep clear of the discharger opening at all times.
- Clear the area where the lawn mower is to be used of objects such as rocks, sticks, wire, toys, bones etc., which could be thrown by the blade. Objects struck by the blade can cause severe injury to persons. Stay behind the handle when the motor is running.
- Do not operate the lawn mower barefooted or while wearing sandals. Always wear substantial footwear.
- Do not pull lawn mower backward unlessMabsolutely necessary. Always look down and behind before and while moving backward.
- Never direct discharged material toward anyone. Avoid discharging material against a wall or obstruction.M Material may ricochet back toward the operator. Release the bail bar to turn the lawn mower off and stop the blade when crossing gravel surfaces.
- Do not operate the lawn mower without the entire grass collector, discharge guard, rear guard, or other safety protective devices in place and working. Periodically check all guards and safety protective devices to ensure they are in good working order and will operate properly and perform their intended function. Replace a damaged guard or other safety device before further use.
- Never leave a running lawn mower unattended.
- Always release the bail bar to stop the motor and wait until the blade comes to a complete stop before cleaning the lawn mower, removing the grass bag, unclogging the discharge guard, when leaving the lawn mower, or before making any adjustments, repairs or inspections.
- Operate lawn mower only in daylight or good artificial light when objects in the path of the blade are clearly visible from the operating area of the lawn mower.
- Do not operate the lawn mower while under the influence of alcohol or drugs, or when your are tired or ill. Always stay alert, watch what you are doing, and use common sense.
- Avoid dangerous environments. Never operate the lawn mower in damp or wet grass, never use lawn mower in the rain. Always be sure of your footing, walk, never run.
- If the lawn mower should start to vibrate abnormally, release the bail bar, wait for the blade to stop and then check for the cause immediately. Vibration is generally a warning of trouble, see the troubleshooting guide for advise in the case of abnormal vibration.
- Always wear proper eye and respiratory protection when operating the lawn mower.
- The use of any accessory or attachment not recommended for use with this lawn mower could be hazardous. Only use accessories approved by BLACK+DECKER.
- Never overreach while operating the lawn mower. Always be sure to keep proper footing and balance at all times while operating the lawn mower.
- Mow across the face of slopes, never up and down. Exercise extreme caution when changing direction on slopes.
- Watch for holes, ruts, bumps, rocks or other hidden objects. Uneven terrain could cause a slip and fall accident. Tall grass can hide obstacles.
- Do not mow on wet grass or excessively steep slopes. Poor footing could cause a slip and fall accident.
- Do not mow near drop-offs, ditches, or embankments. You could lose your footing or balance.
- Always allow the mower to cool down before storing. Pull the plug from the socket:
- Whenever you leave the machine;
- Before clearing a blockage;
- Before checking, cleaning or working on the appliance.
Safety of others
- This appliance is not intended for use by persons (including children) with reduced physical, sensory or mental capabilities, or lack of experience and knowledge, unless they have been given supervision or instruction concerning use of the appliance by a person responsible for their safety.
- Children must be supervised to ensure that they do not play with the appliance.
- After striking a foreign object. Inspect the appliance for damage and make repairs as necessary;
Residual risks.
Additional residual risks may arise when using the tool which may not be included in the enclosed safety warnings. These risks can arise from misuse, prolonged use etc.
Even with the application of the relevant safety regulations and the implementation of safety devices, certain residual risks can not be avoided. These include:
- Injuries caused by touching any rotating/ moving parts.
- Injuries caused when changing any parts, blades or accessories.
- Injuries caused by prolonged use of a tool. When using any tool for prolonged periods ensure you take regular breaks.
- Impairment of hearing.
- Health hazards caused by breathing dust developed when using your tool (example:- working with wood, especially oak, beech and MDF.)
- If operating the mower in a damp location is unavoidable, use a residual current device (RCD) with a tripping current of not more than 30 mA. Use of an RCD reduces the risk of electric shock.
- Never pick up or carry an appliance while the motor is running.
Warning symbols
The following warning symbols are found on the appliance along with the date code:
Warning! Read the manual prior to operation.
R Do not expose the appliance to rain or high humidity.
Beware of sharp blades.
Blades continue to rotate after the motor is switched off – Remove plug from mains before maintenance or if cord is damaged.
Beware of flying objects. Keep bystanders away from the cutting area.
Wear suitable eye protection.
Wear suitable ear protection.
The blades will continue to rotate after the machine is switched off.
Keep supply cord away from
cutting blades.
Directive 2000/14/EC guaranteed sound power.
Electrical safety
Warning! This tool is double insulated; therefore no earth wire is required. Always check that the power supply corresponds to the voltage on the rating plate.
If the supply cord is damaged, it must be replaced by the manufacturer or an authorized BLACK+DECKER Service Centre in order to avoid a hazard.
Features
This appliance includes some or all of the following features.
- Switch box
- Bail handle
- Upper-handle
- Lower-handle
- Upper-handle attachment levers (2)
- Lower-handle attachment levers (2)
- Cut height adjust lever
- Grass collection bag
- Rear door cover
- Carrying handles
- EdgeMax™
- Extension cord retainer
Use of extension cords
Make sure the extension cord is in good condition before using. Always use the proper size extension cords with the tool – that is, proper wire size for various lengths of cord and heavy enough to carry the current the tool will draw. Use of an undersized cord will cause a drop in line voltage resulting in loss of power and overheating. To reduce the likelihood of disconnection of lawn mower cord from the cord set during operating:
- Make a knot as shown in Figures A and A1, or.
- Use one of the plug-receptacle retaining straps or connectors
described in this manual (Figure B).
Attaching extension cord (figure B)
An extension cord retainer (12) that prevents the cord from coming unplugged is built into the switch handle.
- To use this feature, simply double the extension cord about 203mm from the end, and insert it into the opening (13) as shown in figure B.
- Push the extension cord into the two holding slots (14) to reinforce the hold.
- Gently tug on the cord to insure that it is firmly in the mower’s retainer.
- Plug the receptacle end of the extension cord into the power cord and plug in extension cord.
Warning! Don’t Abuse Cord – Never pull lawn mower by cord or yank it to disconnect from receptacle. Keep cord from heat, oil, and sharp edges.
Assembly
- Warning! Before assembly, make sure the bail handle is released and the mower is unplugged. Attaching lower handle
- Lift lower handle (4) into place making sure the arrow (15) on the base of the mower lines up with 1 or 2 on the base of the handle (16) (inset of Figure C)
Note! Ensure each side of the lower handle is set on the same number. The arrow must be lined up with 1 or 2 for operation. - Close the handle height adjust levers (6) as shown in Figure C. As you close each, make sure the teeth are engaged as shown in Figure D.
- If the connection between the handle and lever is too tight or loose, open the lever and adjust the depth of the lever by turning the lever. Close it again until the teeth are fully clasped and each lever stays securely closed. Attaching upper handle (fig. E)
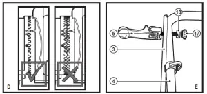
- Remove the upper-handle attachment levers (5), nuts (17), and washers (18) from the handle.
- Line up the holes on the bottom of the upper handle (3) with the holes on the top of the lower handle (4).
Note: Make sure the cord is located on the front of both handles. If it is not it may result in the cord tangling and the inability to easily store the mower. - From the outside of the upper handle (3), slide the lever bolt through the holes.
- Slide the washer over the bolt of the lever and loosely assemble the entire assembly with the nut.
- Rotate the upper handle into its operating position
- Close the lever. If it is too tight or too loose, open the lever and the nut to adjust the clamping. Check the levers by closing them. They should be tight enough so the handlesare held firmly, but loose enough so the levers can be fully closed. Adjust by opening the lever and turning the nut until the handles are secured
Securing the motor cable (fig. F)
Warning: Attach cable so that it does not become stretched or pinched in the joints of the handles during use or folding. This can cause damage to the cord. The motor cable (19) has to be fixed to the handles using the cable restraints (20) that are already attached to the handle. To clip the cable to the handle:
- Place the handles in operating position, see “Attaching
lower handle” section. - Run the cable up the front of the lower and upper handles.
- Pull back the cable restraint.
Slide the motor cable under the clip and ensure it is fully held in place by the restraint.
Bagging
- Ensure the side discharge attachment (24) (fig. I) and the mulching insert (23) (fig. H) are removed from the mower before bagging.
Lift the rear door cover (9) and place the grass collection bag (8) onto the mower so the bag hooks (21) rest on the lugs (22) as shown in figure G. Then lower the rear door
cover.
Mulching
- Ensure the side discharge attachment (27) and the collection bag (8) are not attached.
- Lift the rear door cover (9) and slide the mulching insert (23) fully into the mower as shown in figure H. ensure the rear door cover fully closes before turning mower on.
Side discharge
- Ensure the collection bag (8) is removed.
- Lift the rear flap (9) and slide the mulching insert (23) fully into the mower as shown in figure H.
- Lift the side flap (25) and hook side discharge attachment (24) onto the mower as shown in figure I.
Release the side flap and ensure the attachment holds in place before turning mower on as shown in the insert of Figure I.
Operation
Warning! Let the mower work at its own pace. Do not overload.
Adjusting handle height (fIg. J)
- Open both lower-handle attachment levers (6).
- Adjust the handle so the arrow (15) on the base of the mower lines up with 1, or 2 on the base of the handle (16). ensure the handle is set to the same number on both sides of the mower.
- Close both levers and ensure the handle is firmly latched and the teeth are engaged as shown in inset.
Adjusting mower height (fIg. K)
The height of cut is adjusted by the central cut height adjust lever, there are 7 positions to choose from.
Note: If you are not sure which height to cut, begin mowing with the height adjustment lever (7) in position 7 and adjust the height down as needed, as shown in figure K. To set the height of cut:
- Pull the mower height adjustment lever out of the locking notch.
- Move the lever towards the rear of the appliance to lower the height of cut.
- Move the lever towards the front of the appliance to raise the height of cut.
- Push the height adjustment lever into one of the 7 locking notches.
Starting mower
Warning! Sharp moving blade. Never attempt to override the operation of this switch box as serious injury could result.
- Your mower is equipped with a special on-off switch box. To operate the mower, push the button (26) on the switch box (1), then pull the bail handle (2) to the handlebar as shown in Figure L. Release button and hold bail handle with both hands.
- To turn the mower off, just release the bail handle. Warning! Never attempt to lock a switch or bail handle (2) in the on position.
Note: Once the bail handle has returned to the original position it will activate the “Automatic Braking Mechanism”. The motor is electrically braked and the mower blade will stop rotating in 3 seconds or less.
Mowing (fig. M – N)
Warning! Always inspect area where mower is to be used and remove all stones, sticks, wire, bones and other debris which might be thrown by the rotating blade. We recommend to use your mower as outlined in this section in order to achieve optimum results and to reduce the risk of cutting the main cable.
- Place the bulk of the cable on the lawn, close to the starting point (position 1 in fig. M).
- Switch the mower on as described above.
- Proceed as shown in fig. M.
- Move from position 1 to position 2.
- Turn right, stepping over the cable and proceed towards position 3.
- Turn left, stepping over the cable and move towards position 4.
- Repeat the above procedure as required.
Warning! Do not work towards the cable as shown in fig. M1.
EdgeMax™
EdgeMax™ (11) allows you to cut grass right up to the edge of a wall or fence (fig. N).
EdgeMax™ allows you to accurately cut grass right up to the edge of your lawn (fig. N1).
- With the lawn mower parallel to the edge of your lawn, push the lawn mower along the edge of the lawn. ensure that the EdgeMax™ is slightly over the edge of your lawn (fig. N1).
Note: When the side discharge attachment is attached
EdgeMax™ can only be used on the right side of the mower.
Mower overload
To prevent damage due to overload conditions, do not try to remove too much grass at one time.
Slow down your cutting pace, or raise the cut height.
Storage
Warning! Rotating blade can cause serious injury. Release bail handle (2) to turn mower off, remove safety key, and remove battery before lifting, transporting, or storing the mower.
Store in a dry place.
Warning! To avoid being pinched, keep fingers away from area between handles when folding down handles.
Warning! Make sure cord does not become stretched or pinched in the joints of the handles during folding. This can
cause damage to the cord. The handle of the mower can be easily folded down for quick and convenient storage.
- Holding onto the handle, open, but do not remove, the lower-handle attachment levers (6) and fold the handle to the front of the mower as shown in figure O.
- Open, but do not remove, the upper-handle attachment levers (5) and fold the upper handle (3) back over the lower handle (4) as shown in figure P.
- The mower shold be compacted down as shown in figure Q.
- Keep all nuts, bolts, and screws tight to be sure the appliance is in safe working condition.
- Check the grass catcher frequently for wear or deterioration.
- Replace worn or damaged parts for safety.
- For rotary mowers, ensure that only replacement cutting means of the right type are used.
Carrying the mower - The mower can be carried using the convenient carry handles (10) as shown in figure R. DO NOT attempt to lift the mower by grasping the upper handle (3) or lower handle (4).
Mowing tips
Warning! Always inspect area where mower is to be used and remove all stones, sticks, wire, bones, and other debris
which might be thrown by the rotating blade.
Warning! Mow across the face of slopes, never up-and-down. Exercise extreme caution when changing direction on slopes.
Do not mow excessively steep slopes. Always maintain good
footing. - Release bail handle to turn mower “Off” when crossing any gravel area (stones can be thrown by the blade).
- Set mower at highest cutting height when mowing in rough ground or in tall weeds. Removing too much grass at one time can cause the motor to be overloaded and to stop. Refer to troubleshooting guide.
- If a grass collection bag (8) is used during the fast growing season, the grass may tend to clog up at the discharge opening. Release bail handle to turn mower off and remove the safety key. Remove the catcher and shake the grass down to the back end of the bag. Also clean out any grass or debris which may be packed around the discharge opening. Replace the grass catcher.
- If mower should start to vibrate abnormally, release bail handle to turn mower off and remove safety key. Check mmediately for cause. Vibration is a warning of trouble. Do not operate mower until a service check has been made.
Refer to troubleshooting guide in manual.
- Always release bail handle to turn mower off when leaving it unattended even for a short period of time.
Removing and installing blade
Warning! When reassembling the blade system, ensure each part is reinstalled correctly, as described below. Improper assembly of the blade or other parts of the blade system may cause serious injury.
Warning! Release bail handle to turn mower off, wait for the blade to stop, and unplug mower.
- Cut a piece of 2×4 wood (27) (about 610 mm) to keep blade from turning while removing bolt (28).
- Wear gloves and proper eye protection.
- Turn the mower on its side. Be careful of sharp edges of blade. Position wood and unscrew bolt with 9/16” wrench (29) as shown in figure S.
- Note the orientation of each part as you remove it. Remove nut (30). Pull off washer (31), the blade insulator (32), and the blade (33) as shown in Figure T. Examine all pieces for damage and replace if necessary.
Note: The fan should not be able to be removed.
- To reassemble, slide the blade (33) on. It can only be attached to the fan in one direction and location. Line up the D-shaped hole of the blade with the D-shaped post of the fan, ensuring the writing on the blade faces out away from the mower. Place the insulator (32) on the blade so that the two outer ribs extend past the blade. Place the square washer (31) on top of the insulator so that it sits inside of the two outer ribs on the insulator. Replace the nut (30) with the wide side against the washer.
- To tighten firmly, position the piece of wood as shown in figure U to keep the blade from turning. Slide the bolt through the washer and screw bolt into place. Tightenwith
the wrench.
Blade sharpening
Keep blade sharp for best mower performance. A dull blade does not cut grass cleanly. Use proper eye protection while removing, sharpening, and installing blade. Ensure that safety key and battery pack is removed. Sharpening the blade twice during a mowing season is usually sufficient under normal circumstances. Sand causes the blade to dull quickly. If your lawn has sandy soil, more frequent sharpening may be required.
Note: Replace bent or damaged blade immediately. When sharpening the blade:
- Make sure blade remains balanced.
- Sharpen blade at the original cutting angle.
- Sharpen cutting edges on both ends of blade, removing equal amounts of material from both ends
To sharpen blade in a vise (fig. V)
- Be sure the bail handle is released, the blade has stopped and the mower is unplugged before removing the blade.
- Remove blade from mower. See instructions for removing and installing blade.
- Secure blade (33) in a vise (36).
- Wear proper eye protection and gloves and be careful not to cut yourself. Carefully file the cutting edges of the blade with a fine tooth file (39) or sharpening stone, maintaining the angle of the original cutting edge. Check balance of blade. See instructions for blade balancing. Replace blade on mower and tighten securely.
Blade balancing
Check balance of the blade (35) by placing centre hole in the blade over a nail or round shank screwdriver, clamped horizontally in a vise. if either end of the blade rotates downward, file along the sharp edge of that dropping end. Blade is properly balanced when neither end drops.
Lubrication
No lubrication is necessary. Do not oil the wheels. They have plastic bearing surfaces which require no lubrication.
Cleaning
Release bail handle (2) to turn mower off, let the blade come to a stop and then remove safety key. Use only mild soap and a damp cloth to clean the mower. Clean out any clippings which may have accumulated on the underside of the deck. After several uses, check all exposed fasteners for tightness.
Preventing corrosion
Fertilizers and other garden chemicals contain agents which greatly accelerate the corrosion of metals. If you mow in areas where fertilizers or chemicals have been used, the mower should be cleaned immediately afterward as follows: Release bail handle (2) to turn mower off and unplug mower. Wipe all exposed parts with a damp cloth.
Maintenance
Your BLACK+DECKER corded/cordless appliance/tool has been designed to operate over a long period of time with a minimum of maintenance. Continuous satisfactory operation depends upon proper tool/appliance care and regular cleaning.
Warning! Before performing any maintenance on corded/ cordless power tools:
- Switch off and unplug the appliance/tool.
- Or run the battery down completely if it is integral and then switch off.
- Unplug the charger before cleaning it. Your charger does not require any maintenance apart from regular cleaning.
- Regularly clean the ventilation slots in your tool/appliance and charger using a soft brush or dry cloth.
- Regularly clean the motor housing using a damp cloth. Do not use any abrasive or solvent-based cleaner.
- Regularly use a blunt scraper to remove grass and dirt from the underneath of the guard.
Troubleshooting
If your appliance seems not to operate properly, follow the instructions below. If this does not solve the problem, please contact your local BLACK+DECKER repair agent.
Warning! Before proceeding, release the bail bar to turn mower off and wait for the blade to stop
| Problem | Possible solution |
| Mower doesn’t run when bail handle is activated. | Check to make sure mower is properly plugged in and that the button on switch box is being completely depressed before pulling the bail handle. |
| Release bail handle to turn mower off. Remove safety key and battery pack, turn mower over and check that blade is free to turn. | |
| Motor stops while mowing. | Release bail handle to turn mower off. Unplug mower. Turn mower over and check that blade is free to turn. |
| Raise cutting height of wheels to highest posi- tion and start mower. | |
| Avoid overloading the mower. Slow down the cutting pace, or raise the cut height. | |
| Mower runs but cutting performance is unsatisfac- tory, | Release bail handle to turn mower off. Unplug mower. Turn mower over and check:
|
| Wheel height adjustment may be set too low for grass condition. Raise cutting height. | |
| Mower is too hard to push. | Release bail handle to turn mower off. Unplug mower. Raise cutting height to reduce deck drag on grass. Check each wheel for free rotation |
| Mower is abnormally noisy and vibrates. | Release bail handle to turn mower off. Unplug mower. Turn mower on side and check blade to ensure it has not been bent or damaged. If blade is damaged, replace with a BLACK+DECKER replacement blade. If the underside of the deck is damaged, return mower to a BLACK+DECKER Authorized service center. |
If there is no visible damage to the blade and the mower still vibrates:
| |
| If mower still vibrates, return the mower to an authorized BLACK+DECKER authorized service center. | |
| Mower not picking up clippings with bag. | Chute clogged. Release bail handle to turn mower off. Unplug mower. Clear chute of grass clippings. |
| Raise cutting height of wheels to shorten length of the cut. | |
| Bag full. Empty bag more often. |
Protecting the environment
Separate collection. Products and batteries marked with this symbol must not be disposed of with normal household waste. Products and batteries contain materials that can be recovered or recycled, reducing demand for raw materials. Please recycle electrical products and batteries according to local provisions. Further information is available at www.2helpU.com
Technical data
| LM2000 | ||
| Voltage | Vac | 230V |
| Power input | W | 2000 |
| No-Load Speed | min-1 | 3500RPM |
| Impedence | ZMAX | 0.4103 |
| Weight | kg | 25.46 |
Hand/arm weighted vibration value: = <2,5 m/s2 , uncertainty (K) = 1,5 m/s2. LPA (sound preasure) 85 dB(A) uncertainty (K) = 2,5 dB(A)

LM2000 lawn mower
Black & Decker declares that these products described under “technical data” are in compliance with:
2006/42/EC, EN 60335-1:2012 + A11:2014,
EN 60335-2-77:2010
2000/14/EC, Lawn Mower, L < 50cm, Annex VI,
DEKRA Certification B.V., Utrechtseweg 310, ED Arnhem Netherlands
Notified Body ID No.: 0344
Level of accoustic power according to 2000/14/EC (Article 12,
Annex III, L < 50cm, cm): LWA (measured sound power) 95 dB(A)
uncertainty (K) = 1,0 dB(A) LWA (guaranteed sound power) 96 dB(A)
These products also comply with directive 2014/30/EU and 2011/65/EU. For more information, please contact Black &
Decker at the following address or refer to the back of the manual. The undersigned is responsible for compilation of the technical file and makes this declaration on behalf of Black & Decker.
Guarantee
Black & Decker is confident of the quality of its products and offers consumers a 24 month guarantee from the date of purchase. This guarantee75 is in addition to and in no way prejudices your statutory rights. The guarantee is valid within the territories of the Member States of the European Union
and the European Free Trade Area. To claim on the guarantee, the claim must be in accordance with Black&Decker Terms and Conditions and you will need to submit proof of purchase to the seller or an authorised repair agent. Terms and conditions of the Black&Decker 2 year guarantee and the location of your nearest authorised repair agent can be obtained on the Internet at www.2helpU.com, or by contacting your local Black & Decker office at the address indicated in this manual.
Please visit our website www.blackanddecker.co.uk to register your new Black & Decker product and receive updates on new products and special offers.
Read More About This Manual & Download PDF:
References
2helpU
Power Tools | Garden Tools | Household Products | BLACK+DECKER
Elektrowerkzeuge | Gartengeräte | Haushaltsprodukte | BLACK+DECKER
Elektrisch gereedschap | Tuingereedschap | Huishoudproducten | BLACK+DECKER
Elektrowerkzeuge | Gartengeräte | Haushaltsprodukte | BLACK+DECKER
Power Tools | Garden Tools | Household Products | BLACK+DECKER
Elektrikli El Aletleri, Bahçe, Aksesuarlar | BLACK+DECKER
Elektrowerkzeuge | Gartengeräte | Haushaltsprodukte | BLACK+DECKER
Elværktøj | Haveredskaber | Husholdningsprodukter | BLACK+DECKER
Herramientas Eléctricas | Herramientas de Jardin | Pequeños Electrodomésticos | BLACK+DECKER
Sähkötyökalut | Puutarhatyökalut | Kotitaloustuotteet | BLACK+DECKER
Bricolage | Outils de Jardin | Petit Electroménager | BLACK+DECKER
Ηλεκτρικά Εργαλεία | Εργαλεία Κήπου | Οικιακές συσκευές | BLACK+DECKER
Elettroutensili | Utensili da giardino| Pulizia della casa | BLACK+DECKER
Elektrisch gereedschap | Tuingereedschap | Huishoudproducten | BLACK+DECKER
Elektroverktøy | Hageprodukter | husholdning produkterBLACK+DECKER
Ferramentas Elétricas | Ferramentas de Jardim | Pequenos Eletrodomésticos | BLACK+DECKER
Elverktyg | Trädgård | Hushåll | BLACK+DECKER

















