Ego Power LM1700E 56 volt lithium-ion cordless mower
READ OPERATOR’S MANUAL
To ensure safety and reliability, all repairs and replacements should be performed by a qualified service technician. Intended use & Foreseeable misuse: The product is intended for mowing grass in domestic gardens only. It must not be used to mow unusually high, dry or wet grass, e.g. pasture grass; or to shred leaves. The product is to be used only for its prescribed purpose. Any other use is deemed to be a case of misuse.
SAFETY SYMBOLS
The purpose of safety symbols is to attract your attention to possible dangers. The safety symbols and the explanations with them deserve your careful attention and understanding. The symbol warnings do not, by themselves, eliminate any danger. The instructions and warnings they give are no substitutes for proper accident prevention measures. WARNING: Be sure to read and understand all safety instructions in this Operator’s Manual, including all safety alert symbols such as “DANGER,” “WARNING,” and “CAUTION” before using this tool. Failure to follow all instructions listed below may result in electric shock, fire, and/or serious personal injury.
SYMBOL MEANING
SAFETY ALERT SYMBOL: Indicates DANGER, WARNING, OR CAUTION, may be used in conjunction with other symbols or pictographs.
WARNING: The operation of any power tools can result in foreign objects being thrown into your eyes, which can result in severe eye damage. Before beginning power tool operation, always wear safety goggles or safety glasses with side shields and a full face shield when needed. We recommend a Wide Vision Safety Mask for use over eyeglasses or standard safety glasses with side shields.
SAFETY INSTRUCTIONS
This page depicts and describes safety symbols that may appear on this product. Read, understand, and follow all instructions on the machine before attempting to assemble and operate it.
GENERAL POWER TOOL SAFETY WARNINGS WARNING: READ ALL SAFETY WARNINGS, INSTRUCTIONS, ILLUSTRATIONS AND SPECIFICATIONS PROVIDED WITH THIS POWER TOOL.
Failure to follow all instructions listed below may result in electric shock, fire and/or serious injury.
SAVE ALL WARNINGS AND INSTRUCTIONS FOR FUTURE REFERENCE.
The term “power tool” in the warnings refers to your mains-operated (corded) power tool or battery-operate (cordless) power tool.
WORK AREA SAFETY
- Keep work area clean and well lit. Cluttered or dark
areas invite accidents. - Do not operate power tools in explosive atmospheres, such as in the presence of flammable liquids, gases or dust. Power tools creat sparks which may ignite the dust or fumes.
- Keep children and bystanders away while operating a power tool. Distractions can cause you to lose control.
ELECTRICAL SAFETY
- Power tool plugs must match the outlet. Never modify the plug in any way. Do not use any adapter plugs with earthed (grounded) power tools. Unmodified plugs and matching outlets will reduce risk of electric shock.
- Avoid body contact with earthed or grounded surfaces, such as pipes, radiators, ranges and refrigerators. There is an increased risk of electric shock if your body is earthed or grounded.
- Do not expose power tools to rain or wet conditions. Water entering a power tool will increase the risk of electric shock.
- Do not abuse the cord. Never use the cord for carrying, pulling or unplugging the power tool. Keep cord away from heat, oil, sharp edges or moving parts. Damaged or entangled cords increase the risk of electric shock.
- When operating a power tool outdoors, use an extension cord suitable for outdoor use. Use of a cord suitable for outdoor use reduces the risk of electric shock.
- If operating a power tool in a damp location is unavoidable, use a residual current device (RCD) protected supply. Use of an RCD reduces the risk of electric shock.
PERSONAL SAFETY
- Stay alert, watch what you are doing and use common sense when operating a power tool. Do not use a power tool while you are tired or under the influence of drugs, alcohol or medication. A moment of inattention while operating power tools may result in serious personal injury.
- Use personal protective equipment. Always wear eye protection. Protective equipment such as a dust mask, non-skid safety shoes, hard hat or hearing protection used for appropriate conditions will reduce personal injuries.
- Prevent unintentional starting. Ensure the switch is in the off-position before connecting to power source and/or battery pack, picking up or carrying the tool. Carrying power tools with your finger on the switch or energising power tools that have the switchon invites accidents.
- Remove any adjusting key or wrench before turning the power tool on. A wrench or a key left attached to a rotating part of the power tool may result in personal injury.
- Do not overreach. Keep proper footing and balance at all times. This enables better control of the powertool in unexpected situations.
- Dress properly. Do not wear loose clothing or jewellery. Keep your hair and clothing away fro moving parts. Loose clothes, jewellery or long hair can be caught in moving parts.
- If devices are provided for the connection of dust extraction and collection facilities, ensure these are connected and properly used. Use of dust collection can reduce dust-related hazards.
- Do not let familiarity gained from frequent use of tools allow you to become complacent and ignore tool safety principles. A careless action can cause severe injury within a fraction of a second.
POWER TOOL USE AND CARE
- Do not force the power tool. Use the correct power tool for your application. The correct power tool will do the job better and safer at the rate for which it wa designed.
- Do not use the power tool if the switch does not turn it on and off. Any power tool that cannot be controlled with the switch is dangerous and must be repaired.
- Disconnect the plug from the power source and/or remove the battery pack, if detachable, from the power tool before making any adjustments, changing accessories, or storing power tools. Such preventive safety measures reduce the risk of starting the power tool accidentally.
PERSONAL SAFETY
- Stay alert, watch what you are doing and use common sense when operating a power tool. Do not use a power tool while you are tired or under the influence of drugs, alcohol or medication. A moment of inattention while operating power tools ma result in serious personal injury.
- Use personal protective equipment. Always wear eye protection. Protective equipment such as a dust mask, non-skid safety shoes, hard hat or hearing protection use for appropriate conditions will reduce personal injuries.
- Prevent unintentional starting. Ensure the switch is in the off-position before connecting to power source and/or battery pack, picking up or carrying the tool. Carrying power tools with your finger on the switch or energising power tools that have the switch on invites accidents.
- Remove any adjusting key or wrench before turning the power tool on. A wrench or a key left attached to a rotating part of the power tool may result in personal injury.
- Do not overreach. Keep proper footing and balance at all times. This enables better control of the power tool in unexpected situations.
- Dress properly. Do not wear loose clothing or jewellery. Keep your hair and clothing away from moving parts. Loose clothes, jewellery or long hair can be caught in moving parts.
- If devices are provided for the connection of dust extraction and collection facilities, ensure these are connected and properly used. Use of dust collection can reduce dust-related hazards.
- Do not let familiarity gained from frequent use of tools allow you to become complacent and ignore tool safety principles. A careless action can cause severe injury within a fraction of a second.
POWER TOOL USE AND CARE
- Do not force the power tool. Use the correct power tool for your application. The correct power tool will do the job better and safer at the rate for which it wa designed.
- Do not use the power tool if the switch does not turn it on and off. Any power tool that cannot be controlled with the switch is dangerous and must be repaired.
- Disconnect the plug from the power source and/ or remove the battery pack, if detachable, from the power tool before making any adjustments, changing accessories, or storing power tools. Such preventive safety measures reduce the risk of starting the power tool accidentally.
- Follow all charging instructions and do not charge the battery pack or tool outside the temperature range specified in the instructions. Charging improperly or at temperatures outside the specified range may damage the battery and increase the risk of fire.
SERVICE
- Have your power tool serviced by a qualified repair person using only identical replacement parts. This will ensure that the safety of the power tool is maintained.
- Never service damaged battery packs. Service of battery packs should only be performed by the the manufacturer or authorized service providers
SAFETY RULES FOR CORDLESS LAWNMOWER
This machine was built to be operated according to the rules for safe operation included in this manual. As with any type of power equipment, carelessness or error on the part of the operator can result in serious injury. This machine is capable of injuring hands and feet and throwing objects. Failure to observe all safety instructions could result in serious injury or death. When using cordless lawn mowers, basic safety precautions should always be followed to reduce the risk of fire, electric shock, and personal injury.
IMPORTANT
- READ CAREFULLY BEFORE USE. KEEP FOR FUTURE REFERENCE.
- SAFETY RULES FOR CORDLESS LAWNMOWERS:
- CAUTION-DO NOT TOUCH ROTATING BLADE!
TRAINING
- Read the instructions carefully. Be familiar with the controls and the proper use of the appliance.
- Never allow people unfamiliar or children with these instructions to use the appliance. Local regulations can restrict the age of the operator.
- Never mow while people, especially children, or pets are nearby.
- The operator or user is responsible for accidents or hazards occurring to other people or their property.
PREPARATION
- While mowing, always wear substantial footwear and long trousers.
- Do not operate the appliance when barefoot or wearin open sandals. Avoid wearing clothing that is loose fitting or that has hanging cords or ties.
- Thoroughly inspect the area where the appliance is to be used and remove all stones, sticks, wires, bones, and other foreign objects.
- Before using, always visually inspect to see that the blades, blade bolts and cutter assembly are not worn or damaged. Replace worn or damaged blades and bolts in sets to preserve balance. Replace damaged or unreadable labels.
- Mow only in daylight or good artificial light.
- Avoid operating the appliance in wet grass, where feasible.
- Always be sure of your footing on slopes.
- Walk, never run.
- For wheeled rotary mowers, mow across the face of slopes, never up and down.
- Exercise extreme caution when changing direction on slopes.
- Do not mow on excessively steep slopes.
- Use extreme caution when reversing or pulling the appliance towards you.
- Stop the blade(s) if the appliance has to be tilted fo transportation when crossing surfaces other than grass, and when transporting the appliance to and from the area to be mowed.
- Never operate the appliance with defective guards or shields, or without safety devices, for example deflectors and/or grass catchers, in place.
- Switch on the motor according to instructions and with feet well away from the blade(s).
- Do not tilt the appliance when switching on the motor, except if the appliance has to be tilted for starting. In this case, do not tilt it more than absolutely necessary and lift only the part which is away from the operator. Always ensure that both hands are in the operating position before returning the appliance to the ground Do not start the machine when standing in front of the discharge opening.
- Do not put hands or feet near or under rotating parts.For rotary mowers, keep clear of the discharge opening at all times.
- Never pick up or carry an appliance while the motor is running.
- Switch off and remove detachable battery pack (or disabling device) and make sure that all moving parts have come to a complete stop before adjusting or cleaning:
- Whenever you leave the machine;
- Before clearing a blockage and unclogging chute;
- Before checking, cleaning or working on the appliance;
- After striking a foreign object. Inspect the appliance for damage and make repairs as necessary.
- If the appliance starts to vibrate abnormally (check immediately):
- Inspect for damage;
- Replace or repair any damaged parts;
- Check for the tighten any loose parts.
MAINTENANCE AND STORAGE
- Be careful during adjustment of the machine to prevent entrapment of the fingers between moving blades and fixedparts of the appliance.
- Keep all nuts, bolts, and screws tight to be sure the appliance is in safe working condition.
- Check the grass catcher frequently for wear or deterioration.
- Replace worn or damaged parts for safety.
- Cleaning and user maintenance shall not be made by children without supervision.
- When servicing the blades be aware that, even though the power source is switched off, the blades can still be moved.
- For rotary mowers, ensure that only replacement cutting means of the right type are used.
PERSONAL SAFETY
- Tragic accidents can occur if operator is not alert to the presence of children. Children are often attracted to the mower and mowing activity. They do not understand the dangers. Never assume that children will remain where you last saw them.
- Keep children out of the mowing area and under the watchful care of a responsible adult other than the operator.
- Be alert and turn the mower off if a child enters the area.
- Use extreme care when approaching blind corners, doorways, shrubs, trees, or other objects that may obscure your vision of a child who may run into the mower.
- Children should be supervised to ensure that they are not playing with the mower.
- Always turn the mower off when removing the battery packfrom the tool. Stop the blade(s) if the appliance has to be tilted for transportation when crossing surfaces other than grass, and when transporting the appliance to and from the area to be mowed.
OPERATION
GENERAL OPERATION:
- Read this operator’s manual carefully in its entirety before attempting to assemble this machine. Read, understand,and follow all instructions on the machine and in th manuals before operation. Be completely familiar with thecontrols and proper use of this machine before operating it. Keep this manual in a safe place for future and regular reference and for ordering replacement parts.
- Use the right appliance – Do not use the lawn mowerfor any job except that for which it is intended.
- Don’t overreach – Keep proper footing and balance at all times
- Objects struck by the lawn mower blade can cause severe injuries to persons. The lawn should always be carefully examined and cleared of all objects prior to each mowing.
- Before and while moving backwards, look behind anddown for small children and other people.
- This machine is not a plaything. Therefore, exercise extreme caution at all times. Your unit has bee designed to perform one job: to mow grass. Do not use it for any other purpose.
- Don’t force the lawn mower – it will do the job better and more safely at the rate for which it was designed.
- Before using, always visually inspect to see that the blades, blade bolts and cutter assembly are not worn or damaged. Replace worn or damaged blades and bolts and any other components at the same time to preserve balance. Replace damaged or unreadable labels.
- Use extreme caution when reversing or pulling the appliance towards you.
- Thoroughly inspect the area where the equipment is to be used. Remove all stones, sticks, wire, toys and other foreign objects that could be tripped over or picked up and thrown by the blade. Thrown objects can cause serious personal injury. Plan your mowing pattern to avoid discharge of material toward roads, sidewalks, bystanders and the like. Also, avoid discharging material against walls or obstructions, which may cause discharged material to ricochet back toward the operator.
- To help avoid blade contact or an injury from thrown objects, stay in the operator zone behind the handles and keep children, bystanders, helpers and pets at least 30m from the mower while it is in operation. Stop the machine if anyone enters the area.
- Always wear safety glasses or safety goggles during operation and while performing an adjustment or repair to protect your eyes. Thrown objects that ricochet can cause serious injury to the eyes. Always use a face or dust mask if the operation is dusty
- Dress properly – Do not wear loose clothing or jewelry. They can be caught in moving parts. Use of rubbergloves and footwear is recommended when working outdoors. Wear sturdy, rough-soled work shoes and close-fitting trousers and shirts. Shirts and trousers that cover the arms and legs and steel-toed shoes are recommended. Never operate this machine in bare feet, sandals, slippery or lightweight (e.g., canvas) shoes.
- Do not put hands or feet near rotating parts or under the cutting deck. Contact with the blade can injure hands and feet.
- A missing or damaged discharge cover can cause blade contact or injuries from thrown objects.
- Many injuries occur as a result of the mower being pulled over the foot during a fall caused by slipping o tripping. Do not hold onto the mower if you are falling release the handle immediately.
- Never pull the mower back toward you while you are walking. If you must back the mower away from a wall or obstruction first look down and behind to avoid tripping and then following these steps:
- Step back from mower to fully extend your arms.
- Be sure you are well balanced with sure footing.
- Pull the mower back slowly, no more than half way toward you.
- Repeat these steps as needed.
- Do not operate the mower while under the influence of alcohol or drugs.
- Stay alert – watch what you are doing. Use common sense. Do not operate the lawn mower when you are tired.
- The motor/blade control handle is a safety device.Never attempt to bypass its operation. Doing so makes the safety device inoperative and may resultin personal injury through contact with the rotating blade. The motor/blade control handle must operate easily in both directions and automatically return to the disengaged position when released.
- Avoid dangerous environments – Don’t use lawn mowers in damp or wet locations.
- Don’t use in rain.
- Always be sure of your footing. A slip and fall can cause serious personal injury. If you feel you are losing your footing, release the motor/blade control handle immediately and the blade will stop rotating withi three seconds.
- Stop the blade when crossing gravel drives, walks or roads.
- If the equipment should start to vibrate abnormally, stop the motor and check immediately for the cause. Vibration is generally a warning of trouble.
- Inspect for damage;
- Replace or repair any user replaceable damaged parts;
- Check for and tighten any loose parts.
- Never operate the mower without the proper trailing shield, discharge cover, grass bag, mulching insert, side discharge chute, motor/blade control handle or other safety protective devices in place and working. Never operate the mower with damaged safety devices. Failure to do so can result in personal injury.
- If situations occur that are not covered in this manual, use care and good judgment. Contact EGO Customer
Service for assistance.
- Use only with the battery packs and chargers listed in fig.A
- The battery pack must be removed from the appliance before it is scrapped.
- The battery shall be disposed of safely.
OPERATION ON A SLOPE:
Slopes are a major factor related to slip-and-fall accidents, which can result in severe injury. Always be sure of your footing on slopes. Operation on slopes requires extra caution. If you feel uneasy on a slope, donot mow it.
Do:
- Mow across the face of slopes; never mow up and down. Exercise extreme caution when changing direction on slopes.
- Watch for holes, ruts, rocks, hidden objects, or bumps which can cause you to slip or trip. Tall grass can hide obstacles.
Do not:
- Do not mow near drop-offs, ditches or embankments; you could lose your footing or balance.
- Do not mow slopes greater than 15 degrees.
- Do not mow on wet grass. Unstable footing could cause slipping.
SERVICE
- Grass bag components, the discharge cover, side discharge chute, mulching insert and trailing shield are subject to wear and damage, which could expose moving parts or allow objects to be thrown and could increase the risk of injury. For safety protection, frequently check all components and replace damaged components immediately with identical replacement parts, listed in this manual. Contact EGO Customer Service or your closest EGO service center, and repairs or replacements shall be performed by a qualified service technician!
- If the mower’s built-in overload protection switch frequently trips, contact EGO Customer Service or your closest EGO service center.
- Do not wash the mower with a hose; avoid getting water in the motor and electrical connections.
- Remove the key and store the idle lawn mower indoors when not in use. Allow the motor to cool before storing it in any enclosure. The lawn mower should be stored in a dry, high, or locked-up enclosure, out of reach of children.
- When servicing, use only identical replacement parts listed in this manual. Use of parts that do not meet the original equipment specifications may lead to improper performance and compromised safety.
- Remove or disconnect the battery pack before servicing, cleaning, or removing material from the lawn mower.
- Follow instructions for changing accessories.
- Keep handles dry, clean and free from oil and grease.
- To reduce a fire hazard, keep the motor cover free of grass, leaves and debris build-up.
- Check the blade and motor mounting bolts at frequentintervals for proper tightness. Also, visually inspect the blade for damage (e.g., bending, cracking and wear.). Replace the blade only with the identical replacement blade, listed in this manual.
- Maintain your mower with care – keep the mower blade sharp and clean for the best and safest performance. Mower blades are sharp and can cut.
- Wrap the blade or wear gloves and use extra caution when servicing it.
- Never remove or tamper with safety devices. Regularly check their proper operation. Never do anything to interfere with the intended function of a safety device or to reduce the protection provided by a safety device.
- Always stop the motor before making adjustments to a wheel or a cutting-height adjustment.
- After striking a foreign object, stop the motor, remove the key, and thoroughly inspect the mower for any damage. Repair the damage before operating the mower
- Maintain or replace safety and instruction labels, EN as necessary. Contact EGO Customer Service or your closest EGO service center, and repairs or replacements shall be performed by a qualified service technician!
- SAVE THESE INSTRUCTIONS. Refer to them frequently and use them to instruct others who may use this tool. If you lend this tool to someone else, also lend these instructions to them to prevent misuse of the product and possibly injury.
BATTERY USE AND CARE
- To preserve natural resources, please recycle or dispose of batteries properly. This product contains lithium-ion batteries. Local or national laws prohibit disposal of lithium-ion batteries in ordinary rubbish. Consult your local waste authority for information regarding available recycling and/or disposal options.
- Upon removal of the battery pack for disposal or recycling, cover the battery pack’s terminals with heavy-duty adhesive tape. Do not attempt to destroy or disassemble the battery pack or remove any of its components. Lithium-Ion batteries, must be recycled or disposed of properly. Also, never touch the terminals with metal objects and/or body parts as a short circuit may result. Keep away from children. Failure to comply with these warnings could result in fire and/or serious injury.
- UNDER ABUSIVE CONDITIONS, LIQUID MAY BE EJECTED FROM THE BATTERY; AVOID CONTACT. IF CONTACT ACCIDENTALLY OCCURS, FLUSH WITH WATER. IF LIQUID CONTACTS EYES, ADDITIONALLY SEEK MEDICAL HELP. Liquid ejected from the battery may cause irritation or burns.
SPECIFICATIONS
| Model Number | LM1700E | LM1700E-SP |
| Self Propel System | No | Yes |
| Voltage | 56 V | 56 V |
| Recommended Operating Temperature: | 0°C-40°C | 0°C-40°C |
| Recommended Storage Temperature: | -20°C-70°C | -20°C-70°C |
| Optimum Charging Temperature | 5°C-40°C | 5°C-40°C |
| No-load Speed | 3000/min | 3000/min |
| Cutting Height | 20-80mm | 20-80mm |
| Cutting Height Positions | 7 | 7 |
| Deck Size | 46cm | 46cm | |
| Cutting Width | 42cm | 42cm | |
| Grass Bag Volume | 55L | 55L | |
| Mower Weight (Without battery pack and mulching insert) | 22 kg | 24 kg | |
| Blade Model | AB1701 | AB1701 | |
| Blade Brake | YES | YES | |
| Measured sound power level LWA | 91.3 dB(A) K=1.79 dB(A) | 91.3 dB(A) K=1.79 dB(A) | |
| Sound pressure level at operator’s ear LPA | 77.8 dB(A) K=3 dB(A) | 77.8 dB(A) K=3 dB(A) | |
| Guaranteed sound power level LWA (measured according to 2000/14/EC) | 95 dB(A) | 95 dB(A) | |
| Valuation of vibration ah: | Left handle | ≤2.5 m/s2 K=1.5 m/s2 | ≤2.5 m/s2 K=1.5 m/s2 |
| Right handle | ≤2.5 m/s2 K=1.5 m/s2 | ≤2.5 m/s2 K=1.5 m/s2 | |
- The declared vibration total value has been measured in accordance with a standard test method and may be used for comparing one tool with another;
- The declared vibration total value may also be used in a preliminary assessment of exposure.
- The vibration emission during actual use of the power tool can differ from the declared value in which the tool is used; In order to protect the operator, user should wear gloves and ear protectors in the actual conditions of use.
PACKING LIST
| PART NAME | QUANTITY |
| Lawn mower | 1 |
| Grass Catcher | 1 |
| Safety key | 1 |
| Operator’s manual | 1 |
DESCRIPTION
KNOW YOUR MOWER 


- Handle set
- Switch Lever
- Safety Button
- Handle
- Full-grass Indicator
- Grass Bag Handle
- Rear-Discharge Door
- Rear Handle
- Battery-Pack Cover
- Front Wheel
- Mower Deck
- LED Headlights
- Rear Wheel
- Cutting-Height Adjustment Lever
- Grass Bag
- Quick-Adjust Lever
- Side Rail
- Handle-Locking Clamp
- Self-propel Speed-control Knob
- Bail Switcg (Switch Lever)
- Side Rail
- Self-propel Switch
- Safety Key Slot
- Battery-Release Button
- Switch Button for LED Headlights
- Power Indicator
OPERATION
ASSEMBLING THE GRASS BAG
Assemble the two side clips and the bottom clip to the frame 
| D-1 | Bottom Clip | D-3 | Side Clips |
| D-2 | Frame |
Align the ribs with the mounting slots on the bag cover and press the rib down until you hear a “click” 
| E-1 | Ribs | E-3 | Bag Cover |
| E-2 | Mounting Slot |
NOTICE: Under normal usage, bag material is subject to wear. To reduce the risk of injury, frequently inspect the bag assembly and replace if there are any signs of wear or deterioration. Use only grass bags manufactured for this mower.
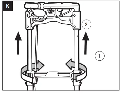
ADJUSTING THE FOLDABLE HANDLE
Do not attempt to start the mower until the handle has been locked at one of the three preset operating positions (UPPER OPERATING POSITION, MIDDLE OPERATING POSITION and LOWER OPERATING POSITION). Your mower is shipped with the handle in the compact,
LOCKED STORAGE POSITION 
- Press and hold the quick-adjust lever to release th handle from the LOCKED STORAGE POSITION.
- Lift the handle from its folded position, then release the lever. Gently pivot the handle upward until you hear and feel the lock pin engage in one of the following different positions

| G-1 | Locked Storage Position | G-4 | Middle Operating Position |
| G-2 | Grass Bag Attachment/Removal Position | G-5 | Lower Operating Position |
| G-3 | Upper Operating Position | G-6 | Cutting Height Adjusting Level |
ATTACHING THE GRASS BAG
- Do not at any time make any adjustment to the lawn mower without first stopping the motor, removing the safety key and waiting for the blade to stop rotating.
- Attach any of the attachments to the lawn mower before mowing.
- To Attach/Remove the Grass Bag Insert the board of the grass bag into the mower and hang the grass bag on the mower.


- Remove the mulching insert (Need to be purchased separately) from the mower before attaching the grass bag to the mower.
- To Attach/Remove the Mulching Insert Lift the rear-discharge door and insert the mulching insert into the mower. To remove, just pull it out. Lastly, release the rear-discharge door.

ADJUSTING THE CUTTING HEIGHT
Keep your feet away from the deck whe adjusting its height. The mower can be set to 7 cutting heights between 20mm and 80mm. Choose the proper cutting height according to the types and conditions of the grass. When moving the tool, make sure the cutting height is adjusted at the position of 3 or higher. Failure to do so, could result in the damage of the blade.
ATTACHING/DETACHING THE BATTERY PACK CHARGE BEFORE FIRST USE.
- If any parts are broken or missing, do not attempt to attach the battery pack to the mower or operate the mower until the broken or missing parts are replaced. Failure to do so could result in serious injury.
- To Attach
Push the battery pack into the battery compartment unti you hear a “click”. - To Detach
Depress the battery-release button in the battery compartment.
parts description see below:
| J-1 | Safety Key |
| J-2 | Safety Key Slot |
| J-3 | Battery-release Button |

Make sure that the latch on the mower snaps into place and that the battery pack is secured to the mower before starting operation.
STARTING/STOPPING THE MOWER
- The operation of any lawn mower can result in foreign objects being thrown into your or other’s eyes, which can damage eyes severely. Always wear safety glasses while operating the mower, or while performing any adjustments or repairs on it.
- Do not use the mower in the rain.
- Ensure that other people and pets remain at least 30m away from the mower when it is in use.
- The blade will continue to rotate for a few seconds after the mower is turned off. Allow th motor/blade to stop rotating before starting it again. D not rapidly turn the mower off and on.
SAFETY KEY
In order to prevent accidental start-up or unauthorized use of your cordless mower, a removable safety key has been incorporated into the design of your mower. The mower will be completely disabled when the safety ke has been removed from the mower Rotating blades can cause serious injury. To prevent serious injury, remove the safety key when the mower is unattended, or when adjusting, cleaning, servicing, transporting, lifting, or storing the mower.
NOTICE: The motor cannot be started unless:
- The handle is locked into one of the three operating positions, see ADJUSTING THE FOLDABLE HANDLE.
- The side rails are fully extended

- Both green handle-locking clamps are securely closed

CAUTION: Do not attempt to override the operation of the safety button and bail switch.
To Start
NOTICE: To prevent serious injury, we recommend you t start the mower with self-propel function off.
START THE MOWER WITH SELF-PROPEL FUCTIO ON
- Attach the battery pack to the mower, insert the safety key into the key slot and close the battery cover.
- According to Fig. M1, depress the safety button down.
- Pull the bail switch upward to meet the handle an release the safety button.
- Depress one of the self-propel switch.
- With the self-propel and safety button switch depressed, then turn the self-propel speed-control knob until you hear a “click”.

START THE MOWER WITH SELF-PROPEL FUCTIO OFF
- Attach the battery pack to the mower, insert the safet key into the key slot and close the battery cover.
- According to Fig. M2, depress the safety butto down.
- With the safety button depressed, pull the bail switch upward to meet the handle and release the safety button.

To Stop
- Fully release the bail switch.
- The electric brake in the Automatic Braking Mechanism will stop the blade rotation within seconds of the bail switch release.
- Turn the self-propel Speed-control knob off until it can’t be rotated

VARIABLE-SPEED SELF-PROPEL SYSTE (only for model LM1700E -SP )
LM1700E-SP mower is equipped with variable-speed self propel capability. This system is independent of the blade On-Off switch. it is not dependent on blade rotation.
To operate the system without blade rotation 
- Press the one of self-propel switches.
- Turn the self-propel Speed-control knob until yo hear a “click”.
To turn the self-propel off, release the self-propel switch and Turn the self-propel Speed-control knob off until it can’t be rotated. (Fig. O2) To reduce the risk of injury, never attempt to override the operation of the switch or self-propel system. Use the self-propel for its intended purpose onlyLED HEADLIGHTS (Fig. A-12)
Press the switch button 1S to turn on/off the LED headlights in the front of the battery compartment.
FULL-GRASS INDICATOR
- THE GRASS BAG IS NOT FULL

- THE GRASS BAG IS FULL

- Stop the mower and remove the battery pack, clean your grass bag.
POWER INDICATOR ON THE MOWER
The mower is equipped with a power indicator to indicate the charge status of the battery pack and the working status of the mower. The power indicator will illuminate when the blade is rotating or when the LED headlights are\ turned on.
| Power Indicator on Mower | Meaning | Action |
| Shining green | Mower is working properly | N/A |
| Flashing green | Handle-Locking Clamp/Quick- Adjust Lever is not triggered properly | Re-triggered the handle-locking clamp/ quick-adjust Lever |
| Flashing red | The battery is depleted | Stop the mower and charge the battery pack |
| Solid orange | The mower is overheated | Remove the battery from the mower, move them to the shade and cool them at least 15 minutes |
| Flashing orange | The mower is overloaded | Slow down your pace or raise up the cut height to decrease the load |
| Red and green flashing alternately | Communication timeout | Connect EGO |
MOWER OVERLOAD PROTECTION
To prevent overload conditions, do not try to remove too much grass at one time. Slow down your cutting pace or raise the cut height. Your mower has built-in overload circuit protection. When the mower is overloaded, the motor will stop and the power indicator on the mower will flash orange. Remove the battery pack from the mower. Check to see if grass has collected beneath the deck and clear it if necessary, then install the battery and restart the mower.
BATTERY HIGH-TEMPERATURE PROTECTION
The heat dissipates more slowly in hot weather. If the battery temperature exceeds 70°C during operation, th protection circuit will immediately turn off the mower t protect the battery pack from damage. The power indicator on the mower will shine orange and the LED on the battery will flash orange. Release the bail handle, wait until the battery pack cools down to approximately 67°C, then restart the mower.
MAINTENANCE
To avoid serious personal injury, always remove the safety key from the mower before cleaning, performing any maintenance or transporting the mower. When servicing, use only identical replacement parts. Use of any other parts may create a hazard or cause product damage. To ensure safety and reliability, all repairs and replacements should be performed by a qualified service technician.
GENERAL MAINTENANCE
Always remove the safety key and batter pack when servicing or transporting the mower The underside of mower deck should be cleaned after each use, as grass clippings, leaves, dirt and other debris wil accumulate. Remove any build-up of grass on or around the drive shaf and the motor fan (do not use water). Wipe the mower clean with a damp cloth.
REMOVING/INSTALLING THE BLADE
- Always protect your hands by wearin heavy gloves or wrapping the cutting edges with rags or other materials when performing any maintenance o the mower blade. Always remove the battery pack whe servicing or transporting the mower.
- To Remove the Blade

- If the bolt rotates with the motor shaft when loosening the bolt, turn the fan by hand to align the through holes in the fan with the holes in the blade, and place another metal rod into the aligned holes

- To Install the Blade
- Following the assembly sequence in with the fan blade towards deck and the printed blade side towards the outside, align the through holes in the fan with the holes in the blade and then tighten the blade


| R2-1 | Stabilizer 1 | S-2 | Inner Flange |
| R2-2 | Stabilizer 2 | S-3 | Blade |
| R2-3 | 14mm Wrench | S-4 | Outer Flange |
| S-1 | Fan | S-5 | Bolt |
NOTICE: The recommended torque for tightening the blade bolt is 49-59Nm.
STORING THE MOWER
- Remove the battery pack from the mower and store i in a cool, dry and clean location. Do not store it next to corrosive materials, such as fertilizer or rock salt.
- Store the mower in a covered, enclosed space, that is cool and dry and out of the reach of children.
- Do not cover the lawn mower with a solid plastic sheet. Plastic coverings trap moisture around the mower, which causes rust and corrosion.
- The mower can be stored upright or flat. WARNING: If the mower tips over from the uprigh position, mower damage or personal injury may result. Always keep the mower stable and out of the reach of children when it is in the upright position. If possible, lay it flat for storage.


Protecting the environment
Do not dispose of electrical equipment, battery charger and batteries/ rechargeable batteries into household waste! According to the European law 2012/19/ EU, electrical and electronic equipment that is no longer usable, and according to the European law 2006/66/EC, defective or used battery packs/batteries, must be collected separately. If electrical appliances are disposed of in landfills or dumps, hazardous substances can leak into the groundwater and get into the food chain, damaging your health and well-being.
TROUBLESHOOTING
| PROBLEM | CAUSE | SOLUTION |
|
The mower fails to start | ◾ The battery pack is depleted. ◾ The battery pack is not mounted in place in the battery compartment.
◾ The battery or mower circuitry is too hot. (The power indicator on the mower will illuminate in orange for 10 seconds) ◾ The side rails are not extended to their maximum length and the clamps are not locked in position. ◾ The handle is not set at one of the three operating positions. ◾ The mower deck is clogged with grass and debris. | ◾ Charge the battery pack. ◾ Attach the battery pack to the mower; press it until you hear a click ◾ Allow the battery pack or mower to cool until the temperature drops below 67°C. ◾ Fully extend the handle and lock both clamps.
◾ Adjust the handle to one of the three operating positions. ◾ Clean the mower deck and make certain that the blade has freedom of movement. |
|
The mower cuts unevenly | ◾ The blade is dull. ◾ The cutting height is not set properly.
◾ The blade is assembled incorrectly. | ◾ Sharpen or replace the blade. ◾ Raise the deck to a higher cutting height setting. ◾ Reassemble the blade, following the section “INSTALLING THE BLADE” in this manual. |
|
The mower stops while mowing | ◾ The battery pack is depleted. ◾ Mower is in overload condition.
◾ Mower deck is clogged with grass and debris.
◾ The battery or mower circuitry is too hot. (The power indicator on the mower will illuminate orange for 10 seconds.) ◾ The side rail is retracted a little by the pushing force applying on the handle. | ◾ Charge the battery pack. ◾ Raise the cutting height or slow down the mowing. ◾ Unclog the mower deck. Raise the cutting height, or cut a narrow swath. ◾ Allow the battery pack or mower to cool until the temperature drops below 67°C. ◾ Unlock the clamps. Fully extend the side rails and lock the clamps again. |
| PROBLEM | CAUSE | SOLUTION |
| The mower does not mulch properly | ◾ Wet grass clippings are sticking to the underside of the deck. ◾ The mower is set to cut too much grass at once. | ◾ Wait until the grass dries before mowing. ◾ Raise the deck to a higher cutting height setting. |
|
There is excessive vibration | ◾ The cutting blade is loose. ◾ The cutting blade is unbalanced.
◾ The cutting blade is bent. ◾ The motor shaft is bent. | ◾ Tighten the blade bolt. ◾ Balance the blade following the instructions. ◾ Replace the blade. ◾ Contact the service center. |
| The handle locking clamps cannot be closed in position. | ◾ The side rails are not fully extended. | ◾ Fully extend the side rails, then lock the clamps. |
WARRANTY
EGO WARRANTY POLICY
Please visit the website egopowerplus.com for full terms and conditions of the EGO Warranty policy.

READ OPERATOR’S MANUAL






























