KRAMER Cable Retractor User Manual

Introduction
Welcome to Kramer Electronics! Since 1981, Kramer Electronics has been providing a world of unique, creative, and affordable solutions to the vast range of problems that confront video, audio, presentation, and broadcasting professionals on a daily basis. In recent years, we have redesigned and upgraded most of our line, making the best even better!
Getting Started
We recommend that you:
- Unpack the equipment carefully and save the original box and packaging materials for possible future shipment.
- Review the contents of this user manual.
Go to www.kramerav.com/downloads/KRT-4 to check for up-to-date user manuals, application programs, and to check if firmware upgrades are available (where appropriate).
Achieving the Best Performance
- Use only good-quality connection cables (we recommend Kramer high-performance, high-resolution cables) to avoid interference, deterioration in signal quality due to poor matching, and elevated noise levels (often associated with low-quality cables).
- Do not secure the cables in tight bundles or roll the slack into tight coils.
- Avoid interference from neighboring electrical appliances that may adversely influence signal quality.
- Position your Kramer KRT-4 away from moisture, excessive sunlight, and dust.
Safety Instructions
Caution:
- This equipment is to be used only inside a building. It may only be connected to other equipment that is installed inside a building.
- There are no operator serviceable parts inside the unit.
Recycling Kramer Products
The Waste Electrical and Electronic Equipment (WEEE) Directive 2002/96/EC aims to reduce the amount of WEEE sent for disposal to landfills or incineration by requiring it to be collected and recycled. To comply with the WEEE Directive, Kramer Electronics has made arrangements with the European Advanced Recycling Network (EARN) and will cover any costs of treatment, recycling, and recovery of waste Kramer Electronics branded equipment on arrival at the EARN facility. For details of Kramer’s recycling arrangements in your particular country go to our recycling pages at www.kramerav.com/support/recycling.
Overview
KRT-4 is a cable retractor, with a gentle retraction mechanism, that is designed for installing in a meeting room, classroom, or other AV site. You can furniture-mount KRT-4 or install one or more KRT-4 units in conjunction with a Kramer TBUS unit, such as TBUS-1AXL, TBUS-10XL, UTBUS-1XL, UTBUS-2XL, and more. KRT-4 extends a variety of common AV connector types and is easy to install and use.
KRT-4 provides user-friendly installation and operation:
- Convenient and easy to install in any TBUS.
- Intuitive Use Pull and stop or pull and retract.
- The cable slowly retracts for safe use.
- Available Cable Types:
- HDMI.
- VGA.
- Audio (3.5mm).
- LAN.
- USB-3.0.
- USB-C.
- DisplayPort. Mini DisplayPort/HDMI (on the retractor side), passing up to 4K30Hz.
- HDMI extender (KRT-4-3H2, see KRT-4-3H2 Features on page 4).
Refer to www.kramerav.com/product/KRT-4 for the updated configuration list.
- Maximum Cable Extension Up to 1.8m (6ft).
- Horizontal Mount Easily mounts, independently, under a table or shelf.
- TBUS Compatibility Retractable cable mounts directly into the TBUS insert opening via a cable pass-through opening.
- Installation KRT-4 is sturdy, cost-effective, and easy to install.
The HDMI cable version is used throughout this manual as an example. The same applies to retractors with other cable types.
Typical Applications
The KRT-4 is ideal for
- Boardrooms and conference rooms.
- Training rooms.
- Hotel lobbies.
- Cafes and restaurants.
Defining the KRT-4 Cable Retractor
This section defines the KRT-4.


KRT-4-3H2 Features
The KRT-4-3H2 retractor side is a 4K HDR equalizer and line driver for HDMI and HDCP 2.2 signals that extend the range when using long HDMI cables.

KRT-4-3H2 features:
- A range of 10m to input, 10m from output, total 20m (65ft) at 4K60 (4:4:4); 25m to input, 15m from output, total 40m (130ft) at 4K60 (4:2:0); 30m to input, 15m from output, total 45m (150ft) at 1080p60.
- HDTV compatibility.
- HDCP 2.2 support.
- HDMI Support HDR10, ARC, CEC, deep color, x.v.color, Lip Sync, 7.1 PCM, Dolby TrueHD, Dolby atmos DTSHD, 2K, 4K, and 3D Dolby Vision as specified in HDMI 2.0.
- Optional external power supply via micro USB port.
Installing KRT-4
KRT-4 can be installed in the following ways:
- Attaching KRT-4 to the Underside of a Table, on page 5.
- Attaching KRT-4 to a TBUS, on page 6.
Attaching KRT-4 to the Underside of a Table
You can mount KRT-4 to the underside surface of a table and use it as a standalone device.
To attach KRT-4 under a table:
- Place KRT-4 under the table in the desired location. Make sure that the retracting cable faces the edge of the table.
- Pass the 3 4×50 Philips screws through the table screw openings (4)and tighten them to fix the retractor under the table.

Attaching KRT-4 to a TBUS
You can attach one or more KRT-4 units to the enclosure of any modular Kramer TBUS with pass-through inserts that are installed inside a table. The KRT-4 units can usually be attached to the front and rear sides of the enclosure, as the left and right sides are fitted with clamps. Alternatively, the clamps can be installed on the front and rear sides to enable attaching KRT-4 to the left and right sides of the TBUS enclosure.
For TBUS models with a sliding lid (for example, TBUS-10xl), you can only use the front side of the enclosure to mount the KRT-4 units.
Attaching a Single KRT-4 Unit
To Attach the KRT-4 to a TBUS unit:
1. Slide the KRT-4 onto one of the sides of the TBUS enclosure. Make sure to position the fixed cable (3) downwards and the retractor cable (7) upwards.

2. Use the wing-head thumbscrew to fix the KRT-4 firmly in place.
![]()
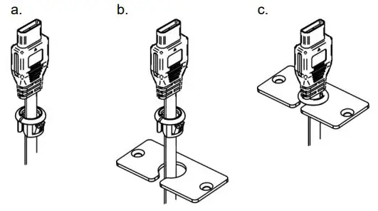
3. Attach the WCP-(KRT) insert in the following way:
a. Insert the cable through the bushing opening.
b. Insert the cable by bushing through the insert opening.
c. Push the bushing into the insert opening.

d. Use the two M3x5 screws to attach the insert to the TBUS opening.
The KRT-4 is now firmly fixed in place.

Attaching Several KRT-4 Units
You can attach several KRT-4 units to a Kramer TBUS:
- For TBUS units with a sliding cover (for example, the Kramer TBUS-10xl), attach the KRT-4 units side-by-side to the front side of the TBUS enclosure (Figure 7):

- For TBUS units with a regular cover (for example, the Kramer TBUS-1Axl), attach the KRT-4 units side-by-side to the front and rear side of the TBUS enclosure (Figure 8).
To maximize the number of KRT-4 units that can be attached to TBUS-1AXL, TBUS-1-KWC or TBUS-1N, use an inner frame that does not include single or dual power sockets or alternatively, install T-2INSERT/T-4INSERT in the single/dual power socket opening.

Connecting to the KRT-4
You can connect the following devices to the KRT-4.

Technical Specifications
KRT-4-3H2 Extender Additional Specifications
KRT-4 Outline Dimensions with TBUS
The following diagram shows the outline dimensions [cm] of a KRT-4 unit attached to a TBUS (for example, the Kramer TBUS-1Axl).

The warranty obligations of Kramer Electronics Inc. (“Kramer Electronics”) for this product are limited to the terms set forth below:
What is Covered
This limited warranty covers defects in materials and workmanship in this product.
What is Not Covered
This limited warranty does not cover any damage, deterioration, or malfunction resulting from any alteration, modification, improper or unreasonable use or maintenance, misuse, abuse, accident, neglect, exposure to excess moisture, fire, improper packing, and shipping (such claims must be presented to the carrier), lightning, power surges, or other acts of nature. This limited warranty does not cover any damage, deterioration, or malfunction resulting from the installation or removal of this product from any installation, any unauthorized tampering with this product, any repairs attempted by anyone unauthorized by Kramer Electronics to make such repairs or any other cause which does not relate directly to a defect in materials and/or workmanship of this product. This limited warranty does not cover cartons, equipment enclosures, cables, or accessories used in conjunction with this product.
Without limiting any other exclusion herein, Kramer Electronics does not warrant that the product covered hereby, including, without limitation, the technology and/or integrated circuit(s) included in the product, will not become obsolete or that such items are or will remain compatible with any other product or technology with which the product may be used.
How Long this Coverage Lasts
The standard limited warranty for Kramer products is seven (7) years from the date of original purchase, with the following exceptions:
- All Kramer VIA hardware products are covered by a standard three (3) year warranty for the VIA hardware and a standard three (3) year warranty for firmware and software updates; all Kramer VIA accessories, adapters, tags, and dongles are covered by a standard one (1) year warranty.
- All Kramer fiber optic cables, adapter-size fiber optic extenders, pluggable optical modules, active cables, cable retractors, all ring mounted adapters, all Kramer speakers, and Kramer touch panels are covered by a standard one (1) year warranty.
- All Kramer Cobra products, all Kramer Calibre products, all Kramer Minicom digital signage products, all HighSecLabs products, all streaming, and all wireless products are covered by a standard three (3) year warranty.
- All Sierra Video MultiViewers are covered by a standard five (5) year warranty.
- Sierra switchers & control panels are covered by a standard seven (7) year warranty (excluding power supplies and fans that are covered for three (3) years).
- K-Touch software is covered by a standard one (1) year warranty for software updates.
- All Kramer passive cables are covered by a ten (10) year warranty.
Who is Covered
Only the original purchaser of this product is covered under this limited warranty. This limited warranty is not transferable to subsequent purchasers or owners of this product.
What Kramer Electronics Will Do
Kramer Electronics will, at its sole option, provide one of the following three remedies to whatever extent it shall deem necessary to satisfy a proper claim under this limited warranty:
- Elect to repair or facilitate the repair of any defective parts within a reasonable period of time, free of any charge for the necessary parts and labor to complete the repair and restore this product to its proper operating condition. Kramer Electronics will also pay the shipping costs necessary to return this product once the repair is complete.
- Replace this product with a direct replacement or with a similar product deemed by Kramer Electronics to perform substantially the same function as the original product.
- Issue a refund of the original purchase price less depreciation to be determined based on the age of the product at the time remedy is sought under this limited warranty.
What Kramer Electronics Will Not Do Under This Limited Warranty
If this product is returned to Kramer Electronics or the authorized dealer from which it was purchased or any other party authorized to repair Kramer Electronics products, this product must be insured during shipment, with the insurance and shipping charges prepaid by you. If this product is returned uninsured, you assume all risks of loss or damage during shipment. Kramer Electronics will not be responsible for any costs related to the removal or reinstallation of this product from or into any installation. Kramer Electronics will not be responsible for any costs related to any setting up this product, any adjustment of user controls, or any programming required for a specific installation of this product.
How to Obtain a Remedy Under This Limited Warranty
To obtain a remedy under this limited warranty, you must contact either the authorized Kramer Electronics reseller from whom you purchased this product or the Kramer Electronics office nearest you. For a list of authorized Kramer Electronics resellers and/or Kramer Electronics authorized service providers, visit our website at www.kramerav.com or contact the Kramer Electronics office nearest you.
In order to pursue any remedy under this limited warranty, you must possess an original, dated receipt as proof of purchase from an authorized Kramer Electronics reseller. If this product is returned under this limited warranty, a return authorization number, obtained from Kramer Electronics, will be required (RMA number). You may also be directed to an authorized reseller or a person authorized by Kramer Electronics to repair the product.
If it is decided that this product should be returned directly to Kramer Electronics, this product should be properly packed, preferably in the original carton, for shipping. Cartons not bearing a return authorization number will be refused.
Limitation of Liability
THE MAXIMUM LIABILITY OF KRAMER ELECTRONICS UNDER THIS LIMITED WARRANTY SHALL NOT EXCEED THE ACTUAL PURCHASE PRICE PAID FOR THE PRODUCT. TO THE MAXIMUM EXTENT PERMITTED BY LAW, KRAMER ELECTRONICS IS NOT RESPONSIBLE FOR DIRECT, SPECIAL, INCIDENTAL OR CONSEQUENTIAL DAMAGES RESULTING FROM ANY BREACH OF WARRANTY OR CONDITION, OR UNDER ANY OTHER LEGAL THEORY. Some countries, districts or states do not allow the exclusion or limitation of relief, special, incidental, consequential, or indirect damages, or the limitation of liability to specified amounts, so the above limitations or exclusions may not apply to you.
Exclusive Remedy
TO THE MAXIMUM EXTENT PERMITTED BY LAW, THIS LIMITED WARRANTY AND THE REMEDIES SET FORTH ABOVE ARE EXCLUSIVE AND IN LIEU OF ALL OTHER WARRANTIES, REMEDIES, AND CONDITIONS, WHETHER ORAL OR WRITTEN, EXPRESS OR IMPLIED. TO THE MAXIMUM EXTENT PERMITTED BY LAW, KRAMER ELECTRONICS SPECIFICALLY DISCLAIMS ANY AND ALL IMPLIED WARRANTIES, INCLUDING, WITHOUT LIMITATION, WARRANTIES OF MERCHANTABILITY AND FITNESS FOR A PARTICULAR PURPOSE. IF KRAMER ELECTRONICS CANNOT LAWFULLY DISCLAIM OR EXCLUDE IMPLIED WARRANTIES UNDER APPLICABLE LAW, THEN ALL IMPLIED WARRANTIES COVERING THIS PRODUCT, INCLUDING WARRANTIES OF MERCHANTABILITY AND FITNESS FOR A PARTICULAR PURPOSE, SHALL APPLY TO THIS PRODUCT AS PROVIDED UNDER APPLICABLE LAW.
IF ANY PRODUCT TO WHICH THIS LIMITED WARRANTY APPLIES IS A “CONSUMER PRODUCT” UNDER THE MAGNUSON-MOSS WARRANTY ACT (15 U.S.C.A. §2301, ET SEQ.) OR OTHER APPLICABLE LAW, THE FOREGOING DISCLAIMER OF IMPLIED WARRANTIES SHALL NOT APPLY TO YOU, AND ALL IMPLIED WARRANTIES ON THIS PRODUCT, INCLUDING WARRANTIES OF MERCHANTABILITY AND FITNESS FOR THE PARTICULAR PURPOSE, SHALL APPLY AS PROVIDED UNDER APPLICABLE LAW.
Other Conditions
This limited warranty gives you specific legal rights, and you may have other rights which vary from country to country or state to state.
This limited warranty is void if (i) the label bearing the serial number of this product has been removed or defaced, (ii) the product is not distributed by Kramer Electronics, or (iii) this product is not purchased from an authorized Kramer Electronics reseller. If you are unsure whether a reseller is an authorized Kramer Electronics reseller, visit our website at www.kramerav.com or contact a Kramer Electronics office from the list at the end of this document.
Your rights under this limited warranty are not diminished if you do not complete and return the product registration form or complete and submit the online product registration form. Kramer Electronics thanks you for purchasing a Kramer Electronics product. We hope it will give you years of satisfaction.

SAFETY WARNING
Disconnect the unit from the power supply before opening and servicing
For the latest information on our products and a list of Kramer distributors, visit our Web site where updates to this user manual may be found.
We welcome your questions, comments, and feedback.
The terms HDMI, HDMI High-Definition Multimedia Interface, and the HDMI Logo are trademarks or registered trademarks of HDMI Licensing Administrator, Inc. All brand names, product names, and trademarks are the property of their respective owners.
www.KramerAV.com
[email protected]



















