

AC-K003 USB Type-C 7 In 1 Hub
User Guide
COMPONENT LIST

USB-C 7-in-1 Hub x 1
HARDWARE INTRODUCTION
![]() | ![]() |
- MEMORY STICK CARD SOCKET
> MS / MS PRO / MS PRO Duo / MS PRO-HG / MS PRO-HG Duo / MS PRO-HG Duo HX - MICROSD CARD SOCKET
> microSD / microSDHC UHS-I / microSDXC UHS-I - SD CARD SOCKET
> SD / SDHC UHS I-11 / SDXC UHS 1-11 - CF(COMPACTFLASH) CARD SOCKET
> CF Cards: Type 1 / II (UDMA 0-7) - USB TYPE-C X 1, OUTPUT
> USB 3.2 Gen 2
> Data Transfer Rate: Up to 10 Gbps (*)
> Power: Up to 2A at 5V (**) - USB TYPE-A X 2, OUTPUT
> USB 3.2 Gen 2
> Data Transfer Rate: Up to10 Gbps (*)
> Power : Up to 2A at 5V (**) - 3.5MM AUDIO/MICROPHONE JACK X 1
> For headphones with 4-pole or 3-pole 3.5mm connector - POWER & CONNECTION INDICATOR
> On & Connected : White Light / Off & Disconnected : No Light - USB-C CONNECTOR, INPUT
> USB 3.2 Gen 2 > Data Transfer Rate : Up to10 Gbps (1 > Power : Up to 3A at 5V (**)
* The data transfer rate will depend on the input source and plugged USB devices both.
** The input and output current will depend on and is limited to the input source. - USB-A CONNECTOR, FOR AUXILIARY POWER
> No data transfer
> Connect to an USB 3.0 port of computer and get extra power - CABLE FIXING AREA [BY USING VELCRO STRAP)
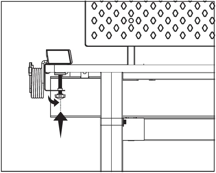
- ADJUSTABLE CLAMPING SCREW
> To Support Tabletop with 15-50 mm Thickness
INSTALLATION
- – Rotate the clamping screw to make the gap larger than the thickness of tabletop.

- – Choose an appropriate position and place the hub onto the desk from the side of tabletop.

- – Tighten the clamping screw to make the hub firmly fixed to the tabletop.

- – Connect the USB-C connector on cable to one USB-C port of your computer then the hub is ready for use.

- – Connect the USB-A connector on cable to one USB 3.0 port of your computer while you plan to use multiple USB devices on the hub.

TROUBLE SHOOTING
The power indicator on hub will have white light while connected to the computer and powered on.
(USB DEVICES, MEMORY CARDS, OR 3.5MM EARPHONES) DON’T WORK NORMALLY?
– [1] Please check the power indicator first. If it didn’t light on, make sure the USB-C cable is connected well to your computer or reconnect the USB-C cable.
– [2] You can also check the USB-C connector on computer by using another USB-C device or connect the hub to other USB-C connectors on computer and figure out the problem is on the hub or computer’s USB-C connector.
– [3] The hub would be recognized and installed automatically by computer’s OS. You can find it as “Generic Hub” under “Device Manager\Universal Serial Bus Controllers” in Windows or “System Information\USB” in macOS.
– [4] If the hub didn’t work normally after checking the above three steps, please contact DEZCTOP customer support([email protected]).
– The data transfer rate will depend on the input source (the USB-C connector on computer) and plugged USB devices both.
– The transfer speed will vary with different conditions.
– Yes, but it will depend on those devices and your computer both.
– All the functions in USB-C 7-in-1 hub are converted and powered by only single USB type-C port of your computer. Running more devices simultaneously will cause more working voltage’s drop which might cause the devices to work abnormally. For example, the external hard drive and solid-state drive are the devices required to work at stable working voltage. Therefore, we would suggest that you do not run them with other devices and do not use multiple external drives at the same time.
– If you encounter problems under this condition, please remove all devices or left fewer devices on the hub first and then reconnect the USB-C cable to your computer that will restore the hub back to normal. And please connect the USB-A connector on cable to USB 3.0 port of computer for more stable working power.
SPECIFICATIONS
| SPECIFICATIONS | |
| Model Number | DA-UC7HUB-GE1 |
| EAN | 4710578830171 |
| Material | Steel,Plastic,Rubber |
| Dimensions (WxDxH) | 140 x 75 x 129-164mm (5.5 x 2.9 x 5.1-6.5 inches), the height would vary with the thickness of tabletop |
| Mounting | Clamped on 15-50mm tabletop |
| Cable Length | 1.5 meter |
| System Requirement | Computer with USB Type-C and Type-A ports Compatible OS : Windows 10 / Windows 8.1 / Windows 8 Window 7 / macOS / Linux |
| WARRANTY | |
| Warranty | I 2 Years |
DEZCTOP WARRANTY POLICY
Version: 1.0 2019/10/31
- WHAT IS COVERED
This warranty only covers DEZCTOP products which you purchase from an authorized DEZCTOP reseller. This warranty is limited to the original purchaser and is non-transferable. - WARRANTY PERIOD
All DEZCTOP products carry a 2-year warranty from the date of purchase. Proof of purchase is required for warranty service. - WHAT IS NOT COVERED
This warranty does not cover the following:
> any product or serial number/warranty sticker modification applied without permission from DEZCTOP;
> any damage that is not a manufacturing defect;
> damage, deterioration or malfunction resulting from: accident, abuse, misuse, neglect, fire, water, lightning, or other acts of nature, unauthorized product modification or failure to follow instructions included with the product;
> any improper installation, unauthorized alternations or modifications, or repair or attempted repair by anyone not authorized by DEZCTOP;
> any other cause not related to a product defect in materials or workmanship;
> shipping or transport damage (claims must be made with the carrier);
> wear and tear from normal use.
DEZCTOP does not warrant that this product will meet your requirements. It is your responsibility to determine the suitability of this product for your purpose. - EXCLUSION OF DAMAGES (DISCLAIMER)
DEZCTOP’s sole obligation and liability under this warranty is limited to the repair or replacement of a defective product at our option. DEZCTOP shall not, in any event, be liable for any incidental or consequential damage, including but not limited to damages resulting from interruption of service and loss of data, business, or for liability in tort relating to this product or resulting from its use or possession. - LIMITATIONS OF IMPLIED WARRANTIES
There are no other warranties, expressed or implied, including but not limited to those of merchantability or fitness for a particular purpose. The duration of implied warranties is limited to the warranty period specified in Paragraph II. - TO OBTAIN TECHNICAL SUPPORT.
If you have already referenced the user guide of your products and still need help, please contact us via [email protected] or check FAOs (in Supports) on DEZCTOP website dezctop.com. - FOR WARRANTY SERVICE
Global warranty is not currently available.
In the event that warranty repair or replacement is necessary, DEZCTOP will request and you must provide proof of purchase (store receipt or invoice) in order to receive warranty service. If your product needs to be returned or repair within the warranty period, please do so through the retailer or distributor from whom you purchased the product. If you can no longer return the product to your dealer, please contact DEZCTOP Customer Support for assistance. Please note, proof of purchase from an authorized DEZCTOP retailer is required for all warranty servicing.
SUPPORT & SERVICE
If you have any other questions or problems with DEZCTOP product you purchased, please contact us by e-mail DEZCTOP Customer Support ([email protected]).
Please include a detailed explanation and take some photos of your problem and your proof of purchase.
For comments and suggestions, you can also e-mail [email protected].
For more information about DEZCTOP, please visit us online.
DEZCTOP Website: dezctoo.com
DEZCTOP Customer Support: [email protected]
DEZCTOP Website: dezctop.com
Warranty & FAQs: Supports on dezctop.com




















