anko 7-in-1 USB-C Hub 42953296

Please read all the information carefully before you use the device to avoid accidents and keep it for future reference.
Product Introduction
This product is a multi-functional extension of USB-C HUB, compatible with USB 3.1 type-c interface of mobile phones, tablets, laptops and computers. It supports putting pictures, videos, films and sounds from computers, tablets and mobile phones on display devices such as TVS and projectors. USB port for charging, data reading and writing. Micro SD and SD card slot for data reading and writing.
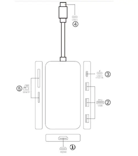
Product port instructions
Product Parameters
- HDMI
4K*2K (3840*2160), Downwards Compatible with 1080P, 720P etc. - USB Port * 3
High speed USB, power supply up to 4.5W max - USB-C female port
20V@5A, Support max 100W power adaptor, Input only - USB-C Male:
Make sure that the host USB-C port on your device complies with the USB3.0/3.1Specificcation - SD/MicroSD card reader
Support multiple types of MicroSD and SD cards.
Caution:
- Plug and play, no need to install drivers and Settings.
- The operating temperature is about 45°
- When using the product, please connect the charger in order to avoid losing date by running out of battery.
Compatible Device- Computer/Laptop
Apple: MacBook 12”、MacBook 2017/2018/2019、MacBook Air、iPad Pro 11、iPad Pro 12.9 Google: Chrome Book Pixels/Pixel Book Pen
HP: OMEN / EliteBook 1050G1、EliteBook Folio G1/1050G1/840G5 / 14-ce3083TX
Samsung: Note Book Series、Galaxy Book Series
Lenovo: Y7000/Y7000P/Y9000K/Y9000X、YOGA6 Pro、ThinkPad X1 Carbon、Yoga、New Pro13、 New Ari14
Microsoft: Surface Book2/Surface Go/ Surface Lap 3/ Surface Pro 7/ Surface Pro X
Compatible Device- Phone
Samsung: S20、S10、S10+、S9、S9+、S8、S8+、Note 8、Note 9、Note 10、Note 10+
Huawei: Mate 40 / Mate 30/30Pro/30RS、Mate20/20Pro/20X/20RS、P30/P30Pro、P20/P20Pro、Mate10/Mate10Pro、Honor V20、Honor Note10
Microsoft: Microsoft 950、Microsoft 950XL




















