43155835 8-in-1
USB Hub, Standand Charger
User Manual
43155835 8-in-1 USB Hub Stand and Charger
Artwork Proof Date: 03.3.2022
PAPER:
80gsm
Bright white uncoated paper
PRINT COLOURS:![]()
PRINT FINISH:
Double sided
Please read all the information carefully before you use the device to avoid accidents and keep it for future reference.
PRODUCT INTRODUCTION
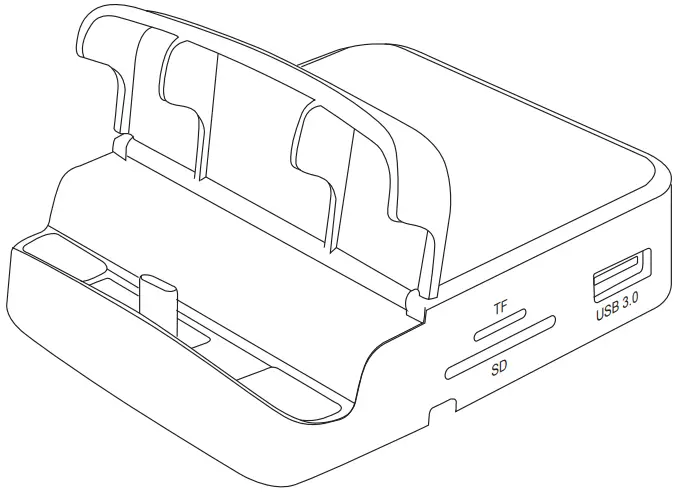
This product is a multi-functional HUB, it supports putting pictures, videos, films and sounds from computers, tablets and mobile phones on display devices such as TVs and projectors. USB ports, TF and SD card slots can be used for data transfer. USB-C dock can also be used for charging.
PRODUCT PARAMETERS

- — Type-C dock
- — USB 2.0 ports
- — TF card slot
- — SD card slot
- — USB 3.0 port
- — Type-C input
- — HDMI port up to Ultra HD 4K (3840×2160)
COMPATIBLE DEVICE
| PC | |
| Apple | 12 inch Macbook (2015-2017)/Macbook A1534 (2017)/iMac (2017-2019)/iMac pro (2017-2019)/Mac mini (2018)/ Macbook Pro (2016-2019)/Mac mini/MacBook Air (2018-2019) |
| Huawei | MateBook X/MateBook XPro/Mate Book E/ MateBook/MateBook 13/MateBook 14/MateBook D/MatePad Pro/MagicBook Pro2020/MagicBook |
| Samsung | NoteBook series/Galaxy series |
| Microsoft | Surface Book 2/Surface Go |
| Mobile phone | |
| Huawei | Mate 10/10 Pro/20/20 Pro/20 RS/ Mate 20 X/30/30Pro/40/40 Pro P20/P20 Pro/P30/P30 Pro/P40/P40 Pro/P40 Pro+ Nova 5/5i/5 Pro/5i Pro Honor Note 10/Note V20 |
| Samsung | S8/S8 plus/S9/S9 plus/S10/S10 plus/320/320 ultra/21/21 ultra /Note8/Note9/Note10/Note20 series/Galaxy Z Flip |
| Tablet | |
| Apple | 2018 Apple iPad Pro 11 inch/iPad Pro 12.9 inch |
| Samsun g | Galaxy Tab S7/S6/Tab S5e/Tab A 10.5/Tab S4/Tab S3 9.7 /Galaxy Book Flex |
12 month warranty
Thank you for your purchase from Kmart.
Kmart Australia Ltd warrants your new product to be free from defects in materials and workmanship for the period stated above, from the date of purchase, provided that the product is used in accordance with the accompanying recommendations or instructions where provided. This warranty is in addition to your rights under the Australian Consumer Law. Kmart will provide you with your choice of a refund, repair or exchange (where possible) for this product if it becomes defective within the warranty period.
Kmart will bear the reasonable expense of claiming the warranty.
This warranty will no longer apply where the defect is a result of alteration, accident, misuse, abuse or neglect.Please retain your receipt as proof of purchase and contact our Customer Service Centre on 1800 124 125 (Australia) or 0800 945 995 (New Zealand) or alternatively, via Customer Help at kmart.com.au for any diffculties with your product. Warranty claims and claims for expense incurred in returning this product can be addressed to our Customer Service Centre at 690 Springvale Rd, Mulgrave Vic 3170.
Our goods come with guarantees that cannot be excluded under the Australian Consumer Law. You are entitled to a replacement or refund for a major failure and compensation for any other reasonably foreseeable loss or damage. You are also entitled to have the goods repaired or replaced if the goods fail to be of acceptable quality and the failure does not amount to a major failure. For New Zealand customers, this warranty is in addition to statutory rights observed under New Zealand legislation.
WARNING › Do not dispose of unit in fire or water. › Never attempt to disassemble and reassemble. Waste electrical products should not be disposed of with household waste, please recycle where facilities exist. Check with your local authority for recycle advice. › Keep your device and all accessories out of reach of children and animals. Small parts may cause choking or serious injury if swallowed. › Avoid exposing your device to very cold or very hot temperatures (below 0 C or above 45 C). › Extreme temperatures can cause deforming of the device and reduce the charging capacity and life of your device.
› Do not allow your device to get wet, liquids can cause serious damage. Do not handle your device with wet hands.
All rights reserved.

















