
ELECTRIC BLOWER +
VACUUM + MULCHER
13-AMP | 17:1 MULCHING RATIO
OPERATOR’S MANUAL
A Division of Snow Joe®, LLC Model SBJ603E Form No. SJ-SBJ603E-880E-MR7
IMPORTANT!
Safety Instructions
All Operators Must Read These Instructions Before Use
Any electrical appliance can be dangerous if used incorrectly. Some of the safety precautions given in this manual apply generally to many appliances. Other warnings are specific to the use of this electric blower vac.
Always follow these safety guidelines. Failure to do so may result in serious bodily injury or death.
DANGER! This indicates a hazardous situation, which, if not followed, will result in serious injury or death.
WARNING! This indicates a hazardous situation, which, if not avoided, could result in serious injury or death.
CAUTION! This indicates a hazardous situation, which, if not avoided, could result in minor or moderate injury.
General Safety
FOR HOUSEHOLD USE ONLY
Before using, be sure that everyone using this tool reads and understands all safety instructions and other information contained in this manual. Save this manual and review it frequently prior to using this tool and when instructing others on the proper operating procedures.
CAUTION! Wear appropriate hearing protection during use. After long periods of extended use, the noise generated from this appliance may cause hearing loss if your ears are not properly protected.
WARNING! When using electric yard tools, basic safety precautions should always be followed to reduce the risk of fire, electric shock and personal injury, including the following:
1. Keep work area clean and well-lit – Cluttered, dark areas invite accidents.
2. Replacement parts – When servicing this unit, use only identical replacement parts. Replace or repair damaged cords immediately.
3. Keep children, bystanders and pets away – All spectators, including pets, should be kept a safe distance away from the work area.
4. Dress properly – Do not wear loose clothing or jewelry as such articles can become caught in moving parts. Wear a protective covering to contain long hair. Wearing rubber gloves and substantial non-slip footwear is recommended when working outdoors.
5. Extension cords – To prevent electric shock, use only with an extension cord suitable for outdoor use.
6. Avoid accidental starting – Do not carry the blower vac with your finger on the switch. Make sure the switch is off before plugging in the unit.
DANGER! Do not manually place objects into the vacuum tube while operating the unit as this can seriously damage the unit and/or harm the operator. Keep both hands on the handles while the power is on.
DO NOT ATTEMPT to remove material or hold material to be vacuumed when the blower vac is on. Make sure the blower vac is off when clearing jammed material from the vacuum tube. Do not pick up the blower vac by the tube or attempt to carry the unit by the tube.
CAUTION! Moving parts will continue to run for several seconds after turning off the machine.
7. Do not abuse the cord – Never carry the blower vac by the cord or yank the cord to disconnect it from the receptacle. Keep the cord away from heat, oil and sharp edges.
8. Moving parts – Keep hands and feet away from moving parts. Keep guards in place and in proper working order.
9. Do not force the tool – It will perform better with less likelihood of personal or mechanical injury if it is used at the rate for which it was designed.
10. Wear personal protective equipment – When using this tool, wear safety glasses with side shields or goggles to provide necessary eye protection. Wear ear defenders to prevent hearing damage. Use a face or dust mask if the work environment is dusty.
11. Disconnect the tool – Disconnect the blower vac from the power supply when it is not in use, before servicing it, when changing accessories and when performing any other maintenance task.
12. Store idle tool indoors – When not in use, the blower vac should be stored indoors in a dry and high or locked-up place out of the reach of children.
13. Maintain the blower vac with care – Keep the blower tube and the fan area clear and clean for optimal performance and to reduce the risk of injury. Inspect the extension cord periodically and immediately replace it if damaged. Keep the handles dry, clean and free from oil and grease. Follow the additional recommendations described in the maintenance section of this manual.
14. Ground fault circuit interrupter (GFCI) protection should be provided on the circuit(s) or outlet(s) that are to be used for the blower vac. Receptacles are available having builtin GFCI protection and may be used for this measure of safety.
15. Use the right tool – Do not use the tool for any job except that for which it is intended.
16. Double insulation – Double insulation eliminates the use of the usual three-wire grounded power cords, thereby providing a measure of safety during the operation of electric power tools. In a double insulated appliance, all exposed metal parts are isolated from the internal metal motor components with protecting insulation. Double insulation tools do not need to be grounded.
NOTE: The double insulated system is intended to protect the user from shock resulting from a break in the tool’s internal insulation. Observe all normal safety precautions to avoid electrical shock.
17. Avoid dangerous environments – Do not use the blower vac in rain, damp or wet locations. Do not operate the blower vac in gaseous or explosive atmospheres or use the blower vac to pick up flammable or combustible liquids. Motors in these tools normally spark, and the sparks might ignite fumes.
18. Stay alert – Watch what you are doing. Use common sense. Do not operate the blower vac when you are tired or under the influence of drugs, alcohol or other medication.
© 2021 by Snow Joe®, LLC
All rights reserved. Original instructions.
SAVE THESE INSTRUCTIONS
Additional Safety Instructions
- Use extra care when cleaning on stairs.
- Keep firm footing and maintain good balance at all times.
Do not overreach. Overreaching can result in loss of balance. - Turn off all controls before unplugging the tool.
- Do not use the tool if the power switch does not turn it ON or OFF. Any tool that cannot be controlled with the switch is dangerous and must be repaired.
- Do not use the tool with a damaged plug. If the tool is not working as it should or has been dropped, damaged, left outdoors or dropped into water, return it to an authorized Snow Joe® + Sun Joe® dealer or contact the Snow Joe® + Sun Joe® customer service department at 1-866-SNOWJOE (1-866-766-9563).
- Do not pick up anything that is burning or smoking, such as cigarettes, matches or hot ashes.
- Do not use without the dust bag and/or filters in place.
- Carefully inspect your appliance prior to use and follow all label and marking instructions.
- Keep the end of the blower tube away from your face and body.
- Always unplug this appliance before connecting or disconnecting the vacuum hose.
- Do not use for wet material.
- Keep all parts of your body away from any moving parts and all hot surfaces of the unit.
- Do not put any object into the tool’s openings. Do not use the tool with any opening blocked; keep openings free of dust, lint, hair or any other object that may reduce air flow.
- Check the work area before each use. Remove all objects such as rocks, broken glass, nails, wire or string which can be thrown or become entangled in the machine.
- Service on the product must be performed by qualified repair personnel only. Service or maintenance performed by unqualified personnel could result in injury to the user or damage to the product.
- This blower vac is intended for residential use only.
Commercial use of this product is prohibited and will void the manufacturer’s warranty. - Never run the unit without the proper equipment attached. Always ensure the blower tubes are properly installed.
Specific Safety Rules
For Blower Vacs
- This tool has been designed for blowing/collecting as well as vacuuming/shredding dry leaves and other dry garden rubbish, such as grass and twigs.
- When operating the unit as a blower, never point the blower nozzle in the direction of people or pets or in the direction of windows. Use extra caution when blowing debris near solid objects, such as trees, automobiles and walls.
- Be sure to secure the unit when transporting it.
- Never douse or squirt the unit with water or any other liquid.
Clean the unit after each use as described in the cleaning and storage section.
Electrical Safety
1. Ground fault circuit interrupter (GFCI) protection should be provided on the circuit(s) or outlet(s) to be used for this electric blower vac. Receptacles are available having built-in GFCI protection and may be used for this measure of safety.
2. Make sure that the mains voltage matches that listed on the unit’s rating label. Using the improper voltage can damage the motor and injure the user.
3. To prevent electric shock, use only with an extension cord suitable for outdoor use, such as SW-A, SOW-A, STW-A, STOW-A, SJW-A, SJOW-A, SJTW-A, or SJTOW-A.
Before use, check that the extension cord is in good condition. When using an extension cord, make sure to use one heavy enough to carry the current your product will draw. An undersized cord will cause a drop in line voltage resulting in loss of power and overheating.
Electric shock may cause SEVERE INJURY or DEATH. Heed these warnings:
EXTENSION CORD CHART | ||
| Extension Cord Length | Up to 50 ft (15 m) | +50 ft – 100 ft (+15 m – 30 m) |
| Wire Gauge (A.W.G.): | 14 | 12 |
4. To reduce the risk of electric shock, this appliance has a polarized plug (i.e. one blade is wider than the other). Use this appliance only with a polarized UL-, CSA- or ETL-listed extension cord recommended for outdoor, all-weather use, such as the Snow Joe® + Sun Joe® SJTW-A 14-gauge 50-foot extension cord with lighted end (Model PJEXT50-B). Visit sunjoe.com to purchase this extension cord online or, to order by phone, call 1-866-SNOWJOE (1-866-766-9563).
The appliance plug will fit into a polarized extension cord only one way. If the appliance plug does not fit fully into the extension cord, reverse the plug. If the plug still does not fit, obtain a correct polarized extension cord. A polarized extension cord will require the use of a polarized wall outlet. The extension cord plug will fit into the polarized wall outlet only one way. If the plug does not fit fully into the wall outlet, reverse the plug. If the plug still does not fit, contact a qualified electrician to install the proper wall outlet. Do not modify the appliance plug, extension cord receptacle or extension cord plug in any way.
5. To prevent the appliance cord from disconnecting from the extension cord during operation, make a knot with the two cords as shown in Table 1.
Table 1. Method of Securing Extension Cord

- Cord set
- Appliance cord
(A) Tie cord as shown

(B) Connect plug and receptacle
6. Do not abuse the cord. Never pull the blower vac by the cord or yank the cord to disconnect it from the receptacle. Keep the cord away from heat, oil and sharp edges.
Double-Insulated Appliances
In a double-insulated appliance, two systems of insulation are provided instead of grounding. No grounding means is provided on a double-insulated appliance, nor should a means for grounding be added to the appliance. Servicing a double-insulated appliance requires extreme care and knowledge of the system, and should be performed only by qualified service personnel at an authorized Snow Joe® + Sun Joe® dealer. Replacement parts for a double-insulated appliance must be identical to the parts they replace. A double-insulated appliance is marked with the words “Double Insulation” or “Double Insulated.” The symbol
(square within a square) may also be marked on the appliance.
DOUBLE-INSULATED: GROUNDING NOT REQUIRED. WHEN SERVICING, USE ONLY IDENTICAL REPLACEMENT PARTS.
This electric blower vac is double-insulated, eliminating the need for a separate grounding system. Use only identical replacement parts. Read the instructions before servicing double-insulated appliances. Use this blower vac only as described in this manual.
Safety Symbols
The following table depicts and describes safety symbols that may appear on this product. Read, understand and follow all instructions on the machine before attempting to assemble and operate.
| Symbols | Descriptions | Symbols | Descriptions |
![]() | READ THE OPERATOR’S MANUAL(S) – Read, understand and follow all instructions in the user manual(s) before attempting to assemble and operate. | ![]() | Keep bystanders and children a safe distance away. |
![]() | SAFETY ALERT – Indicates a precaution, a warning or a danger. | ![]() | WARNING! Do not expose the unit to rain or wet conditions. |
![]() | Beware of flying objects and debris. | ![]() | Wear hearing protection. Wear eye protection. Wear breathing protection. |
![]() | DANGER! Rotating blades pose a serious risk of injury. Keep hair, clothing, and all body parts away from the air intake or any openings. Secure hair above shoulders and behind head. Do not let your hair or clothing get drawn into the appliance. Failure to keep hair, clothing, or body parts away from air intake could result in personal injury. | ![]() | The rotating part will continuously run for several seconds after you turn off the machine. |
![]() | WARNING! Turn the machine OFF and disconnect it from the power supply before inspecting, cleaning, changing accessories or conducting any other maintenance task. | ||
![]() | Immediately remove the plug from the mains if the power cable is damaged, frayed or entangled. Always keep the power cable away from heat, oil and sharp edges. | ![]() | DOUBLE INSULATION – When servicing, use only identical replacement parts. |
Know Your Electric Blower + Vacuum + Mulcher
Read the owner’s manual and safety instructions carefully before operating the electric blower + vacuum + mulcher.
Compare the illustration below to the electric blowe + vacuum + mulcher in order to familiarize yourself with the location of the various controls and adjustments. Save this manual for future reference.
1. Variable blower speed control (speed settings 1 to 6)
2. Cord retainer
3. Appliance cord
4. Vacuum + mulcher inlet cover
5. Vacuum + mulcher inlet cover lock button
6. Rear vacuum + mulcher tube
7. Front vacuum + mulcher tube
8. Strap holder
9. Collection bag
10. Handle
11. ON/OFF switch
12. Auxiliary handle
13. Tube release button
14. Blower tube
15. Blower concentrator nozzle

Technical Data
Rated Voltage……………………………………. 120V ~ 60 Hz
Power ……………………………………………….. 13A
No Load Speed ………………………………… 10000 – 16000 rpm
Impeller…………………………………………….. Heavy-duty nylon
Air Speed Max ………………………………….. 240 mph (386 km/hr)
Blower Air Flow Max ………………………. 300 cfm (8.5 m³/min)
Vacuum Air Flow Max ……………………. 421 cfm (11.9 m³/min)
Variable Speed Settings …………………… 6
Mulching Ratio ………………………………. 17:1
Mode Conversion…………………………… Blower to Vacuum + Mulcher
Bag Capacity…………………………………… 12 gal (45 L)
Blower Weight ……………………………….. 6.4 lbs (2.9 kg)
Vaccum + Mulcher Weight …………… 8.8 lbs (4 kg)
Unpacking
Carton Contents
- Electric blower + vacuum + mulcher
- Blower tube
- Blower concentrator nozzle
- Front vacuum + mulcher tube
- Rear vacuum + mulcher tube
- Collection bag
- Manual with registration card
1. Carefully remove the electric blower + vacuum + mulcher and check to see that all of the above items are supplied.
2. Inspect the product carefully to make sure no breakage or damage occurred during shipping. If you find damaged or missing parts, DO NOT return the unit to the store. Please call the Snow Joe® + Sun Joe® customer service center at 1-866-SNOWJOE (1-866-766-9563).
NOTE: Do not discard the shipping carton and packaging material until you are ready to use the electric blower + vacuum + mulcher. The packaging is made of recyclable materials. Properly dispose of these materials in accordance with local regulations.
IMPORTANT! The equipment and packaging material are not toys. Do not let children play with plastic bags, foils or small parts. These items can be swallowed and pose a suffocation risk!
Assembly
WARNING! To avoid serious personal injury, read and understand all safety instructions provided.
WARNING! Do not connect to power supply until assembly is complete. Failure to comply could result in accidental starting and possible serious personal injury.
WARNING! Before performing any maintenance, make sure the tool is unplugged from the power supply. Failure to heed this warning could result in serious personal injury.
WARNING! To prevent serious personal injury, make sure the switch is in the OFF (O) position, the unit is unplugged and the impeller has come to a complete stop before attaching or removing tubes.
Assemble as a Blower
1. Slide the blower tube forward until the notched area on the blower housing clicks into the slot on the blower tube (Fig. 1).
2. Insert the concentrator nozzle onto the end of the blower tube until it locks into position (Fig. 1).
NOTE: The concentrator nozzle is used to increase air flow in tight areas (i.e around flower beds, under decks, etc.).

- Notched area
- Slot
- Blower tube
- Concentrator nozzle
- Air outlet
3. Before using the blower function, securely fasten the inlet cover over the air inlet by closing the inlet cover until the lock button snaps into the locked position (Fig. 2).

- Inlet cover
- Inlet cover lock button
4. To remove the blower tube, turn the ON/OFF power switch to the OFF (O) position and disconnect the tool from the power supply.
5. Press the tube release button and remove the blower tube (Fig. 3).

- ON/OFF switch
- Tube release button
- Blower tube
Assemble as a Vacuum + Mulcher
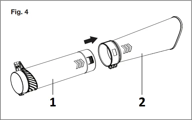
1. Slide the front and rear vacuum + mulcher tubes together until the lock button engages (Fig. 4).

- Rear tube
- Front tube
2. Slide the inlet cover lock button forward to disengage the inlet cover. Hold the cover open (Fig. 5).

- Inlet cover
- Inlet cover lock button
3. With the blower tube removed, insert the “hooked” side end of the mulcher tube into the rear clip on the unit. Securely fasten the mulcher tube by pushing the “wedged” side end of the mulcher tube up until the lock button snaps into the locked position (Fig. 6).

- Rear clip + Hook side
- Wedged side
4. Insert the collection bag adaptor into the blower air outlet until the collection bag is securely fastened (Fig. 7), then clip the bag to the strap holder. Simply press the tube release button to remove the bag (Fig. 8).

- Air outlet
- Collection bag adaptor
- Collection bag

- Tube release button
5. To remove the vacuum + mulcher tube assembly, slide the inlet cover lock button to unlock, then remove the tube assembly from its housing (Fig. 9).
NOTE: It may be necessary to remove the blower tube or vacuum + mulcher tubes to clear a blocked tube or impeller. Make sure to disconnect the unit from the power supply before attempting to clear any obstructions.

- Inlet cover lock button
Operation
Connecting to a Power Source
1. Secure the extension cord to the motor housing using the cord retainer located at the rear of the blower. Securing the extension cord in this manner prevents accidental removal of the electrical cord during operation (Fig. 10).
2. Plug the female end of the electrical cord into the receptacle at the back of the unit.

- Cord retainer
- Extension cord
Starting and Stopping
1. To start the electric blower + vacuum + mulcher, slide the ON/OFF switch to position (I) (Fig. 11).
2. To stop the unit, slide the ON/OFF switch to position (O) (Fig. 11).

Speed Control
This unit is equipped with six variable speed settings (1 to 6) (Fig. 12).
- Turn the speed dial to position “1” or “2” for LOW speeds.
- Turn the speed dial to position “3” or “4” for MEDIUM speeds.
- Turn the speed dial to position “5” or “6” for HIGH speeds.

- Variable blower speed control
Operating Tips
WARNING! Use the blower + vacuum + mulcher only in daylight or good artificial light.
- When using the blower vac, plant your feet firmly on the ground and place one hand on the unit handle and the other hand on the auxiliary handle.
- Wear personal protective equipment during your work session. This includes boots, safety glasses/goggles, ear defenders, long pants and a long-sleeve shirt.
- When using the unit as mulcher, make sure the bag is properly installed and zipped closed.
- Make sure the blower tube nozzle is not directed at anybody or any loose debris before starting the unit.
- Verify that the unit is in good working condition. Make sure the tubes and guards are in place and secure.
- Ensure that the vacuum + mulcher inlet cover is completely closed and locked.
- Keep a firm grip on both the front and rear handle or grips.
- To reduce the risk of hearing loss associated with sound level(s), hearing protection is required.
- Use the shoulder strap when using the unit as a mulcher.
- Operate power equipment only at reasonable hours–not early in the morning or late at night when people might be disturbed. Comply with times listed in local ordinances. Usual recommendations are 9:00 am to 5:00 pm, Monday through Saturday.
- To reduce noise levels, limit the number of pieces of power equipment used at any one time and operate power blowers at the lowest possible speed setting necessary to do the job.
- Use rakes and brooms to loosen debris before blowing.
- In dusty conditions, slightly dampen surfaces.
- Conserve water by using power blowers instead of hoses for many lawn and garden applications, including areas such as gutters, screens, patios, grills, porches and gardens.
- Blow debris into a safe, open area away from children, pets, open windows or freshly washed cars.
- Clean up after using leaf blowers and other lawn equipment. Dispose of debris appropriately.
WARNING! To avoid serious personal injury, wear ear defenders, goggles or safety glasses at all times when operating this unit. Wear a face mask or dust mask in dusty locations.
WARNING! To prevent serious personal injury or damage to the unit, make sure the blower tube or the mulcher tubes and the bag are in place before operating the unit.
Air Vents
Never cover air vents. Keep them free from obstructions and debris. They must always remain clear for proper motor cooling.
WARNING! To avoid serious personal injury, do not wear loose fitting clothing or articles such as scarves, strings, chains, ties, etc., that could get drawn into the air vents. To make sure long hair does not get drawn into the air vents, tie back long hair.
Blower Mode
- Hold the blower firmly with one hand on the main handle and the other hand on the auxiliary handle. Sweep from side to side with the nozzle several inches above the ground or floor (Fig. 13).

- Slowly advance the unit, keeping the accumulated pile of debris in front of you. Most dry blowing operations are better suited to low speeds rather than high speeds. High speed blowing is best for moving heavier items like large debris or gravel.
Vacuum + Mulcher Mode
- Once you have blown the debris/leaves into a pile, you can convert to vacuum mode to collect the debris.
- With a firm hold on the vac, tilt the mulcher tubes 2 in – 4 in. (5 cm – 10 cm) from the ground and use a sweeping action to collect light debris. The debris will flow into the bag. Items such as small leaves and twigs will be mulched as they pass through the fan housing. For longer bag life and increased performance, empty the bag frequently (Fig. 14).

- As the bag fills, suction power will decrease. When this happens, turn the power switch to the OFF (O) position and unplug the unit from the power supply. Remove the bag and empty the debris.
- To remove the bag, press the tube release button (Fig. 8). To empty, hold the plastic handle and grab the nylon handle on the underside of the bag. Turn the bag upside down and shake out any debris and leaves.
WARNING! Never remove the collection bag without first turning the power switch to the OFF (O) position and unplugging the unit from the main power source.
WARNING! Do not use in vacuum + mulcher mode without the vacuum tubes and collection bag in place.
Clearing a Blocked Tube/Impeller
WARNING! To avoid serious personal injury, be sure the unit is OFF and unplugged before clearing the impeller.
WARNING! To avoid serious personal injury, always wear gloves to protect yourself from the impeller blades or other sharp objects.
During the vacuuming process, certain objects such as cloth, rope or large diameter sticks may obstruct the fan and block the motor. A thermal protection device, which is built into the blower vac, will cut off the electricity to the motor to prevent damage from overheating.
In the event an obstruction occurs and power is curtailed:
1. Slide the ON/OFF switch down to the OFF (O) position until the unit comes to a complete stop.
2. Unplug the unit.
3. Remove the blower tube or vacuum + mulcher tubes and the bag.
4. Using protective gloves, carefully remove the material blocking the tube or impeller. Inspect the blades to ensure no damage has occurred. Rotate the impeller blades by hand to ensure the blockage is completely cleared.
5. Reinstall the blower tube or vacuum + mulcher tubes and the bag.
6. Wait 3 minutes for the motor to cool.
7. Plug the unit back into the power supply and turn the ON/ OFF switch to ON (I). The blower vac will resume normal function.
Maintenance
To order genuine replacement parts or accessories for the Sun Joe® SBJ603E electric blower + vacuum + mulcher, please visit sunjoe.com or contact the Snow Joe® + Sun Joe® customer service center at 1-866-SNOWJOE (1-866-766-9563).
WARNING! Disconnect the extension cord before performing any maintenance task.
If the extension cord is plugged into the appliance, someone could accidentally turn on the unit while you are performing maintenance on it, which could result in serious personal injury.
Cleaning the Unit
WARNING! To avoid serious personal injury, always turn the unit off and unplug it before cleaning or servicing.
Use a small brush to clean the outside of the unit. Do not use strong detergents, household cleaners that contain aromatic oils (e.g. pine and lemon) or harsh solvents such as kerosene as these substances can damage the plastic housing or the handles. Wipe off any moisture with a soft, dry cloth.
1. Empty the bag after each use to avoid deterioration and obstructing air flow, which will reduce the performance of the mulcher.
2. Wear eye protection and a dust mask. Clean the bag as needed. Turn the bag inside out after initial emptying and vigorously shake out dust and debris.
3. Wash the bag once a year, or more often if needed. Follow the steps below:
i. Remove the bag.
ii. Turn the bag inside out.
iii. Hang it up.
iv. Hose it down thoroughly.
v. Leave it hanging to dry.
vi. Turn the bag right-side up and reinstall.
Storage
1. Examine the electric blower + vacuum + mulcher thoroughly for worn, loose or damaged parts. Should you need to repair or replace a part, contact an authorized Snow Joe® + Sun Joe® dealer or call the Snow Joe® + Sun Joe® customer service center at 1-866-SNOWJOE (1-866-766-9563) for assistance.
2. Examine the extension cord thoroughly for signs of excess wear or damage. If it is worn or damaged, replace it immediately.
3. Disconnect the extension cord from the electric blower + vacuum + mulcher before storing.
4. Store the cord with the electric blower + vacuum + mulcher indoors in a clean, dry and locked location out of the reach of children and animals.
NOTE: Devices for retaining extension cords are commercially available should you wish to purchase one.
Service and Support
If your Sun Joe® SBJ603E 3-in-1 electric blower + vacuum + mulcher requires service or maintenance, please call the Snow Joe® + Sun Joe® customer service center at 1-866-SNOWJOE (1-866-766-9563).
Model and Serial Numbers
When contacting the company, reordering parts or arranging service from an authorized dealer, you will need to provide the model and serial numbers, which can be found on the decal located on the housing of the unit. Copy these numbers into the space provided below.
Record the following numbers from the housing or handle of your new product:
Model #:![]()
Serial #:![]()
Troubleshooting
WARNING! Always unplug the power cord before performing any adjustments, maintenance or repairs to your electric blower vac.
| Problem | Possible Cause | Solution |
| Unit will not blow or mulch | 1. Bag full 2. Blocked tube 3. Blocked impeller 4. Dirty bag 5. Torn bag 6. Bag unzipped 7. Unit unplugged | 1. Empty the bag. 2. Clear the blockage. 3. Clear the blockage. 4. Clean the bag. 5. Replace the bag. 6. Zip up the bag. 7. Plug into an outlet or an extension cord. |
| Unit will not start | 1. Unit is unplugged. 2. Power/speed switch is in the OFF (O) position. 3. Defective power switch. 4. Vac tubes are not correctly installed. 5. Intake gate/cover is not closed. 6. House circuit may have tripped. | 1. Check cord to make sure it is plugged into an electrical outlet. 2. Slide the power switch to the ON (I) position and select your desired speed setting with the speed control switch. 3. Call the Snow Joe® + Sun Joe® customer service center at 1-866-SNOWJOE (1-866-766-9563). 4. Check vac tubes and ensure that they are correctly installed to allow the switch to be engaged. 5. Ensure that gate/cover is fully closed and locked. 6. Check wall circuit breaker panel and reset if necessary. |
Optional Accessories
WARNING! ALWAYS use only authorized Snow Joe® + Sun Joe® replacement parts and accessories. NEVER use replacement parts or accessories that are not intended for use with this electric blower vac. Contact Snow Joe® + Sun Joe® if you are unsure whether it is safe to use a particular replacement part or accessory with your electric blower vac. The use of any other attachment or accessory can be dangerous and could cause injury or mechanical damage.
| Accessories | Item | Model |
| (1)
| 12-Gallon (45 L) collection bag | SBJ603E-BAG (For use with blower vac models SBJ603E + SBJ605E + SBJ606E-GA) |
| (2)
| 18-Gallon (68 L) collection bag | SBJ605E-BAG18 (For use with blower vac models SBJ603E + SBJ605E + SBJ606E-GA) |
| (3)
| Gutter cleaning blower attachment | SBJ6-GA (For use with blower vac models SBJ601E + SBJ603E + SBJ605E + SBJ606E-GA + iONBV) |
| (4)
| Universal wall bracket with mounting hardware | SJWB (Fits most Snow Joe® + Sun Joe® tools) |
| (5)
| Snow Joe® + Sun Joe® SJTW-A 14-gauge 50-foot extension cord with lighted end | PJEXT50-B |
NOTE: Accessories are subject to change without any obligation on the part of Snow Joe® + Sun Joe® to provide notice of such changes. Accessories can be ordered online at sunjoe.com or via phone by contacting the Snow Joe® + Sun Joe® customer service center at 1-866-SNOWJOE (1-866-766-9563).

SNOW JOE® + SUN JOE® CUSTOMER PROMISE
ABOVE ALL ELSE, Snow Joe, LLC (“Snow Joe”) is dedicated to you, our customer. We strive to make your experience as pleasant as possible. Unfortunately, there are times when a Snow Joe®, Sun Joe®, or Aqua Joe® product (“Product”) does not work or breaks under normal operating conditions. We think it’s important that you know what you can expect from us. That’s why we have a Limited Warranty (“Warranty”) for our Products.
OUR WARRANTY:
Snow Joe warrants new, genuine, powered and non-powered Products to be free from defects in material or workmanship when used for ordinary household use for a period of two years from the date of purchase by the original, end-user purchaser when purchased from Snow Joe or from one of Snow Joe’s authorized sellers with proof of purchase. Because Snow Joe is unable to control the quality of its Products sold by unauthorized sellers, unless otherwise prohibited by law, this Warranty does not cover Products purchased from unauthorized sellers. If your Product does not work or there’s an issue with a specific part that is covered by the terms of this Warranty, Snow Joe will elect to either (1) send you a free replacement part, (2) replace the Product with a new or comparable product at no charge, or (3) repair the Product. How cool is that!
This Warranty gives you specific legal rights, and you may also have other rights which vary from State to State.
PRODUCT REGISTRATION:
Snow Joe strongly encourages you to register your Product. You can register online at snowjoe.com/register, or by printing and mailing in a registration card available online from our website, or calling our Customer Service Department at 1-866-SNOWJOE (1-866-766-9563), or by e-mailing us at [email protected]. Failure to register your Product will not diminish your warranty rights. However, registering your Product will allow Snow Joe to better serve you with any of your customer service needs.
WHO CAN SEEK LIMITED WARRANTY COVERAGE:
This Warranty is extended by Snow Joe to the original purchaser and original owner of the Product.
WHAT IS NOT COVERED?
This Warranty does not apply if the Product has been used commercially or for non-household or rental applications. This Warranty also does not apply if the Product was purchased from an unauthorized seller. This Warranty also does not cover cosmetic changes that do not affect performance. Wearing parts like belts, augers, chains and tines are not covered under this Warranty, and can be purchased at snowjoe.com or by calling 1-866-SNOWJOE (1-866-766-9563).



































