
ELECTRIC JET BLOWER
8.5-AMP | VARIABLE SPEED CONTROL
OPERATOR’S MANUAL
A Division of Snow Joe®, LLC Model JB450E-RM Form No. SJ-JB450E-RM-880E-M-V1
THANKS FOR YOUR PURCHASE OF A REMANUFACTURED PRODUCT.
To make sure you get the most out of your product, be sure to register online at
sunjoe.com
to enjoy full product support.

IMPORTANT!
Safety Instructions
All Operators Must Read These Instructions Before Use
Any electrical appliance can be dangerous if used incorrectly. Some of the safety precautions given in this manual apply generally to many appliances. Other warnings are specific to the use of this electric blower.
Always follow these safety guidelines. Failure to do so may result in serious bodily injury or death.
DANGER! This indicates a hazardous situation, which, if not followed, will result in serious injury or death.
WARNING! This indicates a hazardous situation, which, if not avoided, could result in serious injury or death.
CAUTION! This indicates a hazardous situation, which, if not avoided, could result in minor or moderate injury.
General Safety
FOR HOUSEHOLD USE ONLY
Before using, be sure that everyone using this tool reads and understands all safety instructions and other information contained in this manual Save this manual and review it frequently prior to using this tool and when instructing others on the proper operating procedures.
CAUTION! Wear appropriate hearing protection during use. After long periods of extended use, the noise generated from this appliance may cause hearing loss if your ears are not properly protected.
WARNING! When using electric yard tools, basic safety precautions should always be followed to reduce the risk of fire, electric shock, and personal injury including the following:
1. Keep work area clean and well-lit – Cluttered, dark areas invite accidents.
2. Replacement parts – When servicing this unit, use only identical replacement parts. Replace or repair damaged cords immediately.
3. Keep children, bystanders, and pets away – All spectators, including pets, should be kept a safe distance away from the work area.
4. Dress properly – Do not wear loose clothing or jewelry as such articles can get caught in moving parts. Wear a protective covering to contain long hair. Wearing rubber gloves and substantial non-slip footwear is recommended when working outdoors.
5. Extension cords – To prevent electric shock, use only with an extension cord suitable for outdoor use.
6. Avoid accidental starting – Do not carry the blower with your finger on the switch. Make sure the switch is off before plugging in the unit.
7. Do not abuse the cord – Never carry the blower by the cord or yank the cord to disconnect it from the receptacle. Keep the cord away from heat, oil, and sharp edges.
8. Moving parts – Keep hands and feet away from moving parts. Keep guards in place and in proper working order.
9. Do not force the tool – It will perform better with less likelihood of personal or mechanical injury if it is used at the rate for which it is designed.
10. Wear personal protective equipment – When using this tool, wear safety glasses with side shields or goggles to provide necessary eye protection. Wear ear defenders to prevent hearing damage. Use a face or dust mask if the work environment is dusty.
11. Disconnect the tool – Disconnect the blower from the power supply when it is not in use, before servicing it, when changing accessories, and when performing any other maintenance task.
12. Store idle tool indoors – When not in use, the blower should be stored indoors in a dry and high or locked-up place out of the reach of children.
13. Maintain the blower with care – Keep the blower tube and the fan area clear and clean for optimal performance and to reduce the risk of injury. Inspect the extension cord periodically and immediately replace it if damaged. Keep the handle dry, clean, and free from oil and grease. Follow the additional recommendations described in the maintenance section of this manual.
14. Ground fault circuit interrupter (GFCI) protection should be provided on the circuit(s) or outlet(s) that are to be used for the blower. Receptacles are available having built-in GFCI protection and may be used for this measure of safety.
15. Use the right tool – Do not use the tool for any job except that for which it is intended.
16. Avoid dangerous environments – Do not use the blower in rain, damp, or wet locations.
17. Stay alert – Watch what you are doing. Use common sense. Do not operate the blower when you are tired or under the influence of drugs, alcohol, or other medication.
Additional Safety Instructions
- Do not use the blower in the rain or in a damp area.
- Use extra care when cleaning on stairs.
- Keep firm footing and maintain good balance at all times. Do not overreach. Overreaching can result in loss of balance.
- Turn off all controls before unplugging the tool.
- Do not use the tool if the power switch does not turn it ON or OFF. Any tool that cannot be controlled with the switch is dangerous and must be repaired.
- Do not use the tool with a damaged plug. If the tool is not working as it should or has been dropped, damaged, left outdoors, or dropped into water, return it to an authorized Snow Joe® + Sun Joe® dealer or contact the Snow Joe® + Sun Joe® customer service department at 1-866-SNOWJOE (1-866-766-9563).
- Carefully inspect your appliance prior to use and follow all label and marking instructions.
- Keep all parts of your body away from any moving parts and all hot surfaces of the unit.
- Do not put any object into the tool’s openings. no not use the tool with any opening blocked; keep openings free of dust, lint, hair, or any other object that may reduce air flow.
- Check the work area before each use. Remove all objects such as rocks, broken glass, nails, wire, or string, which can be thrown or become entangled in the machine.
- Service on the product most be performed by qualified repair personnel only. Service or maintenance performed by unqualified personnel could result in injury to the user or damage to the product.
- This blower is intended for residential use only. Commercial use of this product is prohibited and will void the manufacturer’s warranty.
- Never run the unit without the proper equipment attached. Always ensure the blower tube is properly installed.
- Always grasp the handle when operating the unit, only operate the machine in its intended orientation.
Specific Safety Rules For Blower
- The blower has been designed to clear light debris and leaves from hard surfaces – not for clearing grassed areas.
- When operating the unit, never point the blower nozzle in the direction of people or pets or in the direction of windows. Use extra caution when blowing debris near solid objects, such as trees, automobiles, and walls.
- Be sure to secure the unit when transporting it.
- Never douse or squirt the unit with water or any other liquid. Clean the unit after each use as described in the cleaning and storage section.
Electrical Safety
1. Ground fault circuit interrupter (GFCI) protection should be provided on the circuit(s) or outlet(s) to be used for this electric blower. Receptacles are available having Pat-in GFCI protection and may be used for this measure of safety.
2. Make sure that the mains voltage matches that listed on the unit’s rating label. Using the improper voltage can damage the motor and injure the user.
3. To prevent electric shock, use only with an extension cord suitable for outdoor use such as SW-A, SOW-A, STW-A, STOW-A, SJW-A, SJOW-A, SJTW-A, or SJTOW-A.
Before use, check that the extension cord is in good condition. When using an extension cord, make sure to use one heavy enough to carry the current your product will draw. For lengths less than 50 ft (15 m), a No.16 AWG (or greater) extension cord should be used. An undersized cord will cause a drop in line voltage resulting in loss of power and overheating.
| ||
Electric shock may cause SEVERE INJURY or DEATH. Heed these warnings:
EXTENSION CORD CHART | ||
Extension Cord Length | Up to 50 ft (15 m) | +50 ft – 100 ft (+15 m – 30 m) |
| Wire Gauge (A.W.G.): | 16 | 14 |
4. To prevent the appliance cord from disconnecting from the extension cord during operation, use the on-board cord restraint hook and/or make a knot with the two cords as shown in Table 1.
Table 1. Method of Securing Extension Cord

(A) Tie cord as shown
- Cord set
- Appliance cord

(B) Connect plug and receptacle
The appliance plug will fit into a polarized extension cord only one way. If the appliance plug does not fit fully into the extension cord reverse the plug. If the plug still does not fit, obtain a correct polarized extension cord A polarized extension cord will require the use of a polarized well outlet The extension cord plug will fit into the polarized well outlet only one way. If the plug does not fit fully into the well outlet, reverse the plug. If the plug still does not fit, contact a qualified electrician to install the proper well outlet Do not modify the appliance plug, extension cord receptacle, or extension cord plug in any way.
5. To prevent the extension cord from disconnecting from the unit during operation, always use the on-board cord retainer.
6. Do not abuse the cord. Never pull the blower by the cord or yank the cord to disconnect it from the receptacle. Keep the cord away from heat, oil, and sharp edges.
Double-Insulated Appliances
In a double-insulated appliance, two systems of insulation are provided instead of grounding. No grounding means is provided on a double-insulated appliance, nor should a means for grounding be added to the appliance. Servicing a double-insulated appliance requires extreme care and knowledge of the system and should be performed only by qualified service personnel at an authorized Snow Joe® + Sun Joe® dealer. Replacement parts for a double-insulated appliance most be identical to the parts they replace. A double-insulated appliance is marked with the words “Double Insulation” or “Double Insulated.” The symbol
(square within a square) may also be marked on the appliance.
DOUBLE-INSULATED: GROUNDING NOT REQUIRED WHEN SERVICING, USE ONLY IDENTICAL REPLACEMENT PARTS.
This electric blower is double-insulated, eliminating the need for a separate grounding system. Use only identical replacement parts. Read the instructions before servicing double-insulated appliances. Use this blower only as described in this manual.
Safety Symbols
The following table depicts and describes safety symbols that may appear on this product. Read, understand and follow all instructions on the machine before attempting to assemble and operate.
Symbols | Descriptions | Symbols | Descriptions |
![]() | READ THE OPERATOR’S MANUAL(S) – Read, understand and follow all instructions in the user manual(s) before attempting to assemble and operate. | ![]() | Keep bystanders and children a safe distance away. |
![]() | SAFETY ALERT – Indicates a precaution, a warning or a danger. | ![]() | WARNING! Do not expose the unit to rain or wet conditions. |
![]() | Beware of flying objects and debris. | ![]() | Wear hearing protection. Wear eye protection. Wear breathing protection. |
![]() | DANGER! Rotating blades pose a serious risk of injury. Keep hands and feet away from openings while the machine is running. | ![]() | The rotating part will continuously run for several seconds after you turn off the machine. |
![]() | Immediately remove the plug from the mains if the power cable is damaged, frayed or entangled. Always keep the power cable away from heat, oil and sharp edges. | ![]() | WARNING! Turn the machine OFF and disconnect it from the power supply before inspecting, cleaning, changing accessories or conducting any other maintenance task. |
DOUBLE INSULATION – When servicing, use only identical replacement parts. | |||
Know Your Electric Jet Blower
Read the owner’s manual and safety instructions carefully before operating the electric jet blower. Compare the illustration below to the electric jet blower in order to familiarize yourself with the location of the various controls and adjustments. Save this manual for future reference.

1. Appliance cord
2. Extension cord restraint hook
3. Handle
4. ON/OFF switch (speed settings 0 to 5)
5. Blower tube release tab
6. Blower tube
7. Air inlet
Technical Data
Rated Voltage………………………… 120 V ~ 60 Hz
Power…………………………………….. 8.5 A
No Load Speed……………………… 8,500 – 15,500 rpm
Variable Speed Settings…………. 5
Air Speed (max)……………………. 135 MPH
Blower Air Volume (max)…….. 440 CFM
Weight………………………………….. 6.17 lbs (2.8 kg)
Unpacking
Carton Contents
- Electric blower
- Blower tube
- Manuals with registration card
1. Carefully remove the electric blower and check to see that all of the above items are supplied.
2. Inspect the product carefully to make sure no breakage or damage occurred during shipping. If you find damaged or missing parts, DO NOT return the unit to the store. Please call the Snow Joe® + Sun Joe® customer service center at 1-866-SNOWJOE (1-866-766-9563).
NOTE: Do not discard the shipping carton and packaging material until you are ready to use the electric blower. The packaging is made of recyclable materials. Properly dispose of these materials in accordance with local regulations.
IMPORTANT! The equipment and packaging material are not toys. Do not let children play with plastic bags, foils or small parts. These items can be swallowed and pose a suffocation risk!
Assembly
WARNING! To avoid serious personal injury, read and understand all safety instructions provided.
WARNING! Do not connect to power supply until assembly is complete Failure to comply could result in accidental starting and possible serious personal injury.
WARNING! Before performing any maintenance, make sure the tool is unplugged from the power supply. Failure to heed this warning could result in serious personal injury.
WARNING! To prevent serious personal injury, make sure the switch is in the OFF (0) position, the unit is unplugged and the impeller has come to a complete stop before attaching or removing tubes.
1. Slide the blower tube forward until the tube release tab on the blower housing clicks into the slot on the blower tube (Fig 1).

- Blower tube
- Slot
- Tube release tab
2. To remove the blower tube, turn the ON/OFF power switch to the OFF (0) position and disconnect the tool from the power supply.
3. Press the tube release tab and remove the blower tube (Fig. 2).

- Blower tube
- Press the tube release tab
Operation
Connecting to a Power Source
1. Push the loop of the extension cord through the slot from the opposite side of the restraint hook. Position the loop over the hook and pull the cable back through the slot (Fig. 3).
2. Insert the female end of the extension cord into the appliance’s polarized male plug (Fig. 3).

- Appliance cord
- Extension cord
- Extension cord restraint hook
Starting + Stopping
WARNING! Never start the unit without the blower tube is secured in place. Failure to comply could result in accidental starting and possible serious personal injury.
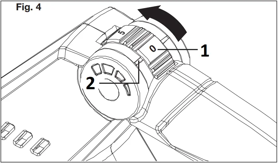
1. To start the electric jet blower, slide the ON/OFF switch until the mark on the outer housing is pointing “1” (Fig. 4 & 5).

- OFF (0)
- Mark

- “1” – Min. speed
2. To speed up the air flow, continue to slide the switch until it reaches your desired speed Position “5” is the maximum setting (Fig. 6).

- “5” – Max. speed
3. To stop the unit, slide the ON/OFF switch until the mark on the outer housing is pointing “0” (Fig. 4).
Operating Tips
WARNING! Use the electric jet blower only in daylight or good artificial light.
- When using the electric blower, plant your feet firmly on the ground and place your dominant hand on the unit handle to control the unit. Use your other hand to steady the unit as needed.
- Wear personal protective equipment during your work session. This includes boots, safety glasses/goggles ear defenders long pants and a long-sleeve shirt.
- Make sure the blower tube air outlet is not directed at anybody or any loose debris before starting the unit.
- Verify that the unit is in good working condition. Make sure the tubes and guards are in place and secure.
- Keep a firm grip on the unit handle while in use.
- To reduce the risk of hearing loss associated with increased sound levels, hearing protection is required.
- Operate power equipment only at reasonable hours-not early in the morning or late at night when people might be disturbed. Comply with times listed in local ordinances. Usual recommendations are 9:00 am to 5:00 pm, Monday through Saturday.
- To reduce noise levels, limit the number of pieces of power equipment used at any one time and operate power blowers at the lowest possible speed setting necessary to do the job.
- Use rakes and brooms to loosen debris before blowing.
- In dusty conditions, slightly dampen surfaces.
- Conserve water by using power blowers instead of hoses for many lawn and garden applications, including areas such as gutters, screens, patios, grills, porches and gardens.
- Blow debris into a safe, open area away from children, pets, open windows or freshly washed cars.
- Clean up after using blowers and other lawn equipment.
Dispose of debris appropriately.
WARNING! To avoid serious personal injury, wear ear defenders, goggles or safety glasses at all times when operating this unit. Wear a face mask or dust mask in dusty locations.
WARNING! To prevent serious personal injury or damage to the unit, make sure the blower tube is in place before operating the unit.
Air Inlet
Never cover air inlet. Keep it free from obstructions and debris. Inlet must always remain clear for proper motor cooling.
WARNING! To avoid serious personal injury, do not wear loose fitting clothing or articles such as scarves, strings, chains, ties, etc., that could get drawn into the air inlet. To make sure long hair does not get drawn into the air inlet tie back long hair.
Blowing Operation
- Hold the blower firmly with your dominant hand on the unit handle. Sweep from side to side with the nozzle several inches above the ground or floor (Fig. 7).

- Slowly advance the unit, keeping the accumulated pile of debris in front of you. Most dry blowing operations are better suited to low speeds rather than high speeds. High speed blowing is best for moving heavier items like large debris or gravel.
Maintenance
WARNING! Always wear protective gloves during maintenance operations. Do not carry out maintenance when the engine is running or hot.
WARNING! Use only original manufacturer’s replacement parts, accessories and attachments Failure to do no can cause possible injury and poor performance.
To order genuine replacement parts or accessories for the Sun Joe® JB450E-RM electric jet blower, please visit snowjoe.com or contact the Snow Joe® + Sun Joe® customer service center at 1-866-SNOWJOE (1-866-766-9563).
WARNING! Disconnect the extension cord before performing any maintenance task.
If the extension cord is plugged into the appliance, someone could accidentally turn on the unit while you are inspecting it, which could result in serious personal injury.
1. Store the tool, instruction manual and accessories in a secure dry place. In this way, you will always have the information ready at hand
2. Keep the tool’s air inlet unclogged and clean at all times.
3. Remove dust and dirt regularly. Cleaning is best done with a rag or brush.
4. Never use water or caustic agents to clean plastic parts.
WARNING! Do not use cleaning agents to clean the plastic parts of the tool. A rag or cloth is recommended. Water must never come into contact with the tool.
Storage
1. Examine the electric jet blower thoroughly for worn, loose, or damaged parts Should you need to repair or replace a part, contact an authorized Snow Joe® + Sun Joe® dealer or call the Snow Joe® + Sun Joe® customer service center at 1-866-SNOWJOE (1-866-766-9563) for assistance.
2. Examine the extension cord thoroughly for signs of excess wear or damage. If it is worn or damaged, replace it immediately.
3. Disconnect the extension cord from the electric jet blower before storing.
4. Clean the blower tube thoroughly before storing. Store the blower in a dry, well-ventilated place that is inaccessible to children. Keep away from corrosive agents.
Service + Support
If your Sun Joe® JB450E-RM electric jet blower requires service or maintenance, please call the Snow Joe® + Sun Joe® customer service center at 1-866-SNOWJOE (1-866-766-9563).
Model + Serial Numbers
When contacting the company, reordering parts, or arranging service from an authorized dealer, you will need to provide the model and serial numbers which can be found on the decal located on the housing of the unit. Copy these numbers into the space provided below.
| Record the following numbers from the housing or handle of your new product: Model # Serial # |
Troubleshooting
WARNING! Always unplug the power cord before performing any adjustments, maintenance, or repairs to your electric blower.
Problem | Possible Cause | Solution |
| Motor fails to start when switch is turned on. | 1. Power cord is not plugged in or connection is loose. | 1. Plug in the power cord. |
Optional Accessories
WARNING! ALWAYS use only authorized Snow Joe® + Sun Joe® replacement parts and accessories. NEVER use replacement parts or accessories that are not intended for use with this electric blower. Contact Snow Joe® + Sun Joe® if you are unsure whether it is safe to use a particular replacement part or accessory with your electric blower. The use of any other attachment or accessory can be dangerous and could cause injury or mechanical damage.
Accessories | Item | Model |
(1) ![]() | Universal wall bracket with mounting hardware | SJWB (Fits most Snow Joe® + Sun Joe® tools, including blower can models SBJ601E+ SBJ603E + SBJ605E) |
NOTE: Accessories are subject to change without any obligation on the part of Snow Joe® + Sun Joe® to provide notice of such changes. Accessories can be ordered online at snowjoe.com or via phone by contacting the Snow Joe® + Sun Joe® customer service center at 1-866-SNOWJOE (1-866-766-9563).

SNOW JOE® + SUN JOE® REFURBISHED GOODS WARRANTY
GENERAL CONDITIONS:
Snow Joe® + Sun Joe® operating under Snow Joe®, LLC warrants this refurbished product to the original purchaser for 90 days against defects in material or workmanship when used for normal residential purposes. If a replacement part or product is needed, it will be sent free of charge to the original purchaser except as noted below.
The duration of this warranty applies only if the product is put to personal use around the household. It is the owner’s responsibility to correctly perform all maintenance and minor adjustments explained in the owner’s manual.
HOW TO OBTAIN YOUR REPLACEMENT PART OR PRODUCT:
To obtain a replacement part or product, please visit snowjoe.com/help or email us at [email protected] for instructions. Please be sure to register your unit beforehand to speed up this process. Certain products may require a serial number, typically found on the decal affixed to the housing or guard of your product. All products require a valid proof of purchase.
EXCLUSIONS:
- Wearing parts like belts, augers, chains and tines are not covered under this warranty. Wearing parts can be purchased at snowjoe.com or by calling 1-866-SNOWJOE (1-866-766-9563).
- Batteries are covered in full for 90-days from the date of purchase.
Snow Joe® + Sun Joe® may from time to time change the design of its products. Nothing contained in this warranty shall be construed as obligating Snow Joe® + Sun Joe® to incorporate such design changes into previously manufactured products, nor shall such changes be construed as an admission that previous designs were defective.
This warranty is intended to cover product defects only. Snow Joe®, LLC is not liable for indirect, incidental or consequential damages in connection with the use or misuse of the Snow Joe® + Sun Joe® products covered by this warranty. This warranty does not cover any cost or expense incurred by the purchaser in providing substitute equipment or service during reasonable periods of malfunction or non-use of this product while waiting for a replacement part or unit under this warranty. Some states do not allow exclusions of incidental or consequential damages so the above exclusions may not apply in all states. This warranty may give you specific legal rights in your state.
HOW TO REACH US:
We’re here to help Monday through Friday from 9AM to 7PM EST and Saturday and Sunday 9AM to 4PM. You can reach us at 1-866-SNOWJOE (1 866-766-9563), online at snowjoe/com, via email at [email protected] or tweet us @snowjoe.
EXPORTS:
Customers who have purchased Snow Joe® + Sun Joe® products exported from the United States and Canada should contact their Snow Joe® + Sun Joe® distributor (dealer) to obtain information applicable to your country, province or state. If for any reason, you are not satisfied with the distributor’s service, or If you have difficulty obtaining warranty information, contact your Snow Joe® + Sun Joe® seller. If in the event your efforts are unsatisfactory, please reach out to us directly.





























