DOMETIC AG101 Fuel Tank

Please read these instructions carefully and follow all instructions, guidelines, and warnings included in this product manual in order to ensure that you install, use, and maintain the product properly at all times. These instructions MUST stay with this product.
By using the product, you hereby confirm that you have read all instructions, guidelines, and warnings carefully and that you understand and agree to abide by the terms and conditions as set forth herein. You agree to use this product only for the intended purpose and application and in accordance with the instructions, guidelines, and warnings as set forth in this product manual as well as in accordance with all applicable laws and regulations. A failure to read and follow the instructions and warnings set forth herein may result in an injury to yourself and others, damage to your product or damage to other property in the vicinity. This product manual, including the instructions, guidelines, and warnings, and related documentation, may be subject to changes and updates. For up-to-date product information, please visit documents.dometic.com.
Parts

Safety instructions
DANGER! Failure to obey this instruction will cause death or serious injury.
Explosion hazard
- Fuels are highly flammable, releasing explosive fumes and potentially posing a health risk under certain circumstances. The tank must be constructively separated from the occupant compartment.
- Check hazards depending on the installation location in the vehicle such as:
- Keep sufficient distance to ignition sources to avoid electrostatic discharge.
- Observe the torque values for assembly.
- Provide a constructive protection against obstacles on the ground, when the tank is mounted underneath the vehicle.
- Provide a protection for pipes or hoses to the fullest possible extend (twisting/bending movements). Parts of the fuel system must be attached to the vehicle in such a way that they are as well protected as possible. The fuel system components must not be subjected to friction, pressure or other excessive stresses due to twisting, bending and vibration of the vehicle structure or drive unit.
WARNING! Failure to obey these warnings could result in death or serious injury.
Fire hazard
- Install the fuel tank in well-ventilated spaces and not in a box or room without any openings.
- Only use the fuel tank if the housing and the cables are undamaged.
Target group
The instructions in this manual are intended for qualified personnel at workshops who are familiar with the guidelines and safety precautions to be applied.
Scope of delivery


Intended use
The fuel tank is only permitted to be combined with TEC29 EV and TEC30D EV gen-erators.
This product is only suitable for the intended purpose and application in accordance with these instructions.
This manual provides information that is necessary for proper installation and/or operation of the product. Poor installation and/or improper operating or mainte-nance will result in unsatisfactory performance and a possible failure.
The manufacturer accepts no liability for any injury or damage to the product resulting from:
- Incorrect assembly or connection, including excess voltage
- Incorrect maintenance or use of spare parts other than original spare parts provided by the manufacturer
- Alterations to the product without express permission from the manufacturer
- Use for purposes other than those described in this manual
Dometic reserves the right to change product appearance and product specifications.
Installation
Observe the following requirements for the installation location:
- The tank must not be placed in the occupant compartment. The tank must not form a surface (floor, wall, bulkhead) of the occupant compartment or other compartment integral with it.
- A partition must be provided to separate the occupant compartment from the tank. The partition may contain apertures (e.g. to accommodate cables) pro-vided they are so arranged that fuel cannot flow freely from the tank into the occupant compartment or other compartments integral with it during normal conditions of use.
- The tank must be fixed securely. Ensure that any fuel leaking from the tank or its accessories will not escape into the occupant compartment during normal conditions of use.
- The filler hose must not be situated in the occupant compartment, in the luggage compartment or in the engine compartment.
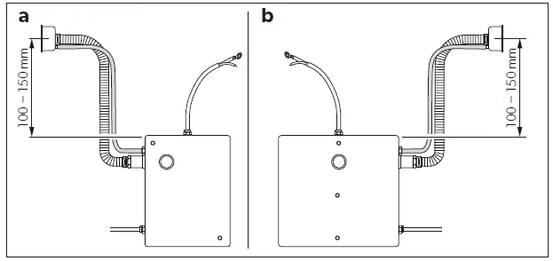
- The distance between the filler hole and the upper part of the tank must be within 100 mm and 150 mm.

- The filler cap must not, when closed, project beyond the adjacent surfaces of the bodywork.
- Choose one of the possible installation positions.

- Drill holes into the fuel tank depending on the installation position:
- 25 mm for the connecting hose

- 12 mm for the fuel vapour pipe

- 12 mm for the float

- 9 mm for the fuel intake hose

- 25 mm for the connecting hose
- Connect the fuel intake hose.

- Connect the fuel vapor hose.

- Connect the intake hose.

- Connect the float switch.

- Connect the filler neck .

- Follow the instructions in the related manual of the generator for connecting the grounding and the reserve line input.
- Follow the instructions in the related manual of the generator for connecting the fuel supply to the generator.
YOUR LOCAL DEALER
dometic.com/dealer
YOUR LOCAL SUPPORT
dometic.com/contact



























