INVACARE Carroll CS Series Bed Assist Bars

General
Symbols
Signal words are used in this manual and apply to hazards or unsafe practices which could result in personal injury or property damage. See the information below for definitions of the signal words.
- DANGER!
Danger indicates an imminently hazardous situation which, if not avoided, will result in death or serious injury. - WARNING!
Warning indicates a potentially hazardous situation which, if not avoided, could result in death or serious injury. - CAUTION!
Caution indicates a potentially hazardous situation which, if not avoided, may result in property damage or minor injury or both.
Gives useful tips, recommendations and information for efficient, trouble-free use.
Intended Use
The purpose of the Assist Bar is to provide the resident a grab bar in which they can use to assist themselves from a sitting position to standing while exiting a long-term care bed. Clinical staff must decide whether a resident would benefit from the use of this aid. Vulnerable patient needs should be considered before using this product.
- The Assist Bar should NOT be used as a rail. The Assist Bar is NOT intended to prevent the resident from rolling out of the bed.
Safety
General Guidelines
DANGER!
Risk of Death, Injury or Damage
Improper use of this product may cause injury or damage.
- If you are unable to understand the warnings, cautions or instructions, contact a healthcare professional, dealer or technical personnel before attempting to use this equipment.
- Do not use this product or any available optional equipment without first completely reading and understanding these instructions and any additional instructional material such as user manuals, service manuals or instruction sheets supplied with this product or optional equipment.
Continued use of the product with damaged parts could lead to the product malfunctioning, causing injury to the user and/or caregiver. - Check ALL product components and carton for damage, and test components before use. DO NOT use product if components are damaged or if product is not working properly. Contact a qualified technician or Invacare for repair.
DANGER!
Risk of Injury or Death
Bed accessories designed by other manufacturers have NOT been tested by Invacare. Use of NON-Invacare bed accessories may result in injury or death.
- Use ONLY Invacare rails, mattresses, bed extenders and other accessories with Invacare bed products.
- THE INFORMATION CONTAINED IN THIS DOCUMENT IS SUBJECT TO CHANGE WITHOUT NOTICE.
DANGER!
Risk of Death, Injury or Damage
Variations in assist bar dimensions, and mattress thickness, size or density could increase the risk of entrapment.
- Proper patient assessment and monitoring, and proper maintenance and use of equipment is required to reduce the risk of entrapment.
- Visit the FDA website at http://www.fda.gov to learn about the risks of entrapment. Review “A Guide to Bed Safety”, published by the Hospital Bed Safety Workgroup. Use the link located under each assist bar product entry to access this bed’s safety guide.
- Refer to the user manuals for beds and assist bars for additional product and safety information.
DANGER!
Risk of Death, Injury or Adverse Health Consequences
Fall hazard exists due to incorrect installation of assist bars.
- To avoid injury, ensure that the Invacare assist bars are installed correctly and securely attached to the bed while entering or exiting.
Fall hazard exists due to use of Non-Invacare assist bars. Non-Invacare assist bars are potentially incompatible with Invacare beds.
- To avoid injury, ensure that only Invacare assist bars are used with Invacare beds at all times.
DANGER!
Risk of Death, Injury or Damage
Patient entrapment from the use of assist bars may cause injury or death. To avoid patient entrapment:
- The Invacare mattress MUST fit firmly against the bed frame AND assist bars to prevent patient entrapment. Follow the manufacturer’s instructions. Monitor patient frequently. Read and understand the User Manual prior to using the Invacare bed and assist bars. User manuals are available at www.invacare.com or your dealer.
- After any adjustments, repair or service and before use, make sure all attaching hardware is tightened securely.
DANGER!
Risk of Death, Injury or Damage
To avoid entrapment, product damage, and/or personal injury:
- When used with a manual/electric bed, the assist bars DO NOT fall under any weight limitations. Assist bars can be deformed or broken if excessive side pressure is exerted on the assist bars. The assist bars are not intended nor may be used for restraint purposes.
If an individual is capable of injuring himself/herself,
a physician or a healthcare professional should be consulted for alternative means of safe restraint. - After raising/lowering the head/foot end of the electric bed, check the distance between the bottom of the assist bar and the mattress. If there is excessive distance between the bottom of the assist bar and the mattress in which individuals may become entangled, adjust the height of the assist bar (if applicable), or provide alternative means of patient protection.
- DO NOT use the assist bars as push handles for moving the electric bed.
- Replacement mattresses and assist bars with dimensions different from the original equipment supplied or specified by the bed frame manufacturer are not interchangeable. Variations in assist bar design, width and thickness or firmness of the mattress could cause/contribute to entrapment.
DANGER!
Risk of Death, Injury, or Damage
Conditions such as restlessness, mental deterioration and dementia or seizure disorders (uncontrolled body movement), sleeping problems, and incontinence can significantly impact a patient’s risk of entrapment. Pediatric patients or patients with small body size may also have an increased risk of entrapment.
- Monitor patients with these conditions frequently.
- Place mattress deck in the flat position when left unattended.
DANGER!
Risk of Death, Injury or Damage
To avoid death, injury or damage due to improper maintenance or inspection. Always maintain and inspect equipment per the instructions in this manual. Contact a qualified technician or Invacare if any of the following issues are present:
- Loose or missing parts such as end caps, knobs, bolts, screws etc., should be secured or replaced.
- Sharp edges or surfaces should be corrected or replaced.
- Parts showing excessive wear should be replaced.
- Warped or otherwise damaged parts should be replaced immediately.
DANGER!
Risk of Death, Injury or Damage
To avoid pinching, crush and collapse hazards from bed deck contact with objects under the bed:
- DO NOT place any objects or let any individual underneath the bed or in between the raised bed frame components at any time.
To avoid choking from small detachable parts contained underneath the bed:
- Closely supervise children, pets, or people with physical/mental disabilities.
Mattress Specifications
It is highly recommended that you use an Invacare 35±1/4″ (889±6 mm) wide mattress that is designed to conform to the bed length of 76″ or 80″ (1930 mm or 2032 mm). The mattress must be at least 6±1/8″ (152±3 mm) thick.
Setup
Assembly for Arro, Solo, and Echo Series
WARNING!
Risk of Injury or Damage
Incorrect Assist Bar mounting may result in patient entrapment.
- Mount the Assist Bar bracket ONLY in the pre-punched mounting holes on the main rail.
- Never install two Assist Bars on the same side of the bed.
Ensure the Assist Bars are orientated correctly during installation by following the “THIS SIDE UP” label on the Assist Bar Bracket. When installed properly, the Assist Bar should never point to the floor.
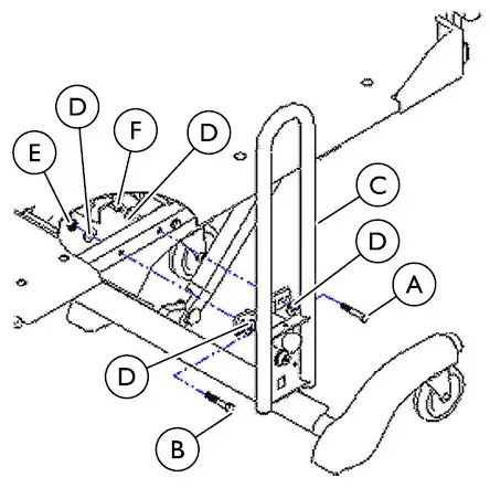
Carroll Assist Bar Assembly Diagram — Right Side Shown
Head and seat decks and frame angle iron are cut-away for clarity
| REF | Description: | Qty |
| A | Hex Bolt 5/16-18 X 2 Long | 2 |
| B | Hex Bolt 3/8-16 X 2 Long | 2 |
| C | Assist Bar Assembly- Left Side Assist Bar Assembly – Right Side | 1 1 |
| D | Flat Washer for 3/8 bolt | 8 |
| E | Locking Jam Nut 3/8-16 | 2 |
| F | Nylon Lock Nut 5/16-18 | 2 |
When assembling the Assist Bar to the bed frame, it may be easier to lift and rest the head deck on its hinge. This will expose the bed frame on which to mount the bar.
Tools Required:
- 9/16” wrench
- 1/2” wrench
Hardware Included (Part No. KITASSIST-BAR)
Apply French label next to English label when required.
- Raise the bed to a comfortable working height, then lift the head deck section.

- Place Hex Bolts with washer through the bracket: 3/8” bolt through hole and 5/16” bolt through slot.

- Guide fasteners with bracket through holes in the main rail. Ensure “THIS SIDE UP” sticker is visible.

- Place additional washer and appropriate lock nut on both threads.

- Use two wrenches to tighten each set of fasteners. Repeat for the other side.

- When complete, the Assist Bars should feel secure.
Assembly for DLX Bed
WARNING!
Risk of Injury or Damage
Incorrect Assist Bar mounting may result in patient entrapment.
- Mount the Assist Bar bracket ONLY in the pre-punched mounting holes on the main rail.
- Never install two Assist Bars on the same side of the bed.
Ensure the Assist Bars are orientated correctly during installation by following the “THIS SIDE UP” label on the Assist Bar Bracket. When installed properly, the Assist Bar should never point to the floor. When assembling the Assist Bar to the bed frame, it may be easier to lift the head deck and rest it on its hinge. This will expose the bed frame on which to mount the bar.
Invacare DLX Assist Bar Assembly Diagram — Right Side Shown
| REF | Description: | Qty |
| A | Hex Bolt 5/16-18 X 3/4 Long | 4 |
| B | Spring Lock Washer for 5/16 screw | 4 |
| C | Assembled Assist Bar – Right Side Assembled Assist Bar – Left Side | 1 1 |
Tools Required

Apply French label next to English label when required.
- Raise the bed to a comfortable working height, then raise the head deck section.

- Position the Assist Bar on the side of the bed, aligning the holes in the frame with the threaded bracket bushings.

- Place 5/16”-18 x 3/4” Hex Bolts with Spring Lock Washer through the hole in the frame and hand tighten.

- Place additional hex bolt and spring washer through the bottom hole.

- Use a ratchet wrench with a 1/2-inch socket to tighten each fastener. Repeat for the other side.

- When complete, the Assist Bars should feel secure.
Usage
Assist Bar Operation
WARNING!
Risk of Injury or Damage
To avoid patient entrapment from use of assist bar in assist (up) position:
- Only use the assist position while attending to the resident.
- Return the Assist Bar to the storage (down) position when unattended.
WARNING!
Risk of Injury or Damage
Assist Bar may rotate quickly and drop to the next locked position causing the patient to lose their balance and fall. To avoid falling from an unlatched assist bar:
- Ensure the Assist Bar is fully latched in storage (down) position after each use.
- Check that the Assist Bar is locked before leaving a patient unattended.
- Never use the Assist Bar as a Rail.
WARNING!
Risk of Injury or Damage
A crush hazard exists between the assist bar and the floor at the lowest bed position. Lowering the bed may cause injury or damage.
- Lock out the hand control when working near the bed and do NOT place feet or limbs in the crush zone, located beneath the Assist Bar, when the bed is in operation.

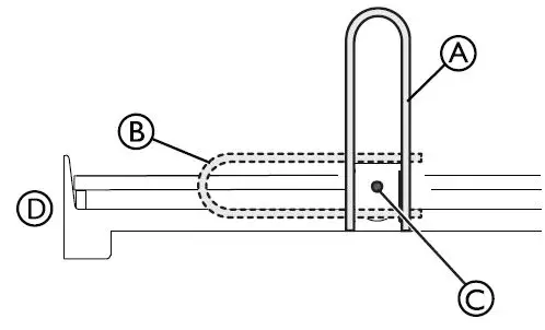
It is important that caregivers know how to operate the Assist Bar safely.
The assist bars lock in two positions:
- Assist (Up) A: Aid in entering and exiting the bed.
- Storage (Down) B: At rest position, bar is stored discreetly.
When changing the position of the assist bar, hold and raise the bar with one hand while pulling the adjustment knob C outward with the other hand. Ensure the assist bar faces head end D in Storage (down) position. Refer to the installation section if it does not.
To change position of the assist bar perform one of the following:
- Storage (DOWN) Position: Pull the adjustment knob and lower assist bar to the storage position.
There will be an audible “Click” when the assist bar locks into position. - Assist (UP) Position: Pull the adjustment knob and lift the assist bar to the assist position.
There will be an audible “Click” when the assist bar locks into position.
After Use
Pendant Storage
WARNING!
Risk Of Injury Or Damage
To avoid serious injury or product damage from tripping, entanglement and/or pinched, or severed cords:
- Ensure that all cord(s) are routed and secured properly.
- Keep all moving parts, including the main frame, mattress deck, and all drive shafts, free of obstruction (i.e. blankets/sheets, tubing, wiring, cords, etc.) during operation of the bed.
Hang the pendant on the hook (in a pendant holster) when not in use.
- Peel the backing from the supplied hook and loop strip. (P/N PNDNT—V—LOOP).

- Position the hook and loop strip inside the cupped part of the pendant holster.

- Press the strip down onto the pendant.

- Place the pendant holster anywhere along the Assist Bar, between the two bars.

- Slide the Pendant into the pendant holster.

- The pendant holster may be used with the Assist Bar either up or down.
Maintenance
Cleaning and Care
Invacare recommends maintenance and cleaning procedures be conducted initially, between users, on a regular schedule and as needed.
Sanitizing Method
All surfaces may be cleaned with:
- soapy water
- any common consumer disinfecting product
- most non-abrasive commercially available disinfecting products
Maintenance Check
- Verify the function of the spring latch-knob assembly. Ensure the latch is free of dirt and/or foreign material that could impair its function.
- Ensure that the Assist Bars engage and lock as specified.
- Tighten, adjust or replace any parts such as end caps, knobs, bolts, screws, etc. that are loose, show signs of wear or are missing.
Environmental Conditions for Storage
Store the bed in a clean and dry environment with an ambient temperature range between 15° and 30° Celsius (59° to 86° F).
Environmental Conditions for Transport
Transport the bed in a clean and dry environment.
Disposal
Disposal
When the product can no longer be used, the product, accessories, and packaging materials should be sorted correctly. Please be environmentally responsible and recycle this product through your recycling facility at its end of life.
The disposal and recycling of used devices and packaging must comply with the applicable legal regulations.
Warranty
PLEASE NOTE: THE WARRANTY BELOW HAS BEEN DRAFTED TO COMPLY WITH FEDERAL LAW APPLICABLE TO PRODUCTS MANUFACTURED AFTER JULY 4, 1975.
This warranty is extended only to the original purchaser who purchases this product when new and unused from Invacare Continuing Care, Inc. or a dealer. This warranty is not extended to any other person or entity and is not transferable or assignable to any subsequent purchaser or owner. Coverage under this warranty will end upon any such subsequent sale or other transfer of title to any other person.
This warranty gives you specific legal rights and you may also have other legal rights which vary from state to state.
ICCI warrants this product when purchased new and unused to be free from defects in materials and workmanship for a period of one year from date of purchase from ICCI or a dealer, with a copy of the seller’s invoice required for coverage under this warranty. If within such warranty periods, any such product shall be proven to be defective, such product shall be repaired or replaced, at ICI’s option. This warranty does not include any labor or shipping charges incurred in replacement part installation or repair of any such product.
ICCI’s sole obligation and your exclusive remedy under this warranty shall be limited to such repair and/or replacement. For warranty service, please contact the dealer from whom you purchased your ICCI product. In the event you do not receive satisfactory warranty service, please write directly to ICCI at the address on the back cover, provide the dealer’s name, address, and the date of purchase, indicate the nature of the defect and, if the product is serialized, indicate the serial number. Do not return products to our factory without our prior consent.
LIMITATIONS AND EXCLUSIONS: THE FOREGOING WARRANTY SHALL NOT APPLY TO SERIAL NUMBERED PRODUCTS IF THE SERIAL NUMBER HAS BEEN REMOVED OR DEFACED, PRODUCTS SUBJECTED TO NEGLIGENCE, ACCIDENT, IMPROPER OPERATION, MAINTENANCE OR STORAGE, PRODUCTS MODIFIED WITHOUT ICCI’S EXPRESS WRITTEN CONSENT (INCLUDING, BUT NOT LIMITED TO, MODIFICATION THROUGH THE USE OF UNAUTHORIZED PARTS OR ATTACHMENTS; PRODUCTS DAMAGED BY REASON OF REPAIRS MADE TO ANY COMPONENT WITHOUT THE SPECIFIC CONSENT OF ICCI, OR TO A PRODUCT DAMAGED BY CIRCUMSTANCES BEYOND ICCI’S CONTROL, AND SUCH EVALUATION WILL BE SOLELY DETERMINED BY ICCI. THE WARRANTY SHALL NOT APPLY TO NORMAL WEAR AND TEAR OR FAILURE TO ADHERE TO THE PRODUCT INSTRUCTIONS.
THE FOREGOING EXPRESS WARRANTY IS EXCLUSIVE AND IN LIEU OF ANY OTHER WARRANTIES WHATSOEVER, WHETHER EXPRESS OR IMPLIED, INCLUDING THE IMPLIED WARRANTIES OF MERCHANTABILITY AND FITNESS FOR A PARTICULAR PURPOSE, AND THE SOLE REMEDY FOR VIOLATIONS OF ANY WARRANTY WHATSOEVER, SHALL BE LIMITED TO REPAIR OR REPLACEMENT OF THE DEFECTIVE PRODUCT PURSUANT TO THE TERMS CONTAINED HEREIN. THE APPLICATION OF ANY IMPLIED WARRANTY WHATSOEVER SHALL NOT EXTEND BEYOND THE DURATION OF THE EXPRESS WARRANTY PROVIDED HEREIN. ICCI SHALL NOT BE LIABLE FOR ANY CONSEQUENTIAL OR INCIDENTAL DAMAGES WHATSOEVER.
SOME STATES DO NOT ALLOW THE EXCLUSION OR LIMITATION OF INCIDENTAL OR CONSEQUENTIAL DAMAGE, OR LIMITATION OF HOW LONG AN IMPLIED WARRANTY LASTS, SO THE ABOVE EXCLUSION AND LIMITATION MAY NOT BE APPLICABLE. THIS WARRANTY SHALL BE EXTENDED TO COMPLY WITH STATE/PROVINCIAL LAWS AND REQUIREMENTS.
Invacare Continuing Care, Inc. USA and Canada
One Invacare Way
Elyria, Ohio USA
44035
800–668–2337
www.invacare-cc.com
Designed by Invacare Corporation Manufactured in Mexico for Invacare Corporation.
©2016 Invacare®Corporation
All rights reserved. Republication, duplication or modification in whole or in part is prohibited without prior written permission from Invacare. Trademarks are identified by ™and ®. All trademarks are owned by or licensed to Invacare Corporation or its subsidiaries unless otherwise noted.
Making Life’s Experiences Possible is a registered trademark in the U.S.A.




































