ASHLEY B502-59R Kids Beds Bunk Bed

SAFETY INSTRUCTIONS
IMPORTANT SAFETY NOTICE: READ CAREFULLY BEFORE BEGINNING A.5SEMBLY!
- Always use proper tools.
- Follow the assembly steps In order. Do not skip any steps.
- Be sure to check all packing materials carefully for small parts that may have come loose inside the carton during shipment If parts are missing, contact the retailer fro[m which you purchased the product ta obtain any missing parts. DO NOT USE SUBSTITUTE PARTS.
- Periodically check ta ensure that all connectors (bolts, screws, etc.) are tight
- Keep the Instructions for future reference.
- Some assembly may involve attaching glass or mirrors. Be very careful handling the glass or mirrors, as severe Injury may result If the glass or mirror breaks. Never handle large pieces of glass or mirrors bY yourself. “When assembling products that have electric cords (lamps, light, etc.), always (1) make sure the electrical cord is unplugged before assembly and (2) be careful not ta twist the cord during assembly. “When assembling shelves or entertainment centers, do not stand on lower shelves In order ta assemble upper shelves-use a step ladder.
- Do not stand on tables, Including but not limited ta, end tables, coffee tables, and dinner tables, as tables are not ta support the weight of a person. “Where assembly Instructions stats that the assembly requires two or more people, do not attempt by yourself as there is a risk of injury.
NOTE: ASHLEY FURNITURE INDUSTRIES, LLC DISCLAIMS /WY LIABILITY FOR DAMAGES OR INJURIES WHICH MAY OCCUR DUE TO Lil FAIWRE TO PROPERLY FOLLOW ASSEMBLY INSTRUCTIONS, PROPERLY ASSEMBLE THE PRODUCT, OR PROPERLY USE THE PRODUCT.
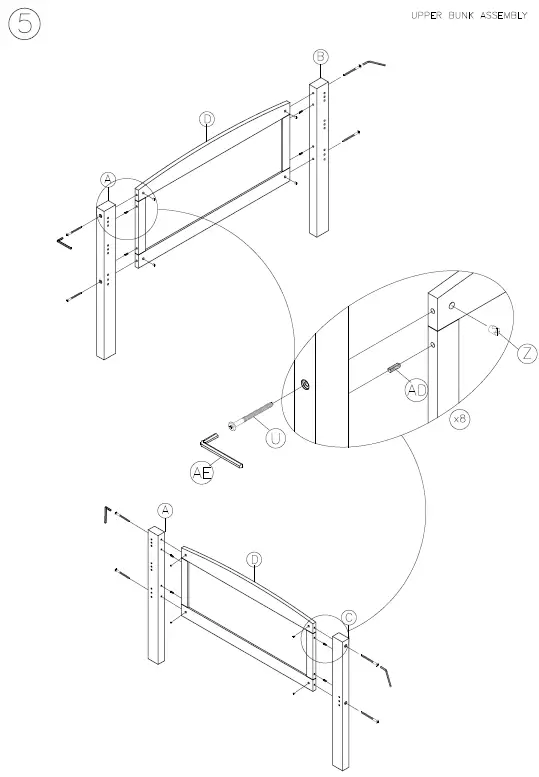
NOTE: YOUR UNIT MAY LOOK DIFFERENT IN APPEARANCE FROM THE ONE SHOWN IN THE ILLUSTRATIONS ON THIS INSTRUCTION SHEET.
THE UNIT SHOULD BE ASSEMBLED BY TWO OR MORE ADULTS. ALLOW 60 MINUTES FOR ASSEMBLY DO NOT TIGHTEN ANY BOLTS UNTIL ALL BOLTS HAVE BEEN STARTED! IF ANY OF THESE PARTS IS MISSING, OR IF YOU REQUIRE REPLACEMENT PARTS, INCLUDING ADDITIONAL GUARDRAILS, PLEASE CONTACT ANY OF OUR ASHLEY DEALERS OR CALL 1-800-477-2222.

PLEASE TAKE TIME TO READ ALL INSTRUCTIONS AND WARNINGS BEFORE BEGINNING ASSEMBLY!
SAFETY WARNINGS
- REPLACEMENT PARTS, INCLUDING ADDITIONAL GUARDRAILS, MAY BE OBTAINED FROM ANY OF OUR ASHLEY FURNITURE DEALERS.
- DO NOT ALLOW CHILDREN UNDER SIX YEARS OF AGE TO USE THE UPPER BUNK.
- ALWAYS USE GUARDRAILS ON BOTH LONG SIDES OF THE UPPER BUNK.
- PROHIBIT HORSEPLAY ON OR UNDER BEDS.
- PROHIBIT MORE THAN ONE PERSON ON THE UPPER BUNK.
- ALWAYS USE A LADDER FOR ENTERING OR LEAVING UPPER BUNK.
- IF THE BUNK BED WILL BE PLACED NEXT TO A WALL, THE GUARDRAIL THAT RUNS THE FULL LENGTH OF THE BED SHOULD BE PLACED AGAINST THE WALL TO PREVENT ENTRAPMENT BETWEEN THE BED AND THE WALL.
- FOLLOW THE INFORMATION ON THE WARNINGS APPEARING ON THE UPPER BUNK END STRUCTURE AND ON THE CARTON. DO NOT REMOVE WARNING LABEL FROM BED.
- ALWAYS USE THE RECOMMENDED SIZE MATTRESS OR MATTRESS SUPPORT, OR BOTH, TO HELP PREVENT THE LIKELIHO0D OF ENTRAPMENT OR FALLS.
- SURFACE OF MATTRESS MUST BE AT LEAST FIVE INCHES (127mm) BELOW THE UPPER EDGE OF GUARDRAILS.
- PERIODICALLY CHECK AND ENSURE THAT THE GUARDRAIL, LADDER, AND OTHER COMPONENTS ARE IN THEIR PROPER POSITION, FREE FROM DAMAGE, AND THAT ALL_CONNECTORS ARE TIGHT.
- DO NOT USE SUBSTITUTE PARTS. CONTACT THE MANUFACTURER OR DEALER FOR REPLACEMENT PARTS.
- USE OF_A NIGHT LIGHT MAY PROVIDE ADDED SAFETY PRECAUTION FOR A CHILD USING THE UPPER BUNK.
- THE USE OF WATER OR SLEEP FLOTATION MATTRESSES IS PROHIBITED.
- STRANGULATION HAZARD NEVER ATTACH OR HANG ITEMS TO ANY PART OF THE BUNK BED THAT ARE NOT DESIGNED_ FOR USE WITH THE BED; FOR EXAMPLE, BUT NOT LIMITED TO, HOOKS, BELIS AND JUMP ROPES.
- KEEP THESE INSTRUCTIONS FOR FUTURE REFERENCE.
- PROHIBIT JUMPING ON BEDS.
SIZE QF MATTRESS
- THE ONLY ACCEPTABLE SIZE MATTRESS TO BE USED WITH THIS BED IS AS FOLLOWS:
- THE MATTRESS MUST BE BETWEEN 37-1/2 (952mm) and 38-1/2 (978mm) WIDE
- THE MATTRESS MUST BE BETWEEN 74 (1880mm) and 75 (1905mm) LONG.
- THE MATTRESS MUST BE NO THICKER THAN 7 (178mm).
NOTE: Signature Design Furniture does not assume liability for damage or injury which may occur due to improper assembly or abusive use of this product.
KEEP ALL INSTRUCTIONS INCLUDED WITH YOUR BEDROOM COMPONENTS FOR FUTUURE REFERENCE
PARTS

INSTALLATION INSTRUCTION


























