B075 159,759
Instruction Manual
B075-159 Furniture Broshard Twin Metal Bunk Bed
IMPORTANT SAFETY NOTICE: RIAD CAREFULLY BEFORE BEGINNING ASSEMBLY!
* Always use proper tools.
* Follow the assembly steps in order. Do not skip any steps.
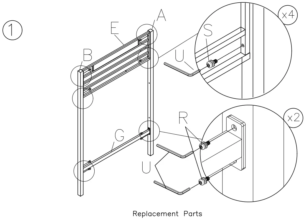
* Be sure to check all packing materials carefully for small parts may have come loose inside the carton during shipment. If parts are missing, contact the retailer from which you purchased the product to obtain any missing parts. DO NOT USE SUBSTITUTE PARTS.
* Periodically check to ensure that all connectors (bolts, screws, etc.) are tight.
* Keep the instructions for future reference.
* Some assembly may involve attaching glass or mirrors. Be very careful handling the glass or mirrors, as severe injury may result if the glass or mirror breaks. Never handle large pieces of glass or mirrors by yourself.
*When assembling products that have electric cords (lamps, light, sure the electrical cord is unplugged before assembly and (2) be electrical cord during assembly.
*When assembling shelves or entertainment centers, do not stand order to assemble upper shelves—use a step ladder.
*Do not stand on tables, including but not limited to, end tables, coffee tables, and dinner tables, as tables are not to support the weight of a person.
*Where assembly instructions state that the assembly requires two or more people, do not attempt by yourself as there is a risk of injury.
NOTE: ASHLEY FURNITURE INDUSTRIES, LLC DISCLAIMS ANY LIABILITY FOR DAMAGES OR INJURIES WHICH MAY OCCUR DUE TO FAILURE TO PROPERLY FOLLOW ASSEMBLY INSTRUCTIONS, PROPERLY ASSEMBLE THE PRODUCT, OR PROPERLY USE THE PRODUCT.
NOTE: YOUR UNIT MAY LOOK DIFFERENT IN APPEARANCE FROM THE ONE SHOWN IN THE ILLUSTRATIONS ON THIS INSTRUCTION SHEET.
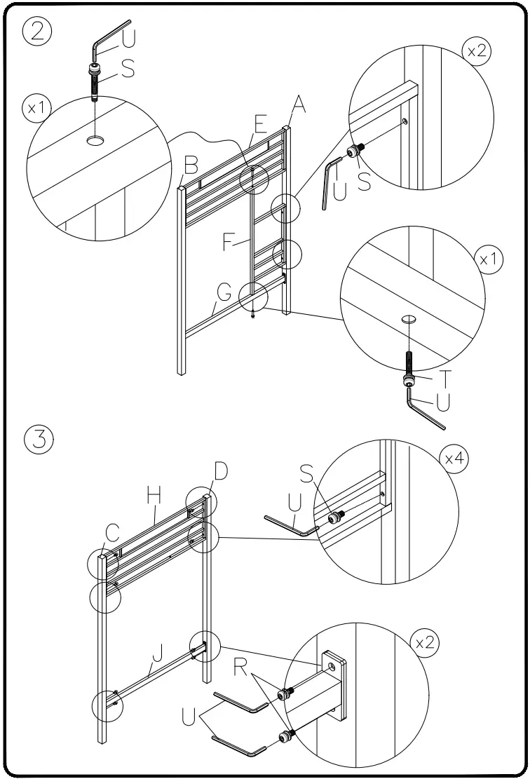
UNIT SHOULD BE ASSEMBLED BY TWO OR MORE ADULTS. ALLOW 60 MINUTES FOR ASSEMBLY DO NOT TIGHTEN ANY BOLTS UNTIL ALL BOLTS HAVE BEEN STARTED! IF ANY OF THESE PARTS IS MISSING, OR IF YOU REQUIRE REPLACEMENT PARTS, INCLUDING ADDITIONAL GUARDRAILS, PLEASE CONTACT ANY OF OUR ASHLEY DEALERS OR CALL 1-800-477-2222.
PLEASE TAKE TIME TO READ ALL INSTRUCTIONS AND WARNINGS BEFORE BEGINNING ASSEMBLY!
SAFETY WARNINGS:
— REPLACEMENT PARTS, INCLUDING ADDITIONAL GUARDRAILS, MAY BE OBTAINED FROM ANY OF OUR ASHLEY FURNITURE DEALERS.
— DO NOT ALLOW CHILDREN UNDER SIX YEARS OF AGE TO USE THE UPPER BUNK.
— ALWAYS USE GUARDRAILS ON BOTH LONG SIDES OF THE UPPER BUNK.
— PROHIBIT HORSEPLAY ON OR UNDER BEDS.
— PROHIBIT MORE THAN ONE PERSON ON UPPER BUNK.
— USE LADDER FOR ENTERING OR LEAVING UPPER BUNK.
— IF THE BUNK BED WILL BE PLACED NEXT TO A WALL, THE GUARDRAIL THAT RUNS THE FULL LENGTH OF THE BED SHOULD BE PLACED AGAINST THE WALL TO PREVENT ENTRAPMENT BETWEEN THE BED AND THE WALL.
— FOLLOW THE INFORMATION ON THE WARNINGS APPEARING ON NE UPPER BUNK END STRUCTURE AND ON THE CARTON. DO NOT REMOVE WARNING LABEL FROM BED.
— ALWAYS USE THE RECOMMENDED SIZE MATTRESS OR MATTRESS SUPPORT, OR BOTH, TO HELP PREVENT THE LIKELIHOOD OF ENTRAPMENT OR FALLS.
— SURFACE OF MATTRESS MUST BE AT LEAST FIVE INCHES (127mm) BELOW THE UPPER EDGE OF GUARDRAILS.
— PERIODICALLY CHECK AND ENSURE THAT THE GUARDRAIL, LADDER, AND OTHER COMPONENTS ARE IN THEIR PROPER POSITION, FREE FROM DAMAGE, AND THAT ALL CONNECTORS ARE TIGHT.
— DO NOT USE SUBSTITUTE PARTS. CONTACT THE MANUFACTURER OR DEALER FOR REPLACEMENT PARTS.
— USE OF A NIGHT LIGHT MAY PROVIDE ADDED SAFETY PRECAUTION FOR A CHILD USING THE UPPER BUNK.
— THE USE OF WATER OR SLEEP FLOTATION MATTRESSES IS PROHIBITED.
— STRANGULATION HAZARD
— NEVER ATTACH OR HANG ITEMS TO ANY PART OF THE BUNK BED THAT ARE NOT DESIGNED FOR USE WITH THE BED: FOR EXAMPLE, BUT NOT LIMITED TO, HOOKS, BELTS AND JUMP ROPES.
— KEEP THESE INSTRUCTIONS FOR FUTURE REFERENCE.
— PROHIBIT JUMPING ON BEDS.
SIZE OF MATTRESS* THE ONLY ACCEPTABLE SIZE MATTRESS TO BE USED WITH THIS BED IS AS FOLLOWS:
— THE MATTRESS MUST BE BETWEEN 37-1/2″ (952mm) and 38-1/2° (978mm) WIDE TWIN.
— THE MATTRESS MUST BE BETWEEN 74″ (1880mm) and 75″ (1905mm) LONG.
— THE MATTRESS MUST BE NO NICKER THAN 7″ (178mm).
Signature Design Furniture does not assume liability for damage or injury which may occur due to improper assembly or abusive use of this product.
KEEP ALL INSTRUCTIONS INCLUDED WITH YOUR BEDROOM COMPONENTS FOR FUTURE REFERENCE.

NOTE: UNIT SHOULD BE ASSEMBLED BY TWO OR MORE PEOPLE. DO NOT TIGHTEN ANY BOLTS UNTIL ALL BOLTS HAVE BEEN STARTED!




[email protected]
www.ashleyfurniture.parts
1-844-966-0809
SIGNATURE DESIGN BY ASHLEY®
All Rights Reserved.
March, 2022


















