merax WF281725 Wood Twin Over Twin Bunk Bed Instruction Manual
SAFETY WARNINGS
- Follow the information on the warning label appearing on the upper bunk bed and structure on the carton … Do not remove warning label from bed
- Always use the recommended size mattress or mattress support, or both, to help prevent the likelihood of entrapment or falls.
- Surface of mattress must be at least 5 inches below the upper edge of guard rails.
- Do not allow children under 6 years to use the upper bunk bed.
- Prohibit more than one person on upper bunk.
- Periodically check and ensure that the guardrail, ladder, and other components are in their proper position, free from damage, and that all connectors are tight.
- Do not allow horseplay on or under the bed and prohibit jumping on the bed.
- Always use the ladder for entering and leaving upper bunk.
- Do not use substitute part. Contact the manufacturer or dealer for replacement part.
- Use of night light may provide added safety precaution for a child using the upper bunk.
- If the bunk bed will be placed next to a wall, the guardrail that runs the full length of the bed.
- Always use guardrail on both long sides of the upper bunk.
- The use of water or sleep flotation mattresses is prohibited.
- Keep these instruction for future reference.
- Strangulation Hazard – Never attach or hang items to any part of the bunk bed that are not designed for use with the bed, for example, but not limited to hooks, belts and jump rores.
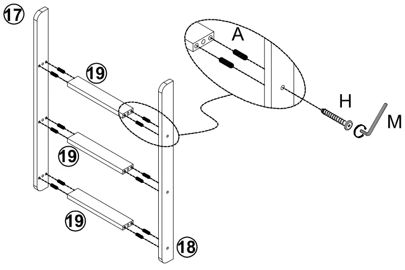
Detail View

Part List



Hardware List

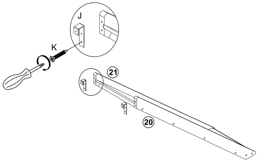
ASSEMBLY TOOLS REQUIRED ( NOT INCLUDED )
PLEASE BE CAREFUL DO NOT DAMAGE THE HOLE POSITION WHEN YOU USE POWER TOOLS !
Assembly Instruction
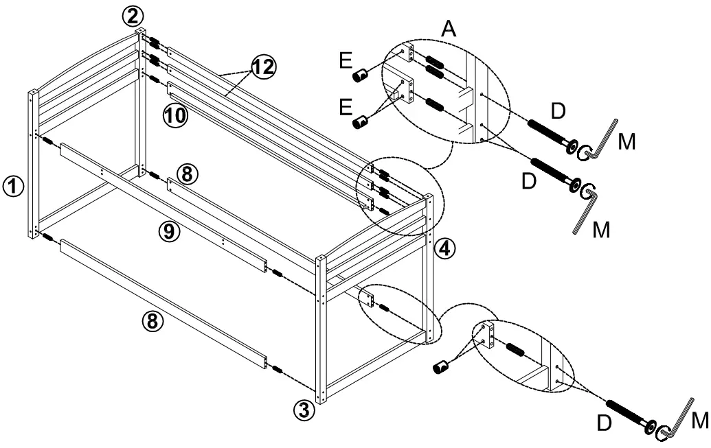
STEP 1:
NOTE: In this step, DO NOT tighten any bolt until you connect all part together

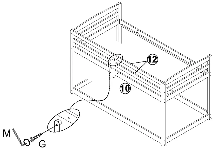
STEP 2:
NOTE: In this step, DO NOT tighten any bolt until you connect all part together.



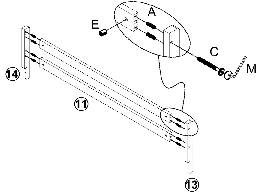
STEP 3:
NOTE: In this step, DO NOT tighten any bolt until you connect all part together.

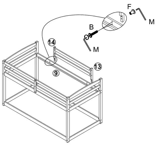
STEP 4:
NOTE: In this step, DO NOT tighten any bolt until you connect all part together.

STEP 5:
NOTE: In this step, DO NOT tighten any bolt until you connect all part together.

STEP 6:
NOTE: In this step, DO NOT tighten any bolt until you connect all part together.

STEP 7:


STEP 8:


STEP 9:


STEP 10:


STEP 11:


STEP 12:


COPMLETED

SAFETY WARNINGS AND GENERAL NOTES:
Follow the information on the warnings on the bunk bed end structure and on the carton.
Do not remove the warning label from the bed.
Always use the recommended size mattress on mattress support, or both, to help prevent the likelihood of entrapment or falls.
The top surface of the mattress must be at least 5* (127mm) below the upper edge of the guardrail.
Do not allow children under 6 years of age to use the upper bunk.
Periodically check and ensure the guardrail, ladder and other components are in their proper position, free from damage, and all connectors are tight. Prohibit horseplay on or under beds.
Always prohibit jumping on the bed. Prohibit more than one person on upper bunk.
Always use the ladder for entering and leaving the upper bunk.
Do not use substitute parts. Contact the manufacturer or dealer for replacement parts.
Use of a night-tight may provide added safely precaution for a child using the upper bunk.
Always use guardrails on both long sides of the upper bunk.
If the bunk bed will be placed next to a wall, the guardrail that runs the full length of the bed should be placed against the wall to prevent entrapment between the bed and the wall.
The use of water or sleep flotation mattresses is prohibited. Keep these instructions for future reference.
We recommend assembling your bunk bed on the shipping carton to protect your floor or carpet.Be certain all staples are out of the box before beginning assembly on the shipping carton.
STRANGULATION HAZARD – Never attach or hang items to any part of the bunk bed that are not designed for use with the bed; for example, but not limited to, hooks, belts, and jumping ropes.

















