GODEER WF290589 Black Twin Over Twin Upholstered Bunk Bed with Two Drawers Instruction Manual
IMPORTANT NOTE
- PLACE ALL PARTS ON A CLEAN AND SMOOTH SURFACE SUCH AS A RUG OR CARPET TO AVOID THE PARTS FROM BEING SCRATCHED
- BEFORE YOU BEGIN , KINDY FOLLOW THE ASSEMBLY INSTRUCTIONS STEP BY STEP
- DO NOT TIGHTEN ALL SCREWS AND BOLTS UNTIL THE BED IS FULLY SET-UP
SAFETY WARNINGS AND GENERAL NOTES
- Follow the information on the warnings on the bunk bed end structure and on the carton. Do not remove the warning label from the bed. Always use the recommended size mattress on mattress support, or both, to help prevent the likelihood of entrapment or falls.
- Do not allow children under 6 years of age to use the upper bunk.
- Periodically check and ensure the guardrail, ladder and other components are in their proper position, free from damage, and all connectors are tight.
- Do not allow horseplay on or under beds.
- Always prohibit jumping on the bed.
- Prohibit more than one person on upper bunk.
- Always use the ladder for entering and leaving the upper bunk.
- Do not use substitute parts. Contact the manufacturer or dealer for replacement parts.
- Use of a night light may provide added safely precaution for a child using the upper bunk.
- Always use guardrails on both long sides of the upper bunk.
- If the bunk bed will be placed next to a wall, the guardrail that runs the full length of the bed should be placed against the wall to prevent entrapment between the bed and the wall.
- The use of water or sleep flotation mattresses is prohibited.
- STRANGULATION HAZARD-Never attach or hang item to any part of the bunk bed that are not designed for use with the bed.
- Keep these instructions for future reference.
- We recommend assembling your bunk bed on the shipping carton to protect your floor or carpet .
- Be certain all staples are out of the box before beginning assembly on the shipping carton.
- USE ONLY MATTRESSES WHICH ARE AS THE TABLE BELOW ON UPPER AND ON LOWER BUNKS.
Upper bunk (bunk bed and tribed included)
Bed type
Twin Standard
Length
74″ – 75″
Width
381/2 ”
Thickness
6″ max
Lower bunk
Bed type
Twin Standard
Length
74″ – 75″
Width
381/2 ”
Thickness
8″ max
SURFACE OF MATTRESS MUST BE AT LEAST 5″ (127MM) BELOW THE UPPER EDGE OF GUARDRAILS.
Replacement parts:
Replacement parts, including additional guardrails, may be obtained from any of our
(GIGACLOUD TECHNOLOGY (USA) INC.) LINK USA CO.,LTD LAND PARCEL 188,MAP NO.38, TAN LOI HAMLET,DATCUOC COMMUNE,BAC TAN UYEN DISTRICT,BINH DUONG VIET NAM dealers
ASSEMBLY INSTRUCTIONS

HARDWARE LIST IN WF290590

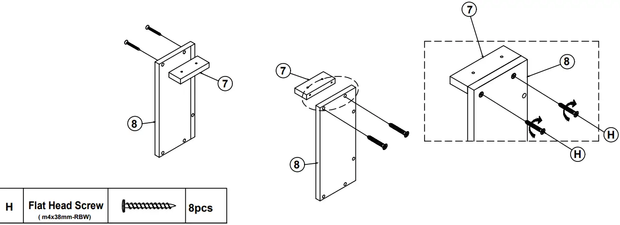
STEP 1

STEP 2

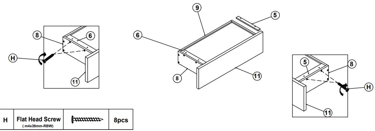
STEP 3

STEP 4

STEP 5

STEP 6

STEP 7

STEP 8

STEP 9


STEP 10

STEP 11

STEP 12

STEP 13


















