ASHLEY B065-181 Tranhaus Queen Upholstered Bed

IMPORTANT SAFETY NOTICE
READ CAREFULLY BEFORE BEGINNING ASSEMBLY!
- Alwoys use proper tools.
- Follow the assembly steps in order. Do not skip any steps.
- Be sure to check all packing materials carefully for small parts may have come loose inside the carton during shipment. f parts are missing, contact the retailer from which
you purchased the product to obtain any missing parts. D0 NOT USE SUBSTITUTE PARTS. - Periodically check to ensure that al connectors (bolts, Screws, etc.) are tight.
- Keep the instructions for future reference.
- Some assembly may involve attaching glass or mirrors. Be very careful handling the glass or mirrors, as severe injury may result if the glass or mirror breaks. Never handle large pieces of glass or mirrors by yourself.
- When asembling products that have electric cords (lamps, light, etc.), always (1) make sure the electrical cord is unplugged derore assembly and (2) be caretul not to twist the electrical cord during assembly.
- When assembling shelves or entertainment centers, do not stand on lower shelves in order to assemble upper shelvesuse a step ladder.
- Do not stand on tables, including but not limited to, end tables, coffee tables, and dinner tables, as tables are not to support the weight or o person.
- Where assembly instructions state that the assembly requires two or more people, do not attempt by yourself as there is a risk of injury.
NOTE: ASHLEY FURNITURE INDUSTRIES, INC. DISCLAIMS ANY LIABILITY FOR DAMAGES OR INJURIES WHICH MAY OCCUR DUE TO FALURE TO PROPERLY FOLLOW ASSEMBLY INSTRUCTIONS, PROPERLY ASSEMBLE THE PRODUCT, OR PROPERLY USE THE PRODUCT.
NOTE: YOUR UNIT MAY LOOK DIFFERENT IN APPEARANCE FROM THE ONE SHoWN IN THE ILLUSTRATIONs ON THIS INSTRUCTION SHEET.
PARTS
BO65-181/182
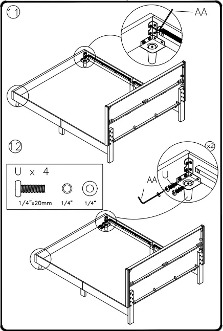
- NOTE: ALL PARTS REQUIRED FOR THE ASSEMBLY OF THIS BED ARE PACKED IN THE OPEN SPACE IN THE BACK OF THE HEADBOARD PANEL.


- NOTE: THE UNIT SHOULD BE ASSEMBLED BY TWO OR MORE PEOPLE. DO NOT TIGHTEN ANY BOLTS UNTIL ALL BOLTS HAVE BEEN STARTED!
- NOTE: HARDWARE IS STORED IN THE BACK OF THE HEADBOARD.
INSTALLATION

- NOTE: ASSEMBLY INSTRUCTIONS FOR MULTIPLE UNITS, THE PARTS/LABEL INDEX ARE SEPARATED FOR DIFFERENT UNTS THE PARTS ARE LOCATED INSIDE THE BOX AS BELOW.

- NOTE: THE UNIT SHOULD BE ASSEMBLED BY TWO OR MORE PEOPLE. DO NOT TIGHTEN ANY BOLTS UNTIL ALL BOLTS HAVE BEEN STARTED!
- NOTE: HARDWARE IS STORED N THE BACK OF THE HEADBOARD.

- NOTE: ASSEMBLY INSTRUCTION FOR MULTIPLE UNITS, THE PARTS/LABEL INDEX ARE SEPARATED FOR DIFFERENT UNITS THE PARTS ARE LOCATED INSIDE THE BOX AS BELOW








Turn the Adjustable Leveler on the bottom of the Cross-Slat Support Leg leaving 6mm space between the leveler and the floor.

- NOTE: Always disassemble the bed prior to moving to a new location.
































