8089-481, 482, 581, 582
IMPORTANT SAFETY NOTICE: RIAD CAREFULLY BEFORE BEGINNING ASSEMBLY!

* Always use proper tools.
* Follow the assembly steps in order. Do not skip any steps.
* Be sure to check all packing materials carefully for small parts may have come loose inside the carton during shipment. If parts are missing, contact the retailer from which you purchased the product to obtain any missing parts. DO NOT USE SUBSTITUTE PARTS.
* Periodically check to ensure that all connectors (bolts, screws, etc.) are tight.
* Keep the instructions for future reference.
* Some assembly may involve attaching glass or mirrors. Be very careful handling the glass or mirrors, as severe injury may result if the glass or mirror breaks. Never handle large pieces of glass or mirrors by yourself.
* When assembling products that have electric cords (lamps, light, etc.), always (1) make sure the electrical cord is unplugged before assembly and (2) be careful not to twist the electrical cord during assembly.
* When assembling shelves or entertainment centers, do not stand on lower shelves in order to assemble upper shelves—use a step ladder.
* Do not stand on tables, including but not limited to, end tables, coffee tables, and dinner tables, as tables are not to support the weight of a person.
* Where assembly instructions state that the assembly requires two or more people, do not attempt by yourself as there is a risk of injury.
NOTE: ASHLEY FURNITURE INDUSTRIES, LLC DISCLAIMS ANY LIABILITY FOR DAMAGES OR INJURIES WHICH MAY OCCUR DUE TO FAILURE TO PROPERLY FOLLOW ASSEMBLY INSTRUCTIONS, PROPERLY ASSEMBLE THE PRODUCT, OR PROPERLY USE THE PRODUCT.
NOTE: YOUR UNIT MAY LOOK DIFFERENT IN APPEARANCE FROM THE ONE SHOWN IN THE ILLUSTRATIONS ON THIS INSTRUCTION SHEET.
NOTE: ALL PARTS REQUIRED FOR ASSEMBLY OF THIS BED ARE PACKED IN THE OPEN SPACE IN THE BACK OF THE HEADBOARD PANEL.
| A x 1
| B x 1
| C x 1
| D x 1
|
| E x 2
| F x 2
| G x 2
| H x 4
|
| J x 2
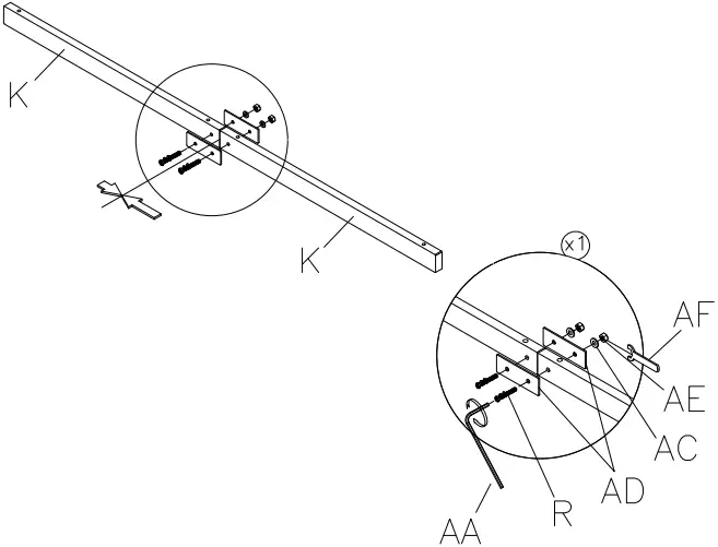
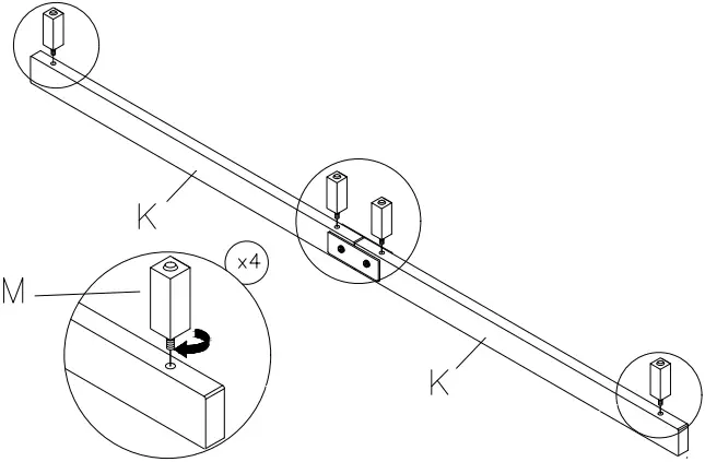
| K x 2
| L x 2
| M x 4
|
| N x 2
| P x 6
| R x 2
| S x 8
|
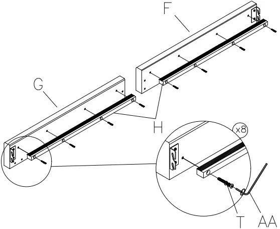
| T x 28
| |||
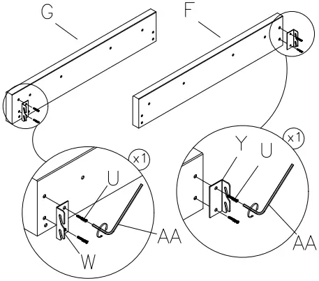
| U x 16
1/4” x 20mm | W x 2
| Y x 2
| Z x 2
M8 x 20mm |
| AA x 1
4mm | AB x 1
| AC x 2
¼” | AD x 2
|
| AE x 2
¼” | AF x 1
M10 | AG x 2
47mmDia | Not Included |
NOTE: UNIT SHOULD BE ASSEMBLED BY TWO OR MORE PEOPLE.
DO NOT TIGHTEN ANY BOLTS UNTIL ALL BOLTS HAVE BEEN STARTED!
NOTE: HARDWARE IS STORED IN THE BACK OF HEADBOARD
For the B089-481/581

NOTE: ASSEMBLY INSTRUCTION FOR MULTIPLE UNITS, THE PARTS/LABEL INDEX ARE SEPARATED FOR DIFFERENT UNITS
THE PARTS ARE LOCATED INSIDE THE BOX AS BELOW

NOTE: UNIT SHOULD BE ASSEMBLED BY TWO OR MORE PEOPLE.
DO NOT TIGHTEN ANY BOLTS UNTIL ALL BOLTS HAVE BEEN STARTED!
NOTE: HARDWARE IS STORED IN THE BACK OF HEADBOARD
For the B089-482/582

NOTE: ASSEMBLY INSTRUCTION FOR MULTIPLE UNITS, THE PARTS/LABEL INDEX ARE SEPARATED FOR DIFFERENT UNITS
THE PARTS ARE LOCATED INSIDE THE BOX AS BELOW

1

2
P x 6
5/16″x50mm

3
S x 4
5/16″x25mm

4 x2

5
S x 4
5/16″x25mm

6
U x 4
1/4″20mm

7 x2
U x4
1/4″x20mm

8 x2
T x8
1/4″x35mm

9 x2
T x 4
1/4″x35mm

10

11

12
U x4
1/4″x20mm

13
| R x 2 ¼”x40mm | AE x2
| AC x 2
| AF x1
|

14
Turn Adjustable Leveler on the bottom of the Cross—Slat Support Leg leaving 6mm space between leveler and the floor.
15
T x 4
1/4″ x35mm
16
Z x2![]()
8 x20mm


NOTE: Always disassemble the bed prior to moving to a new location.
SIGNATURE DESIGN BY ASHLEY® All Rights Reserved. December 2021





































