Pablo 94124 120-240V Canopy Type A Bola Sphere

120/240V ASSEMBLY & INSTALLATION INSTRUCTIONS

[email protected]
888 MARIN STREET
SAN FRANCISCO, CA
94124
PABLODESIGNS.COM
BOLA CANOPY
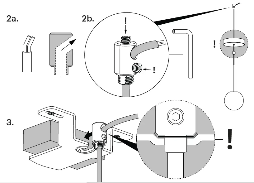
- ATTACH MOUNTING PLATE TO JUNCTION BOX OR CEILING
- WIRE TRANSFORMER TO BUILDING (US: BLACK TO BLACK AND WHITE TO WHITE) ( EU: BLUE TO BLUE AND BROWN TO BROWN/RED)
- CUT CORD TO DESIRED LENGTH AND PASS THROUGH CANOPY. WIRE TRANSFORMER TO LAMP (US: BLUE TO BRAIDED AND RED TO RED) (EU: BLACK TO BRAIDED AND RED TO RED)
NOTE: PURPLE AND GREY CORDS ARE USED ONLY WITH 0-10 V DIMMER SWITCH. - TIGHTEN SET SCREWS ON CORD RELIEF
- BRING CANOPY UP TO MOUNTING PLATE WITH BOLTS PASSING THROUGH THE HOLES
- SCREW BOTH CAPS DOWN, SECURING THE CANOPY


IMPORTANT: WE RECOMMEND CEILING MOUNTING BE INSTALLED BY AN ELECTRICIAN
LENGTH OF CORD SUPPLIED 8.9FT (270 CM)
BOLA SPHERE
USE PROVIDED GLOVES WHEN HANDLING LAMP TO AVOID FINGER MARKS.
- SCREW STEM ONTO STATIONARY HEAT SINK
- CAREFULLY SCREW GLOBE TO HEAT SINK.

- LIGHT SOURCE
LED
FULL RANGE LIGHT CONTROL VIA 0 – 10v OR ELV DIMMER - LIGHT SOURCE REPLACEMENT
CONTACT MANUFACTURER FOR REPLACEMENT - LENGTH OF CORD SUPPLIED
8.9FT (270CM) - CARE
WIPE WITH A CLEAN, DAMP CLOTH. AVOID AMMONIA BASED CLEANERS.
CORD PATH DIAGRAM

- a. SECURE DRIVER TO MOUNT BRACKET WITH PROVIDED TAPE.
b. SECURE MOUNT BRACKET TO JUNCTION BOX OR CEILING USING APPROPRIATE ANCHOR METHODS.
IMPORTANT! BE SURE TO REFERENCE CORD PATH DIAGRAM BEFORE MOVING ON. - BE SURE TO WEAVE CORD THROUGH ALL NECESSARY PARTS LISTED ABOVE BASED ON LAMP MODEL.
a BEND WIRE ENDS BEFORE PASSING THROUGH STRAIN RELIEF.
b PASS CORD THROUGH STRAIN RELIEF AND SET LAMP HEIGHT BY FASTENING BOTH (TOP AND SIDE) SET SCREWS. (IF NECESSARY: TRIM EXCESS CORD) - PLACE FASTENED STRAIN RELIEF ONTO MOUNTING BRACKET. (NOTE! STRAIN RELIEF SHOULD NEST INTO RECESS IN BRACKET SURFACE)
- WIRE DRIVER TO BUILDING (US : BLACK TO BLACK/WHITE TO WHITE) (EU: BLACK TO BROWN/WHITE TO BLUE)
NOTE: PURPLE AND GREY WIRES ARE USED ONLY IN 0-10V INSTALLATIONS. - WIRE DRIVER TO LAMP (RED TO RED/BLUE TO BLACK)
- SECURE CANOPY COVER TO BRACKET ASSEMBLY WITH CANOPY NUT. TIGHTEN UNTIL FIRMLY IN PLACE.



- LIGHT SOURCE
LED
FULL RANGE LIGHT CONTROL VIA 0 – 10v OR ELV DIMMER - LIGHT SOURCE REPLACEMENT
CONTACT MANUFACTURER FOR REPLACEMENT - LENGTH OF CORD SUPPLIED
8.9FT (270CM) - CARE
WIPE WITH A CLEAN, DAMP CLOTH. AVOID AMMONIA-BASED CLEANERS
BOLA SPHERE CHANDELIER
IMPORTANT: WE RECOMMEND FIXTURE BE INSTALLED BY AN ELECTRICIAN. BOLA SPHERE CHANDELIER MUST BE SECURELY ANCHORED TO 150LBS RATED JUNCTION BOX OR MOUNTED TO CEILING STUDS.
SUGGESTED HANGING CONFIGURATIONS
- DETERMINE APPROPRIATE HEIGHT ABOVE SURFACE FOR LOWEST LAMP
- SPACE EACH LAMP SUCH THAT THEY WILL NOT TOUCH EACH OTHER
- MOVE UPWARDS IN A SPIRAL PATTERN

NOTE: INSTALLATION REQUIRED STANDARD PHILIPS HEAD SCREWDRIVER AND #2 FLAT HEAD SCREWDRIVER


NOTE: INSTALLATION SHOWN IS FOR BOLA SPHERE CHANDELIER 3. FOR BOLA SPHERE CHANDELIER 5 AND 7, FOLLOW THE SAME WIRING PROCESS USING THE HOLE PLACEMENT OUTLINED IN SUGGESTED HANGING CONFIGURATIONS.

NOTE: PURPLE AND GREY CORDS ARE USED ONLY WITH 010 V DIMMER SWITCH AND SHOULD NEVER BE ATTACHED TO THE TERMINAL BLOCK. CONTACT PABLO IF FURTHER INSTRUCTION IS REQUIRED
[email protected]
[email protected]
888 MARIN STREET
SAN FRANCISCO, CA
94124
PABLODESIGNS.COM
PABLODESIGNS.EU


















