PRODUCT SPECIFICATION
100.1m
MINI CANOPY
Owner’s Manual
100.1m Mini Canopy


| PENDANTS: | one |
| MOUNTING: | mini canopy 30mm (1.2”) in diameter x 11mm (0.4”) deep |
| LAMPING: | 1.5w LED (2000K, 2500K, 3500K) |
| CABLE: | adjustable. 3000mm (10’) standard / up to 24600mm (80’) maximum |
| MATERIALS: | blown glass, braided metal coaxial cable, electrical components, swag hooks, aircraft cable, brushed nickel canopy |
| WEIGHT | approximately 3.5kg (7 .6lb) |
| POWER SUPPLIES: | remote mounted (fi xture does not hook directly to a junction box). Power supplies included |
DESCRIPTION
The ‘m’ designation in this 100 variant refers to the mini canopy. The mini canopy is just over 30mm (1.2”) in diameter and 11mm (0.4”) deep, which creates a subtle profi le that will essentially disappear into the application surface. This fixture is designed to be horizontal, meaning that the pendants don’t hang directly below, but instead trail off across a space, around a corner or simply deviate from their gravitational directive. As such, this fi xture is designed to be hung from any number of optional swag points mounted elsewhere from the canopy.
100 brings multiple glass artists together in a performative act. Molten glass bubbles are prepared and then smashed together to produce unpredictable interlocking glass forms.
NOTES
+ Purchase replacement lamps online at www.bocci.com/shop/bulbs
+ Aircraft cable lengths are adjustable on site – 3000mm (10’) is the standard maximum. Drop lengths specifi ed in 3m/10’ increments and are cut to length on site with steel cable cutters (cutters not supplied).
- Very carefully uncoil the braided coaxial cable in a spool like manner. Insert your index fi ngers into opposite sides of the roll then rotate your fi ngers around each other to unroll the coaxial cable.
Use patience: allow the cable to uncoil completely to avoid kinks.
- Drill a maximum 9mm (0.35”) diameter hole in ceiling material. Pull low voltage house wire through the hole.
Note: There MUST be adequate backing, not just the drywall.
This low voltage wire will run to a remote mounted power supply.
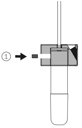
- Thread the coaxial cable through the canopy, use a 2mm Allen key to loosen the setscrew in the canopy and gently feed the cable through until you have reached your desired drop length.
Use Allen key to tighten the setscrew to hold the strain relief and secure the coaxial cable at its new length.
Perform a gentle tug test to ensure it is secure.
DO NOT OVERTIGHTEN.
Note: The strain relief is a black plastic collar around the coaxial cable. There is a single slot opening on the side of the strain relief component. It is essential that this opening is oriented at 90 degrees to set screw chamber. There can be no contact between the set screw and the cable.
RISK OF ELECTRIC SHORT!
- Primary: connect live and neutral power supply leads to supply wiring. Line with Live wire and Neutral with Neutral.
Secondary: Connect (+/-) wires to the coaxial cable using #16 butt splices, provided (stagger the splices).
For multiple pendant installations, ensure that the braided outer wires are all connected to one 12V output wire and all inner insulated wires are connected to the other or a short will occur.
Wires are 1.02mm (18AWG).
Note: Insulated core is positive and braided exterior is negative.
- The client is responsible to ensure fasteners are attached to a robust structural substrate.
Affi x mini-canopy to ceiling surface with fasteners provided. Twist the threaded cover into place.
Turn power to fixture on.
- Please note that the crisp cut edges of the 100 pendants are fragile and can chip if not handled with care when installing and cleaning.
Bocci recommends wearing gloves during the installation. The edges of the glass may be sharp to handle.
- Clean fingerprints from surfaces.
Attach the lamp holder to the pendant hardware with set screw provided.
Plug the lamp into lamp holder. Do not touch the lamp with your bare hands. Ensure power to lamp is working correctly.
For additional assistance, please contact Bocci:
- Mark a point directly above the pendants desired location and screw.

- Ensure that the ceiling at the swag location is strong enough to hold 2kg (5lbs) before attaching swag hook with the provided screws.
Set the screws (provided) into an appropriate anchor (not provided).
Thread the swag hook on to the mounting plate, ensuring all the threads are engaged.
- Slide the ball end of the aircraft into the slot on the swag hook. Give this a pull test, make sure that the ball is seated.

- Clean fingerprints from surfaces.
Feed the aircraft cable through the pendant hardware and into the cable gripper. Slide the cable gripper into channel on the pendant hardware. Pull the aircraft cable and slide the cable gripper to adjust the height.
Once height of pendant is confi rmed, cut the aircraft cable using aircraft cutters.
Slide on the diffuser.
For additional assistance, please contact Bocci:
- Insert the pendant hardware assembly into the pendant.
Tighten the 3 screws until they are fully engaged (refer to illustration above). - Give the pendant a gentle pull to ensure the screws are locked onto the pendant.
Slide cover cap onto the coaxial cable and place into the inset portion of the pendant hardware.
- The cover cap should sit fl at on the pendant hardware.
If the screws are sticking out and the cap isn’t sitting flat on the pendant hardware, please check to ensure the screws are fully engaged.
Refer to previous illustration for more details.
- Clean fingerprints from surfaces.

For additional assistance, please contact Bocci:
Vancouver
[email protected]
www.bocci.com
Berlin
[email protected]
www.bocci.com
US Patent Pending
EU Patent # 008526131-0001
Made in Vancouver, Canada
© 2022, Bocci Design and Manufacturing Inc. All rights reserved. Any inquiries should be directed to: [email protected]






























