Robinhood RWY3CL6SS Wall Canopy Instruction Manual
Congratulations
Thank you for choosing one of our appliances. Before you use the appliance, we strongly recommend that you read through the whole user manual which provides important safety instructions and description of the product and the proper use of its functions.
To avoid the ever‐present risks involved with using an electrical appliance it is vital that the oven is installed correctly and that you read the safety instructions carefully to avoid misuse and hazards. It is important that you retain these instructions and your proof of purchase along with any other important documents about this product for future reference.
Due to continual product development, Shriro reserves the right to alter specifications or appearances without notice.
DISPOSAL INFORMATION
- Most of the packing materials are recyclable. Please dispose of these materials through your local recycling depot or by placing them in appropriate collection containers.
- If you wish to discard this product, please contact your local authorities and ask for the correct method of disposal.
Important Safety Instructions
IMPORTANT: Read the assembly instruction section and safety precautions of this booklet carefully before removing the contents of this carton.
- In certain circumstances electrical appliances may be a safety hazard.
- This appliance is not intended for use by persons (including children) with reduced physical, sensory or mental capabilities, or lack of experience or knowledge, unless they have been given supervision or instruction concerning the use of the appliance by a person responsible for their safety. Children should be supervised to ensure that they do not play with the appliance.
- Do not check the status of the filters whilst the cooker hood is operating.
- Do not touch the light bulbs after use.
- Do not disconnect the appliance with wet hands.
- Do not disconnect the power supply by pulling on the cable.
- Do not flambé underneath the range hood.
- Avoid free flame, as it may cause damage to the filters and can be a fire hazard.
- Unplug the appliance before carrying out maintenance and cleaning.
- If the power cord is damaged, it must be replaced by the manufacturer, an authorized service center or similarly qualified persons to avoid a hazard.
- For indoor use only.
- It is recommended to operate the range hood prior to cooking.
- It is recommended to leave the range hood in operation for 15 minutes after cooking is terminated in order to completely eliminate cooking vapors and odors.
- Turn off the range hood when not in use.
- Do not use the range hood if it is damaged, especially the supply cord and the case.
- Do not immerse the range hood in liquid.
- The exhaust air must not be discharged into a flue which is used for exhausting fumes from an appliance burning gas or other fuels.
- Regulations concerning the discharge of air must be fulfilled.
- There shall be adequate ventilation of the room when the range hood is used at the same time as appliances burning gas of other fuels (not applicable to appliances that only discharge the air back into the room).
- Clean the surface of the cooker hood regularly using a cloth moistened with denatured alcohol or a nonabrasive liquid detergent.
- There is a fire risk if cleaning is not carried out in accordance with the instructions.
- The range hood must be mounted at a minimum distance of 60cm above the cooking surface.
- CAUTION: Accessible parts may become hot when used with cooking appliances.
- Warning: Failure to install the screws or fixing device in accordance with these instructions may result in electrical hazards.
- The power plug shall be accessible after installation.
- Rangehood and other cooking fume extractors may adversely affect the safe operation of appliance burning gas or other fuels (including those in other rooms) due to back flow of combustion gases. These gases can potentially result in carbon monoxide poisoning. After installation of a rangehood or other cooking fume extractor, the operation of flued gas appliances should be tested by a competent person to ensure that back flow of combustion gases does not occur.
Electrical Shock Hazard
- Only plug this unit into a properly earthed outlet. If in doubt seek advice from a suitably qualified engineer.
- Failure to follow these instructions can result in death, fire, or electrical shock.
Appliance Details
| Voltage & Frequency: | 220‐240V 50Hz |
| Lamp Max: | 2 x 1.5W LED |
| Rated Input Power: | 103W |
RWY3CL6SS/RWY3CL9SS
General Information
Before installing and operating the rangehood, carefully read the following important information regarding installation safety and maintenance. Keep this information booklet accessible for further consultations. The appliance has been designed to exhaust cooking fumes externally
Installation Instructions
Preparation
Ensure the rangehood is not connected to the power supply until installation is complete. If you have an outlet leading outside, you can connect your rangehood, according to the image below, by means of an extraction duct (enamel, aluminum, flexible pipe or inflammable material) with an interior diameter of 150mm.
The rangehood must be placed at least 60cm above the cooking surface. For best effect, do not install the rangehood more than 75cm above the cooking surface.
Wall Mounting
- Drill three 8mm holes to mount the bracket. Screw and tighten the bracket to the wall using the screws and screw plugs supplied.

- Lift the range hood and hang it on the wall bracket.

Exhaust
Fix the one-way valve to the air outlet of the rangehood, and then attach the exhaust pipe (needs to be purchased separately) to the one-way valve.
Chimney Installation
Put the inner chimney piece inside the outer chimney. Slide the inner chimney up to the desired height. Fix it into place on plate I with two 4x8mm screws, as below.

Drill two 8mm holes to accommodate plate II. Screw and tighten plate II to the wall with two 4x30mm screws. Assemble the chimney onto the rangehood and fix the base with two 4x8mm screws. Fix the inner chimney with two 4x8mm screws.

Re-circulation
If you do not have a vent leading outside, the rangehood can be installed in recirculation mode. Activated carbon filters (need to be purchased separately) will be used to filter the air and recirculate it back into the room. Installation is similar to the installation method for exhaust above, but without the duct.
- Once the rangehood has been mounted and the chimney has been installed (see previous pages), the activated carbon filters need to be installed.
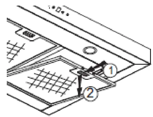
- Remove the grease filter by pressing the lock and pulling down.

- Attach the carbon filter onto the motor and turn it clockwise to lock it in. Repeat for the other side

Note: Ensure that the carbon filter is properly locked in place. If it is not, it can fall off and cause damage.
Operating Instructions
Controls
On / Off
Push to turn the fan on / off.
Low Speed
Push to set the fan to low speed.
Medium Speed
Push to set the fan to medium speed.
High Speed
Push to set the fan to high speed.
Light
Push to turn the light on / off.
Troubleshooting
| Fault | Possible Cause | Solution |
| Light on, but motor does not work | Fan switch turned off | Select a fan switch position. |
| Fan switch failed | Contact service center. | |
| Motor failed | Contact service center. | |
| Light does not work; motor does not work | House fuses blown | Reset/Replace fuses. |
| Mains power cable is loose or disconnected | Refit mains power cable to power outlet.Switch power outlet on. | |
| Oil leakage | One way valve and the outlet are not tightly sealed | Take down the one-way valve and seal with sealant. |
| Leakage from the connection of chimney and cover | Take chimney down and seal. | |
| Lights not working | Broken or faulty bulbs | Replace bulbs as per this instruction. |
NOTE:
Any electrical repairs to this appliance must conform to your local, state and federal laws. Please contact the service center if in any doubt before undertaking any of the above. Alway disconnect the unit from the power source when opening the unit.
Cleaning and Maintenance
Caution
- Before maintenance or cleaning is carried out, the cooker hood should be disconnected from the mains power supply. Ensure that the cooker hood is switched off at the wall socket and the plug removed.

- External surfaces are susceptible to scratches and abrasions, so follow the cleaning instructions to ensure the best possible result is achieved without damage.
- Cleaning and maintenance should be carried out with the appliance cold especially when cleaning. Avoid leaving alkaline or acid substances (lemon juice, vinegar etc.) on the surfaces.
- The stainless steel must be cleaned regularly (e.g., Weekly) to ensure a long-life expectancy. Dry with a clean, soft cloth. A specialized stainless steel cleaning fluid may be used.
- Ensure that wiping is done along with the grain of the stainless steel to prevent any unsightly crisscross scratching patterns from appearing.
- the inlay control panel can be cleaned using warm soapy water. Ensure the cloth is clean and well wrung before cleaning. Use a dry soft cloth to remove any excess moisture left after cleaning.
- Using neutral detergents and avoid using harsh cleaning chemicals, strong household detergents or products containing abrasives, as this will affect the appearance of the appliance and potentially remove any printing of artwork on the control panel and will void manufactures warrantee.
GREASE MESH FILTERS
The mesh filters can be cleaned by hand. Soak them for about 3 minutes in water with a mild detergent and then brush it gently with a soft brush. Do not apply too much pressure to avoid any damage to it. (Leave to dry naturally out of direct sun light) Filters should be washed separately to crockery and kitchen utensils. It is advisable not to use rinse aid.
INSTALLING GREASE MESH FILTERS
To install filters for the following four steps:
- Angle the filter into the slots at the back of the hood.
- Push the button on the handle of the filter.
- Release the handle once the filter fits into a resting position.
- Repeat to install all filters
Cleaning and Maintenance
Note: Before cleaning, disconnect the rangehood from the power supply.
Regular Cleaning
Use a soft cloth dampened with lukewarm, mildly soapy water to wipe the surface clean. Never use metal pads, chemicals, abrasive materials, or stiff brushes to clean the rangehood.
Monthly Cleaning – Grease Filter
Essential: Clean the filter every month to prevent the risk of fire. The filter collects grease, smoke, and dust; therefore, the filter directly affects the efficiency of the rangehood. If not cleaned, the grease residue (potentially flammable) will saturate the filter. Clean it with household cleaning detergent.
Annual Cleaning – Activated Carbon Filter
Applicable only to units installed in the recycling mode (not vented outside). This filter traps odors and must bereplaced at least once a year, depending on how frequently the rangehood is used.
Bulb Replacement
The LED lamps cannot be replaced by the consumer. If any faults occur, please call your nearest Service Department
Warranty Certificate (New Zealand)
Terms and Conditions
The following conditions apply in respect of the warranty given in this certificate:
- Monaco Corporation Limited (“Monaco”) warrants the following Robinhood products against manufacturing defects and faulty materials, under normal
use and subject to the exclusions in this certificate, for a period of:- Rangehood, Ovens, Cooktops, Dishwashers, Refrigeration – 24 months from date of original purchase for domestic use.
- Uniduct – 12 months from date of original purchase for domestic use.
- Ironing centre – 12 months from date of original purchase for domestic use.
- Sinks sets– 5 years on stainless steel sink including draining bench from date of original purchase for domestic use, 6 months on all stainless steel accessories, including wire rack, colander and tray from date of original purchase for domestic use.
- Laundry Tub – 5 years on stainless bowl, 24 months on Tap, Cabinet and other components from the date of original purchase for domestic use “Original purchase”, when used in this certificate, means purchase by the customer directly from Monaco or one of its approved suppliers.
- This warranty is limited to the repair or replacement, at our option, within the warranty period of any component part which we at our discretion determine to contain faulty materials or a manufacturing defect in breach of this warranty. This warranty is subject to terms and conditions set out in this certificate.
- The warranty only applies within New Zealand. 4. The customer must produce the original invoice or other purchase documentation as proof of the original purchase date.
Warranty exclusions
- The warranty does not apply where, in Monaco’s opinion:
- The defect is caused by misuse, wear and tear, dirt, fire or accidental damage. The product has been repaired or serviced by an unauthorised person.
- The product was not installed in accordance with our instructions.
- The product was purchased overseas or was not designed for use in New Zealand. The product was not used, cleaned or cared for in accordancewith our instructions.
- The product was used outdoors.
- In addition, this warranty does not extend to damage or defects which in our opinion, directly or indirectly arise from or are due to:
- Exposing the product to acidic or corrosive materials or chemicals such as dyes, solvents, denture cleaner or acetone; Using inappropriate household cleaning products such as abrasive cream or powder cleansers, furniture polish, bleach, mentholated spirits, drain cleaners, sugar soap, metal pads and strongly alkaline or acidic cleaners;
- Heat damage, including from washing the product at high temperatures;
- Impact or mishandling the product, including the impact caused by objects scraped along, thrown or dropped on the product surface or excessive weight being placed on the product;
- Structural or support changes in or affecting the building or the application where the product has been installed;
- Failure to clean or maintain the product as recommended; or any other causes specified in the product information as being excluded from this warranty.
- Variations with the colour or gloss within the product or any ageing or fading of colour, shine or gloss level over time are not covered by this warranty. The warranty does not cover visual imperfections or blemishes in the surface and edges of the product that were not brought to your supplier’s attention at the time you inspected the product.
- Costs incurred on installation or removal of a product, or any reinstallation of a product, or any associated costs, are not covered by this warranty.
- Monaco will not be liable for consequential or indirect loss or damage whatsoever and however arising out of or in connection with the supply, performance or removal of the product, including (but not limited to) loss of profit, loss of revenue, loss of contract, loss of goodwill or increased cost of workings, even if due to the negligence of Monaco or any of its approved suppliers, employees or agents.
- Charcoal filters and light bulbs are not covered by this warranty
- This warranty and the statements contained in this certificate or other documents given to you do not exclude, restrict or modify the application of any term implied into this warranty by statute, provided that (to the extent any statutory provision permits Monaco to limit its liability for a breach of an implied condition or warranty) Monaco’s liability for such breach is limited to the payment of the cost of replacing the product, repairing the product or acquiring an equivalent product.
- Subject to clause 5, our obligations under this warranty are limited to those set out in this certificate, and this warranty is expressly instead of all other warranties, express or implied, including any implied warranty of merchantability or fitness for a particular purpose and notwithstanding any course of dealing between the parties or custom and usage in trade to the contrary.
Terms and conditions are subject to change.
Warranty Certificate (Australia)
If you are a consumer under the Australian Consumer Law, our goods come with guarantees that cannot be excluded under the Australian Consumer Law. You are entitled to a replacement or refund for a major failure and for compensation for any other reasonably foreseeable loss or damage. You are also entitled to have the goods repaired or replaced if the goods fail to be of acceptable quality and the failure does not amount to a major failure.
- Shriro Australia Pty Limited (“Shriro”) also warrants the following products against manufacturing defects and faulty materials, under normal use and subject to the exclusions in this certificate, for a period of:
- Rangehood, Ovens, Cooktops, Dishwashers, Refrigeration – 24 months from date of original purchase for domestic use.
- Uniduct – 12 months from date of original purchase for domestic use.
- Ironing centre – 12 months from date of original purchase for domestic use.
- Sinks sets– 5 years on stainless steel sink including draining bench from date of original purchase for domestic use, 6 months on all stainless steel accessories, including wire rack, colander and tray from date of original purchase for domestic use.
- Laundry Tub – 5 years on stainless bowl, 24 months on Tap, Cabinet and other components from the date of original purchase for domestic use. “Original purchase”, when used in this certificate, means purchase by the customer directly from Shriro or one of its approved suppliers.
- This warranty is limited to the repair or replacement, at our option, within the warranty period of any component part which we at our
discretion determine to contain faulty materials or a manufacturing defect in breach of this warranty. This warranty is subject to terms and conditions set out in this certificate. - The warranty only applies within Australia.
- For warranty service outside of capital city metropolitan area or 30 km from nearest authorised service agent you will be liable for reasonable travelling expenses and the cost of transport of the product or parts to and from the service agent
- To make a claim under this warranty, you must produce the original invoice or other purchase documentation as proof of the original purchase date. You must send your claim within 7 days of any alleged defect or failure of the product first becoming apparent. You are responsible for the expense of making a claim under this warranty.
This warranty is given by: Shriro Australia Pty Ltd ABN 28 002 386 129
Telephone: 1800 648 556
Facsimile: 1800 628 577
Email: [email protected]
www.robinhood.com.au
Attention: Customer Services Manager
Warranty exclusions
- The warranty does not apply where, in Shriro’s opinion:
- The defect is caused by misuse, wear and tear, dirt, fire or accidental damage. The product has been repaired or serviced by an un authorised person.
- The product was not installed in accordance with our instructions.
- The product was purchased overseas or was not designed for use in Australia.
- The product was not used, cleaned or cared for in accordance with our instructions.
- The product was used outdoors.
- All rangehoods are suitable for indoor use only and not suitable over BBQs or charcoal cookers designed for outdoor use.
- In addition, this warranty does not extend to damage or defects which in our opinion, directly or indirectly arise from or are due to: exposing the product to acidic or corrosive materials or chemicals such as dyes, solvents, denture cleaner or acetone; using inappropriate household cleaning products such as abrasive cream or powder cleansers, furniture polish, bleach, mentholated spirits, drain cleaners, sugar soap, metal pads and strongly alkaline or acidic cleaners; heat damage, including from washing the product at high temperatures; impact or mishandling the product, including the impact caused by objects scraped along, thrown or dropped on the product surface or excessive weight being placed on the product; structural or support changes in or affecting the building or the application where the product has been installed; failure to clean or maintain the product as recommended; or any other causes specified in the product information as being excluded from this warranty.
- Variations with the colour or gloss within the product or any ageing or fading of colour, shine or gloss level over time are not covered by this warranty. The warranty does not cover visual imperfections or blemishes in the surface and edges of the product that were not brought to your supplier’s attention at the time you inspected the product.
- We will not be responsible under this warranty for, nor pay the costs of, removing the existing product, or reinstalling the new product, or any associated costs or damages.
- Charcoal filters and light bulbs are not covered by this warranty.
The benefits given by this warranty are in addition to other rights and remedies of consumers under any law in relation to the goods which cannot be excluded. This warranty certificate is not intended to create a contract between Shriro Australia Pty Limited and the purchaser.
Australia
Shriro Australia Pty Ltd
ABN 28 002 386 129
Telephone: 1800 648 556
Facsimile: 1800 628 577
Email: [email protected]
New Zealand
Monaco Corporation Ltd
Telephone: (09) 415 6000
Facsimile: (09) 415 7400
Email: [email protected]
www.robinhood.co.nz
![]()























