Tigo TSB-10-20-US EI Battery Storage

Product Information
The Energy Intelligence (EI) Battery Storage is a battery enclosure that can store energy and is used for power backup. The product comes with a Quick Start Guide, safety-lock screws, sleeve anchors, and wire ferrules. The battery enclosure has a handle, front cover, LED indicator, base, disconnect switch, DC knockout, power button, communications knockout, inverter connection wirebox, battery expansion wirebox, GEC/bonding terminal, and mounting tabs.
The product requires a 3ft clearance around all sides for mounting and appropriate hardware must be used for the mounting surface. Personal Protective Equipment (PPE) must be worn for personal safety. The battery module serial numbers are labeled on the module and the box they shipped in.
Product Usage Instructions
General Information – Specification
Before installing the system, read the Energy Intelligence (EI) Battery Storage Installation & Operations Manual for details.
Damage caused by failure to follow the contents of the manual is not covered by the warranty. Check that the package contents are intact and complete against the packing list before installing the system. If any damage is found or any component is missing, contact your dealer.
EI Battery Enclosure Overview
The battery enclosure must have a 3ft clearance around all sides for mounting. Use appropriate hardware for the mounting surface and wear PPE for personal safety.
Installation
To remove the cover of the battery enclosure, remove the bottom plate and unscrew 3 screws from each side, 6 total. Unlatch the 2 front door locks from the bottom. Tilt up and carefully swing door to the left, using caution to not pull ground or display wires.
Unscrew ground conductor and unplug display cable then set door aside.
To install the battery modules, place the battery in the enclosure then slide the brackets inward on each side of the battery and tighten the wingnut to secure. Repeat for batteries 2 and 3. The battery module serial numbers will be needed for the commissioning. These are labeled on the module and the box they shipped in.
Connecting the Batteries
For wiring the upper battery, locate the cables labeled for the upper battery module. Connect the PCS cable to the battery terminal labeled PCS. Connect the upper battery link-out cable to the battery port labeled link-out. Connect the + plug to the red battery terminal labeled +. Connect the – plug to the black battery terminal labeled -.
For wiring the lower batteries, locate the cables labeled for the lower battery modules. Connect provided lower inner battery link-out cable in the COM port in the battery expansion wirebox (12).
For battery expansion – Parallel Connection, connect the outer battery to the upper battery and click. Connect the inner battery to the outer battery and click. Repeat for additional batteries.
General Information specification
ATTENTION: READ FIRST
- This document is for quick guidance only. For details, please refer to the Energy Intelligence (EI) Battery Storage Installation & Operations Manual.
- Damage caused by failure to follow the contents of the EI Battery Storage Installation & Operations Manual is not covered by the warranty.
- Before installing the system check that the package contents are intact and complete against the packing list. If any damage is found or any component is missing, contact your dealer.
Package Contents
| Item | Quantity | ||
| Battery Enclosure | 1 | ||
| Quick Start Guide | 1 | ||
| Safety-lock screws | 6 | ||
| Sleeve anchors | 2 | ||
| Wire ferrules | 4 |
EI battery enclosure overview

- Handle
- Battery enclosure
- Base
- Disconnect Switch
- DC Knockout
- Power Button
- Communications knockout
- Inverter connection wirebox
- Front cover
- LED indicator
- Base front cover
- Battery expansion wirebox
- GEC/bonding terminal
- Mounting tabs
- Heat sink
Installation
System overview

- Battery Power
- Battery Communication
- Extension Cabinet Communication
- Extension Cabinet Breaker
- PCS Terminal
- Link-In Terminal
- Link-Out Terminal
- Battery Ports
Mounting
CAUTION – Ensure 3ft clearance around all sides. Use appropriate hardware for the mounting surface. For personal safety always wear appropriate PPE.
- Rotate mounting tabs (14) 90° to face outward.
- Mark holes for drilling. Drill 2” deep holes with an 8mm bit.
- Insert anchor bolt sleeve. Position the battery enclosure mounting tabs anchor sleeve. Secure with washers and bolts.

Removing the cover
WARNING – the door has a grounding wire and display cable attached to the interior. Use caution and detach wires before attempting to remove the door.
- Remove the bottom plate (11) and remove 3 screws from each side, 6 total. Unlatch the 2 front door locks from the bottom.
- Tilt up and CAREFULLY swing door to the left, using caution to not pull ground or display wires.
- Unscrew ground conductor and unplug display cable then set door aside.

Install the battery modules
Note – The battery module’s power terminals face the right side of the enclosure. Install top battery before bottom battery packs. Three battery modules per enclosure: 1 on top, 2 on bottom.
- The battery module serial numbers will be needed for the commissioning. These are labeled on the module and the box they shipped in.
- Place the battery in the enclosure then slide the brackets inward on each side of the battery and tighten the wingnut to secure.
- Repeat for batteries 2 and 3.

Connecting the Batteries
Wiring the upper battery
CAUTION – Do not reverse positive and negative of the battery input terminal. Note – The battery conductors and communications cables are labeled and located inside the enclosure. CAREFULLY cut cable ties and connect as shown. When properly installed a click will be heard.
Upper battery connections
- Locate the cables labeled for the upper battery module.
- Connect the PCS cable to the battery terminal labeled PCS.
- Connect the upper battery link-out cable to the battery port labeled link-out.
- Connect the + plug to the red battery terminal labeled +.
- Connect the – plug to the black battery terminal labeled -.

Wiring the lower batteries
CAUTION – Do not reverse positive and negative of the battery input terminal.
Note – IF INSTALLING ONLY ONE BATTERY ENCLOSURE, A terminating cap is required in the COM port in the battery expansion wirebox (12).
Lower battery connections

- Locate the cables labeled for the lower battery modules.
- Connect provided lower inner battery link-out cable (loose cable) to the lower inner battery terminal labeled link-out.
- Connect the opposite end of the lower inner battery link-out cable from step 2 to the link-in terminal on the lower outer battery.
- Connect the lower inner battery link-in cable to the lower inner battery link-in terminal.
- Connect the lower inner battery + plug to the lower inner battery red terminal labeled +.
- Connect the lower inner battery – plug to the lower inner battery black terminal labeled -.
- Connect the lower outer battery + plug to the lower outer battery red terminal labeled +.
- Connect the lower outer battery – plug to the lower outer battery black terminal labeled -.
- Connect the outer lower battery link-out cable to the link-out terminal on the lower outer battery.
- Insert terminating cap in the CAN/COM terminal in the battery expansion wiring box.
Battery expansion – Parallel Connection
Note – This section applies to systems with multiple battery enclosures. The battery expansion cables/conductors should not exceed 6ft-7in. If installing only one enclosure, skip this step.
Wiring the battery modules (Battery enclosure 2)
If installing a second EI Battery enclosure complete the power, Link-In and Link-Out connections as described in the previous section.
EI Battery enclosure 1
Insert terminating cap in the Link-in terminal of battery module 1 (upper module/enclosure 1).

EI Battery enclosure 2
The terminating cap is inserted in the CAN/COM terminal in the Battery expansion wire box (12).
Note – In the next section, Wiring the EI Battery – Battery expansion, a communication cable is routed between the two enclosures. At the second enclosure this cable will terminate at the Link-in terminal of battery module 4 (upper module/enclosure 2).
Battery expansion – Series Connection
Note – This section applies to systems with multiple battery enclosures. The battery expansion cables/conductors should not exceed 6ft-7in. If installing only one enclosure, skip this step.
- Using a Philips screwdriver, loosen 2 captive screws on the expansion wirebox (12) on the right side of each enclosure.
- Install 2 conduits from the right side of enclosure 1 to the right side of enclosure 2 for the DC conductors and communication cable. Use appropriate conduit fittings to provide a water-tight seal.
- Prepare 2 DC conductors 6AWG and route through the conduit and one CAT5/6 with RJ45 connectors on each end.
- Connect BAT-Expansion + from enclosure 1 to BAT-Expansion + of enclosure 2.
- Connection BAT-Expansion – from enclosure 1 to BAT-Expansion – of enclosure 2.
- Connect a communication cable from the Link Out port of Battery 3 (enclosure 1) to the Link In port of Battery 4 (enclosure 2).
- Plug terminating cap into the COM port of enclosure 2.

GEC/Bonding terminal
If an external bonding point or grounding electrode conductor is required, these may be connected to right side of the enclosure at the GEC/Bonding terminal. This is not required for the operation of the equipment.

Connecting the inverter
CAUTION – Risk of electric shock! Ensure the inverter and battery cabinet are completely powered off when these steps take place. Make sure to connect the battery inverter first and then connect the communications cable to the inverter.
Note – This section corresponds to section 3.7 and 4.2 in the EI Inverter Quick Start Guide.
Reference that document by scanning the QR code.
- Loosen the two captive screws on the left side of the battery enclosure’s inverter connection wirebox (8).
- Remove the two waterproof knockouts (5), (7) at the bottom of the left side of the enclosure. Connect two conduits from the battery enclosure to the inverter. Use appropriate water-tight fittings.
- Prepare two conductors, 10-8AWG with wire ferrules and route through the conduit.
- Verify the BAT-switch is in the OFF position, and connect the conductors as follows:
- Insert the battery conductors into the terminals of BAT+ and BAT- (EI Inverter Quick Start Guide 3.7).
- Insert the RJ45-CAT5/6 communications cable into the INV terminal (EI Inverter Quick Start Guide 4.2).
- Once complete, replace the wirebox covers and the enclosure cover by reversing the steps of section 2.4

Pre-power checklist
| Check Item | Acceptance Criteria |
| Communications cable | The communications cable is labeled and properly connected to both the inverter and battery communications terminals. |
| Battery power conductors | The battery power conductors are labeled and properly connected to the inverter and battery terminals. |
| GEC/bonding | If required, the GEC/bonding conductor is properly connected. |
| Expansion wiring | If multiple batteries installed, BAT-Expansion+/BAT-Expansion- conductors and communications cable are properly connected. |
| Conduit connections | All conduit attachments are sealed and bonded, when necessary. |
| Unused conduit openings | Any unused conduit openings are fitted with waterproof caps (provided) or left unopened. |
| Disconnect switches | The BAT-switch and all other switches connecting to the EI Battery are OFF. |
| Installation environment | An appropriate installation space had been chosen and the environment is left clean and accessible. |
Powering on the battery storage system
CAUTION – For personal safety always wear appropriate PPE.
Note – All other components of the EI Battery Storage system, including the energy meter must be installed for the system to operate.
- Turn ON the BAT-switch in the Inverter connections wirebox (8).
- If multiple batteries installed, turn on the BAT-Expansion breaker in the Battery expansion wirebox (12). Otherwise, skip this step.
- Turn on the inverter, while waiting 10 seconds for the inverter to send the wake-up signal observe the LED indicator of the battery enclosure. Confirm the battery system enters the discharge state (center leaf is lit).
- The battery storage system has been successfully started.
LED indicators

A: Middle indicator (indicate status)
B: Ring indicator (indicate battery power)
LED lights are displayed as follows in TSB-10/20-US different states:
| Number | Status | LED light display |
| 1 | Standby state | Center leaf; flashing green (0.5 seconds on and 2 seconds off) indicates the standby state. Ring indicator-refer to Discharge state. |
| 2 | Charge state | Center leaf; green light is on. Ring indicator indicates: 1. Power≤25%, LED B1 flashes, LED B2/3/4 are off; 2. Power≤50%, LED B1 is on, LED B2 flashes, LED B3/4 are off; 3. Power≤75%, LED B1/2 are on, LED B3 flashes, LED B4 is off; 4. Power>75%, LED B1/2/3 are on, LED B4 flashes. |
| 3 | Discharge state | Center leaf green light is on. Ring indicator indicates: 1. Power≤25%, LED B1 is on, LED B2/3/4 are off; 2. Power≤50%, LED B1/2 are on, LED B3/4 are off; 3. Power≤75%, LED B1/2/3 are on, LED B4 are off; 4. Power>75%, LED B1/2/3/4 are on. |
| 4 | Alarm state | Center leaf; green light flashes (0.5 seconds on and 0.5 seconds off, 0.5 seconds on and 2 seconds off). Ring indicator-refer to Discharge state. |
| 5 | Fault state | Center leaf; red light flashes (1 second on and 1 second off). Ring indicator-refer to Discharge state. |
| 6 | Upgrade state | Center leaf; yellow light flashes(1 second on and 1 second off) indicates the upgrade state. Ring indicator-refer to number 1. |
| 7 | Manual forced power on | Center leaf; green light flashing (0.1 seconds on and 0.1 seconds off) . Ring indicator-refer to Discharge state. |
| 8 | Manual forced shutdown | Center leaf; red light flashing (0.1 seconds on and 0.1 seconds off). Ring indicator-refer to Discharge state. |
Forced start/shutdown
To force start or shutdown the EI Battery:
- Using a Philips screwdriver, remove the screws from the cover of the forced start power button (6).
- Press and hold the button for 10 seconds until:
- OFF: The center leaf changes from green to red and begins flashing quickly (0.1s on/off)
- ON: The center leaf begins flashing green (0.1s on/off).
- After the forced start/shutdown is successful, reinstall the cover.

Your Customer Service Contact
Tigo Energy, Inc.
655 Campbell Technology Pkwy Campbell, CA 95008
T: +1 408 402 0802
https://support.tigoenergy.com/

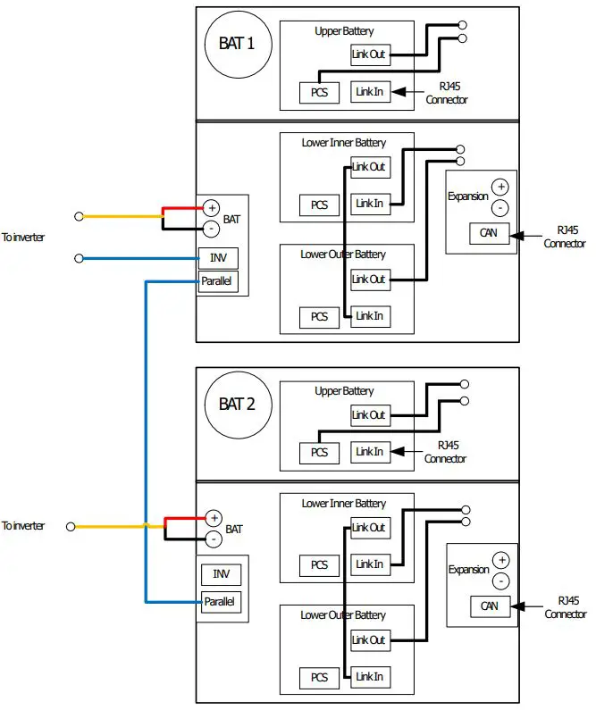
Two Battery Cabinet Wiring

Legend:
Cable included in cabinet: Black – CAT5 cable
Installer made cables: Blue – CAT5 cable
Yellow – 8 or 10 AWG cables
Four Battery Cabinet Wiring

Legend:
Cable included in cabinet: Black – CAT5 cable
Installer made cables: Blue – CAT5 cable
Yellow – 8 or 10 AWG cables Green – 6AWG cables
©20230419 Tigo Energy, Inc. 002-00083-00 3.1



















