SAMSUNG QM32R-A 32 Inch FHD Standalone Smart Signage Display User Guide
Checking the Components
Contact the vendor where you purchased the product if any components are missing. Components may differ in different locations.
- Quick Setup Guide
- Regulatory guide
- Batteries (AAA x 2) (Not available in some locations)
- RS232C adapter
- Warranty card (Not available in some locations)
- Power cord
- Remote Control
- HOLDER-CABLE
(Supported models: QM65R-A, QM75R-A, QM65R-B, QM75R-B)
Connectors Ports
QM32R-A
QM32R-AN
QM32R-B
QM43R-A / QM50R-A / QM55R-A / QM65R-A / QM75R-A
QM43R-B/ QM50R-B/ QM55R-B /QM65R-B /QM75R-B
- Connect to a USB memory device.
*The USB ports on the product accept a maximum constant current of 1.0A. If the maximum value is exceeded, USB ports may not work. - Connects to MDC and the Internet using a LAN cable. (10/100 Mbps)
- Connects to MDC using an RS232C adapter.
- Connects to a source device using a HDMI cable or HDMI-DVI cable.
- Connects to a PC using a DP cable.
- Connect to a USB memory device. *The USB ports on the product accept a maximum constant current of 0.5A. If the maximum value is exceeded, USB ports may not work.
- Receives sound from a source device via an audio cable.
- Outputs sound to an audio device via an audio cable.
- Connects to an external IR cable that receives signals from the remote control.
- Connects to MDC using an RS232C adapter.
Connecting and Using a Source Device
Connecting to a PC
HDMI IN 1 (ARC), HDMI IN 2
DP IN
HDMI IN 1 (ARC), HDMI IN 2
Connecting to a Video Device

HDMI IN 1 (ARC), HDMI IN 2
HDMI IN 1 (ARC), HDMI IN 2
Connecting to an Audio System

AUDIO OUT
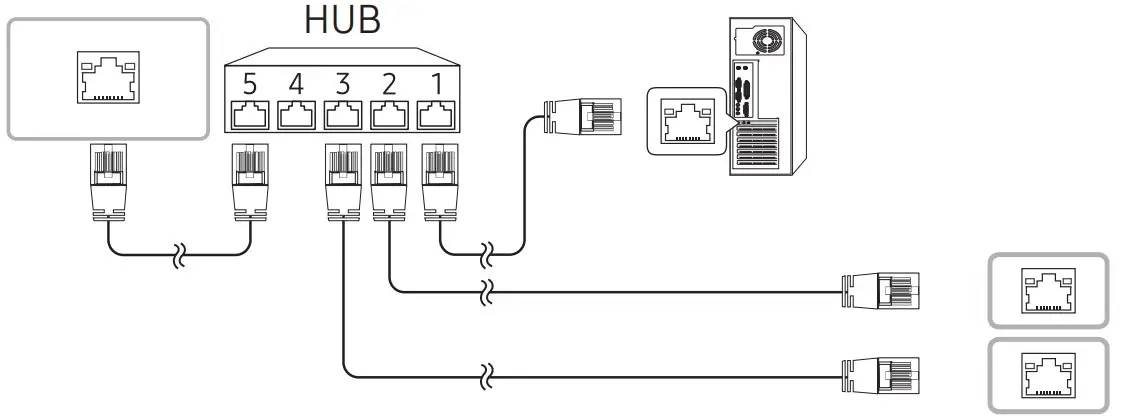
Connecting the LAN Cable

RJ45
Use Cat7(*STP Type) cable for the connection. (10/100 Mbps) Shielded Twist Pair
Connecting to MDC

RS232C IN
RS232C OUT
RJ45
RJ45
RS232C OUT
For details on how to use the MDC program, refer to Help after installing the program. The MDC program is available on the website. http://www.samsung.com/displaysolutions
Parts
QM32R-A
QM32R-AN
QM32R-B
QM43R-A / QM50R-A / QM55R-A / QM65R-A / QM75R-A
QM43R-B/ QM50R-B/ QM55R-B /QM65R-B /QM75R-B
Speaker
Speaker
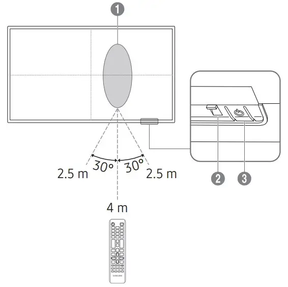
- Remote sensor
Press a button on the remote control pointing at the sensor on the front of the product to perform the corresponding function.
*Using other display devices in the same space as the remote control of this product can cause the other display devices to be inadvertently controlled. - Power indicator
- Power button
Turns the product on or off.
Troubleshooting Guide
| Issues | Solutions |
| The screen keeps switching on and off. | Check that the cable between the product and the PC is connected correctly. |
| No Signal is displayed on the screen. | Check that products (including source device) are connected correctly with a cable. |
| Check that the source device connected to the product is powered on. | |
| Depending on the type of external device, the screen may not display properly. In this case, connect it with the HDMI Hot Plug function turned On. | |
| Not Optimum Mode is displayed. | This message is displayed when a signal from the graphics card exceeds the product’s maximum resolution and frequency. |
| Refer to the Standard Signal Mode Table and set the maximum resolution and frequency according to the product specifications. |
Specifications
| Model Name | QM32R-A / QM32R-AN / QM32R-B | QM43R-A / QM43R-B | QM50R-A / QM50R-B | |
| Panel | Size | 32 CLASS(31.5 inches / 80.1 cm) | 43 CLASS(42.5 inches / 107.9 cm) | 50 CLASS(49.5 inches / 125.7 cm) |
| Display area | 698.4 mm (H) x392.85 mm (V) | 941.184 mm (H) x529.416 mm (V) | 1095.84 mm (H) x616.41 mm (V) | |
| Model Name | QM55R-A / QM55R-B | QM65R-A / QM65R-B | QM75R-A / QM75R-B | |
| Panel | Size | 55 CLASS(54.6 inches / 138.7 cm) | 65 CLASS(64.5 inches / 163.9 cm) | 75 CLASS(74.5 inches / 189.3 cm) |
| Display area | 1209.6 mm (H) x680.4 mm (V) | 1428.48 mm (H) x803.52 mm (V) | 1650.24 mm (H) x928.26 mm (V) | |
| Power Supply | AC100-240V~ 50/60HzRefer to the label at the back of the product as the standard voltage can vary in different countries. | |||
| Environmental considerations | Operating | Temperature: 32 °F – 104 °F (0 °C – 40 °C)Humidity: 10% – 80%, non-condensing | ||
| Storage | Temperature: -4 °F – 113 °F (-20 °C – 45 °C)Humidity: 5% – 95%, non-condensing | |||
- This device is a Class B digital apparatus.
- Eor detailed device specifications, visit the Samsung Electronics website.
Wall Mount Kit Specifications
| 1 ModelName | 2 VESA screw hole specs (A * B) inmillimeters | 3 C | 4 Standard Screw | 5 Quantity | ![]() |
| QM32R-A QM32R-AN QM32R-B | 200 x 200 | 20-22 mm2.0-2.2 cm | M8 | 4 | |
| QM43R-A QM43R-B | 32-33 mm3.2-3.3 cm | ||||
| QM50R-A QM55R-A QM50R-B QM55R-B | 30-31 mm3.0-3.1 cm | ||||
| QM65R-A QM65R-B | 400 x 400 | 29-30 mm2.9-3.0 cm | |||
| QM75R-A QM75R-B | 30-31 mm3.0-3.1 cm |
Warning! Important Safety Instructions
Please read the appropriate section that corresponds to the marking on your Samsung product before attempting to install the product.
CAUTION
RISK OF ELECTRIC SHOCK DO NOT OPEN
CAUTION: TO REDUCE THE RISK OF ELECTRIC SHOCK, DO NOT REMOVE COVER (OR BACK). THERE ARE NO USER SERVICEABLE PARTS INSIDE. REFER ALL SERVICING TO QUALIFIED PERSONNEL
This symbol indicates that high voltage is present inside. It is dangerous to make any kind of contact with any internal part of this product.
This symbol indicates that this product hasincluded important literature concerning operation and maintenance.
- If your equipment uses an AC adapter:
Only use the AC adapter with your product by Samsung.- Do not use the power cord with other products
- Do not install this equipment in a confined space such as a case or similar.
- The slots and openings in the cabinet and in the back or bottom are provided for necessary ventilation. The slots and openings must never be blocked or covered.
- The product should be located away from heat sources such as radiators, heat registers, or other products that produce heat.
- (For Indoor equipment only) Do not place a water containing vessel (vases etc.) on this apparatus, as this can result in a risk of fire or electric shock. (Apparatus shall not be exposed to dripping or splashing)
- The apparatus must be connected to an earthed MAINS socket-outlet (Class l Equipment only). Or Use only a properly
grounded plug and receptacle (Class l Equipment only). - To disconnect the apparatus from the mains, the plug must be pulled out from the mains socket, therefore the mains plug shall be readily operable.
- As long as this unit is connected to the AC wall outlet, it is not disconnected from the AC power source even if you turn off this unit by POWER.
- [ USA ] State of California Proposition 65 Warning
WARNING: Cancer and Reproductive Harm – www.P65Warnings.ca.gov
Contact SAMSUNG WORLD WIDE
| Country/Area | Customer Care Center |
| U.S.A | 1-800-SAMSUNG (726-7864) |
| CANADA | 1-800-SAMSUNG (726-7864) |
| ARGENTINA | 0800-555-SAMS (7267) |
| BOLIVIA | 800 107 260 |
| BRAZIL | 0800 555 0000 (Demais cidades e regiões) 4004-0000 (Capitais e grandes centros) |
| CHILE | 800 726 786 |
| COLOMBIA | Bogotá en el 600 12 72Sin costo en todo el pais 01 8000 112 112 Y desde tu celular #726 |
| COSTA RICA | 00-800-1-SAMSUNG (726-7864) |
| DOMINICAN REPUBLIC | 1-800-751-2676 |
| ECUADOR | 1-800-SAMSUN (72-6786) |
| EL SALVADOR | 8000-SAMSUNG (726-7864) |
| GUATEMALA | 1-800-299-0033 |
| HONDURAS | 800-2791-9111 |
| JAMAICA | 1-800-SAMSUNG (726-7864) |
| MEXICO | 800-SAMSUNG |
| NICARAGUA | 001-800-5077267 |
| PANAMA | 800-0101 |
| PARAGUAY | 0800-11-SAMS (7267) |
| PERU | 080077708 Desde teléfonos fijos, públicos o celulares |
| PUERTO RICO | 1-800-682-3180 |
| TRINIDAD & TOBAGO | 1-800-SAMSUNG (726-7864) |
| URUGUAY | 0800-SAMS (7267) |
| VENEZUELA | 0-800-100-5303 |
Costumer Support
(Solo México)
IMPORTADO POR : SAMSUNG ELECTRONICS MÉXICO S.A. DE C.V.
General Mariano Escobedo 476, Piso 8 Col.
Anzures, Alcaldía Miguel Hidalgo, Ciudad de México CP. 11590
TEL : (55) 5747-5100 / 800 726 7864![]()




















