WKEX300HBA Single Unit Front Load WashTower

Product Information
The Laundry Center is a washing and drying appliance designed to make laundry easy and convenient. It comes with various features that make it efficient and safe to use. The product manual contains important safety instructions, installation procedures, and usage guidelines that users should follow for optimum performance.
Product Features
- Washing and Drying capacity
- Multiple wash and dry cycles
- Side vent kit for efficient drying
- Water inlet hoses for washing
- Drain hose for water discharge
- Easy installation process
Product Usage Instructions
Installation
Before installing the Laundry Center, read the installation manual thoroughly and follow the instructions provided. Choose a proper location for installation that is well-ventilated, has sufficient space, and is level. Unpack and remove all the shipping material before connecting the electric or gas dryer. Connect the dryer side vent kit for efficient drying and install the dryer according to the manufacturer’s instructions. Connect the water inlet hoses and the drain hose properly. Finally, level the appliance and perform a final installation check.
Operation
For safe operation, read all instructions before using the Laundry Center. Load clothes according to the recommended capacity and choose a wash cycle that suits your needs. Do not wash water-resistant clothing, mattress covers, outdoor clothes, plastic mats, or any other item that is not suitable for the washing
machine as it may result in personal injury or damage to the washer, clothes, walls, floor, and surrounding objects due to abnormal vibration. Once the washing cycle is complete, load the clothes into the dryer and choose a dry cycle that suits your needs. Do not overload the dryer and clean the lint filter regularly for efficient drying.
Maintenance
To maintain the product’s efficiency, clean the appliance regularly, and remove any lint or debris that may have accumulated. Clean the lint filter after every drying cycle and check the exhaust duct for any blockages that may impede airflow. In case of any defects or malfunctions, contact a qualified technician for repairs or replacement.
IMPORTANT SAFETY INSTRUCTIONS
READ ALL INSTRUCTIONS BEFORE USE
Safety for a Dryer
WARNING
Fire Hazard
Failure to follow safety warnings exactly could result in serious injury, death or property damage.
Do not install a booster fan in the exhaust duct.
Install all clothes dryers in accordance with the installation instructions of the manufacturer of dryer.
WARNING: FIRE OR EXPLOSION HAZARD
Failure to follow safety warnings exactly could result in serious injury, death or property damage.
- Do not store or use gasoline or other flammable vapors and liquids in the vicinity of this or any other appliance.
- WHAT TO DO IF YOU SMELL GAS
- Do not try to light any appliance.
- Do not touch any electrical switch; do not use any phone in your building.
- Clear the room, building or area of all occupants.
- Immediately call your gas supplier from a neighbor’s phone. Follow the gas supplier’s instructions.
- If you cannot reach your gas supplier, call the fire department.
- Installation and service must be performed by a qualified installer, service agency or your gas supplier.
WARNING – Risk of Fire
Install the clothes dryer according to the manufacturer’s instructions and local codes.
- Clothes dryer installation must be performed by a qualified installer.
- Do not install a clothes dryer with flexible plastic venting materials. If flexible metal (foil type) duct is installed, it must be of a specific type identified by the appliance manufacturer as suitable for use with clothes dryers. Flexible venting materials are known to collapse, be easily crushed, and trap lint. These conditions will obstruct clothes dryer airflow and increase the risk of fire.
- To reduce the risk of severe injury or death, follow all installation instructions.
Safety Messages
Your safety and the safety of others are very important.
We have provided many important safety messages in this manual and on your appliance. Always read and follow all safety messages.
This is the safety alert symbol.
This symbol alerts you to potential hazards that can kill or injure you and others. All safety messages will follow the safety alert symbol and either the word WARNING or CAUTION.
These words mean:
- WARNING
You may be killed or seriously injured if you do not follow instructions. - CAUTION
You may be injured or cause damage to the product if you do not follow instructions.
All safety messages will tell you what the potential hazard is, tell you how to reduce the chance of injury, and tell you what may happen if the instructions are not followed.
WARNING STATEMENTS
- WARNING: To reduce the risk of explosion, fire, death, electric shock, scalding or injury to persons when using this product, follow basic precautions, including the following:
Installation
- Adhere to all industry recommended safety procedures including the use of long-sleeved gloves and safety glasses.
- Never attempt to operate this appliance if it is damaged, malfunctioning, partially disassembled, or has missing or broken parts, including a damaged cord or plug.
- Before use, the appliance must be properly installed as described in this manual.
- To reduce the risk of severe injury or death, follow all installation instructions.
- Refer to the INSTALLATION INSTRUCTIONS for detailed grounding procedures. Installation instructions are packed with the appliance for the installer’s reference. If the appliance is moved to a new location, have it checked and reinstalled by qualified service personnel.
- When moving or installing the product in a different location, call two or more qualified service personnel for installation and service.
- Do not install the appliance in humid spaces.
- Store and install the appliance where it will not be exposed to temperatures below freezing or exposed to outdoor weather conditions.
- This appliance is not designed for maritime use or for mobile installations such as in RVs, trailers, or aircraft.
- Keep packing materials out of the reach of children. Packaging material can be dangerous for children. There is a risk of suffocation.
- Destroy the carton, plastic bag, and other packing materials after the appliance is unpacked. Children might use them for play. Cartons covered with rugs, bedspreads, or plastic sheets can become airtight chambers.
- The appliance must be installed and electrically grounded by qualified service personnel in accordance with local codes.
- When installing or moving the appliance, be careful not to pinch, crush, or damage the power cord.
- Connect to a properly rated, protected, and sized power circuit to avoid electrical overload.
- This appliance must be positioned near to an electrical power supply.
- Disconnect the power cord, house fuse or circuit breaker before installing or servicing the appliance.
- The power cord of this appliance is equipped with a 3-prong (grounding) plug which mates with a standard 3-prong (grounding) wall outlet to minimize the possibility of electric shock from this appliance.
- Do not, under any circumstances, cut or remove the third (ground) prong from the power cord.
- Use new hoses when connecting the appliance to the water supply. Do not reuse old hoses.
- Do not install the appliance with flexible plastic venting materials. If flexible metal (foil type) duct is installed, it must be of a specific type identified by the appliance manufacturer as suitable for use with the dryer section of the appliance. Flexible venting materials are known to collapse, be easily crushed, and trap lint. These conditions will obstruct the dryer section’s airflow and increase the risk of fire.
- Local ordinances may prohibit installation in a garage. Contact a local building inspector.
- Do not use sheet metal screws or other fasteners which extend into the duct that could catch lint and reduce the efficiency of the exhaust system. Secure all joints with duct tape.
- Use only rigid, semi-rigid or flexible metal 4-inch diameter duct inside the appliance cabinet or for exhausting to the outside. Use of plastic or other combustible ductwork may cause a fire. Punctured ductwork may cause a fire if it collapses or becomes otherwise restricted in use or during installation.
- All nonrigid metal transition duct must be UL-listed. Use of other materials for transition duct could affect drying time.
- Ductwork is not provided with the appliance, and you should obtain the necessary ductwork locally. The end cap should have hinged dampers to prevent backdraft when the dryer is not in use.
- Gas dryers MUST be exhausted to the outside.
- The dryer exhaust system must be exhausted to the outside of the dwelling. If the dryer is not exhausted outdoors, some fine lint and large amounts of moisture will be expelled into the laundry area. An accumulation of lint in any area of the home may create a health and fire hazard.
- Do not install near another heat source such as a stove, oven or heater.
- Keep the area around the exhaust opening and adjacent surrounding areas free from the accumulation of lint, dust, and dirt.
- The appliance must not be supplied through an external switching device, such as a timer, or connected to a circuit that is regularly switched on and off by a utility.
- Do not install a booster fan in the exhaust duct.
IMPORTANT SAFETY INSTRUCTIONS
- This is a single appliance and a single unit for sale, delivery and installation.
- Do not disassemble this appliance as it can’t be installed in a side-by-side configuration.
Grounding Instructions
- Improper connection of the equipment-grounding conductor can result in a risk of electric shock. Check with a qualified electrician or service personnel if you are in doubt whether the appliance is properly grounded. Do not modify the plug provided with the appliance; if it will not fit the outlet, have a proper outlet installed by a qualified electrician.
- The appliance must be grounded. In the event of a malfunction or breakdown, grounding will reduce the risk of electric shock by providing a path of least resistance for electric current. The appliance is equipped with a cord having an equipment-grounding conductor and a grounding plug. The plug must be plugged into an appropriate outlet that is installed and grounded in accordance with all local codes and ordinances.
Operation
- Read all instructions before using the appliance and save these instructions.
- Use this appliance only for its intended purpose.
- If the product has been submerged in water, sitting in standing water, or waterlogged, do not come in contact with the product and immediately contact an LG Electronics Customer Information Center for instructions before resuming use.
- If you detect a strange sound, a chemical or burning smell, or smoke coming from the appliance, unplug it immediately, and contact an LG Electronics Customer Information Center.
- Under certain conditions, hydrogen gas may be produced in a hot-water system that has not been used for two weeks or more. HYDROGEN GAS IS EXPLOSIVE. If the hot-water system has not been used for such a period, before using the appliance, turn on all hot water faucets and let the water flow from each for several minutes. This will release any accumulated hydrogen gas. As the gas is flammable, do not smoke or use an open flame during this time.
- Do not reach into the appliance if the tub or drum, agitator, or any interior parts are moving. Before loading, unloading, or adding items, press Start/Pause and allow the tub or drum to coast to a complete stop before reaching inside.
- This appliance is not intended for use by persons (including children) with reduced physical, sensory or mental capabilities, or lack of experience and knowledge, unless they have been given supervision or instruction concerning the use of the appliance by a person responsible for their safety.
- Do not allow children or pets to play on, in or with the appliance. Close supervision is necessary when the appliance is used near children or pets.
- Keep laundry products out of children’s reach. To prevent injury to persons, observe all warnings on product labels.
- Repair or immediately replace all power cords that have become frayed or otherwise damaged. Do not use a cord that shows cracks or abrasion damage along its length or at either end.
- Never unplug the appliance by pulling on the power cord. Always grip the plug firmly and pull straight out from the outlet.
- Do not use an extension cord or adapter with this appliance.
- Do not grasp the power cord or touch the appliance controls with wet hands.
- Do not modify or extend the power cord.
- If the electrical supply cord is damaged, it must only be replaced by the manufacturer or its service agent or a similar qualified person in order to avoid a hazard.
- Do not put oily or greasy clothing, candles or flammable materials on top of the appliance.
- Keep the area underneath and around your appliances free of combustible materials (lint, paper, rags, etc.), gasoline, chemicals and other flammable vapors and liquids.
- Do not store or use gasoline or other flammable vapors and liquids in the vicinity of this or any other appliance.
- Do not mix chlorine bleach with ammonia or acids such as vinegar. Follow package directions when using laundry products. Incorrect usage can produce poisonous gas, resulting in serious injury or death.
- Never use harsh chemicals, abrasive cleaners, or solvents to clean the appliance. They will damage the finish.
- Do not wash or dry articles that have been previously cleaned in, washed in, soaked in, or spotted with gasoline, dry-cleaning solvents, vegetable or cooking oil, or other flammable or explosive substances, as they give off vapors that could ignite or explode.
- Do not dry unwashed items in the appliance.
- Remove all objects from pockets such as lighters and matches.
- Do not add gasoline, dry cleaning solvents, or other flammable or explosive substances to the wash water. These substances give off vapors that could ignite or explode.
- In the event of a gas leak (propane gas, LP gas, etc.), do not operate this or any other appliance. Open a window or door to ventilate the area immediately.
- Do not tamper with controls.
- Fix the drain hose securely in place to avoid flooding.
- Do not abuse, sit on, or stand on the door of the appliance.
- Always check the inside of the appliance for foreign objects.
- Do not allow water, bleach or other liquids to sit in the drum for extended periods. Doing so can corrode the drum or cause mildew or odors.
- Do not use the appliance to dry articles containing foam rubber or similarly textured rubber-like materials.
- Gas appliances can cause minor exposure to four potentially hazardous substances, namely benzene, carbon monoxide, formaldehyde, and soot, caused primarily by the incomplete combustion of natural gas or LP fuels.
- Properly adjusted appliances will minimize incomplete combustion. Exposure to these substances can be minimized further by properly venting the dryer to the outdoors.
- Do not place items exposed to cooking oils in your appliance. Items contaminated with cooking oils may contribute to a chemical reaction that could cause a load to catch fire. To reduce the risk of fire due to contaminated loads, the final part of a tumble dryer cycle occurs without heat (cool down period). Avoid stopping tumble drying before the end of the drying cycle unless all items are quickly removed and spread out so that the heat is dissipated.
- Do not put any part of your body, such as your hands or feet, or metal objects under the appliance.
- Do not let your hand get pinched when opening or closing the appliance door.
- Do not open the appliance door during a STEAM CYCLE.
- Do not touch the steam nozzle in the drum during or after a STEAM CYCLE.
- On models with a steam feeder drawer, do not fill the steam feeder with hot water (over 86 ℉ / 30 ℃), gasoline, dry cleaning solvents, or other flammable or explosive substances.
Maintenance
- Do not repair or replace any part of the appliance. All repairs and servicing must be performed by qualified service personnel unless specifically recommended in this owner’s manual. Use only authorized factory parts.
- Disconnect this appliance from the power supply before cleaning and attempting any user maintenance. Turning the controls to the OFF position does not disconnect this appliance from the power supply.
- Remove any dust or foreign matter from the power plug pins.
- Do not disassemble or repair the appliance by yourself.
- Remove the door(s) before the appliance is removed from service or discarded to avoid the danger of children or small animals getting trapped inside.
- Make sure the dispenser drawer or lid is closed at all times when not being filled with laundry products.
- Clean the lint filter of the dryer before or after each load. After cleaning the filter, ensure it is reinstalled and fully seated before running the next load.
- The interior of the appliance and exhaust duct should be cleaned periodically by qualified service personnel.
CAUTION STATEMENTS
CAUTION
- To reduce the risk of minor or moderate injury to persons, malfunction, or damage to the product or property when using this product, follow basic precautions, including the following:
Installation
- Install the product on a firm and level floor.
Operation
- Turn off the water faucets and unplug the appliance if the appliance is to be left for an extended period of time, such as during vacations.
- ALWAYS follow the fabric care instructions supplied by the garment manufacturer.
- Use fabric softeners or products to eliminate static only as recommended by the manufacturer.
- Do not combine laundry products for use in one load unless specified on the label.
- Do not touch draining water, which may be hot.
- If the drain hose and the water inlet hose are frozen in winter, defrost them before using the appliance.
- Do not store or spill liquid detergents, cleaners, or bleaches (chlorine bleach, oxygen bleach) on the appliance. Doing so may result in corrosion, discoloration or damage to the surface of the appliance.
- Clothing or articles that are waterproof or water resistant must be washed in the Waterproof cycle only.(Examples include water resistant clothing, mattress covers, outdoor clothes, plastic mats.) Using another cycle may result in personal injury or damage to the washer, clothes, walls, floor, and surrounding objects due to abnormal vibration.
SAVE THESE INSTRUCTIONS
PRODUCT OVERVIEW
Product Features
The images in this guide may be different from the actual components and accessories, which are subject to change by the manufacturer without prior notice for product improvement purposes.
Front View

- Control Panel
- Lint Filter
- Dryer Drum
- Dryer Door
- Detergent Dispenser Drawer f Washer Door
- Washer Drum
- Washer Door Magnet
- Drain Hose
- Drain Pump Filter
- Drain Pump Filter Cover
- Leveling Feet
Rear View

- Power Cord (for Gas Models)
- Terminal Block Access Panel (for Electric Models)
- Cold Water Inlet
- Exhaust Duct Outlet
- Gas connection (for Gas Models) f Hot and Cold Water Inlets
- Shipping Bolts
- Drain Hose
- Power Cord (for Washer)
Product Specifications
| Model | WKEX300H*A / WKGX301H*A |
| Electrical Requirements | Please refer to the rating label for detailed information. |
| Min. / Max. Water Pressure | 20 – 120 psi (138 – 827 kPa) |
| Dimensions (Width X Height X Depth) | 27” X 74 3/8” X 32 5/8” (70 cm X 189 cm X 83 cm) |
| Maximum Depth with Door Open | 57 3/8” (145.6 cm) |
| Net Weight | 320 lb (145 kg) |
| Capacity (Washer/Dryer) | 5.0 cu. ft. / 7.4 cu. ft. |
| Max. Spin Speed (Washer) | 1300 RPM |
| Gas Requirements | NG: 4 – 10.5-inch (10.2 – 26.7 cm) WC LP: 8 – 13-inch (20.4 – 33.1 cm) WC |
| Operating Temperature Range | 41-95 ℉ (5-35 ℃) |

Accessories
Included Accessories 
- Non-skid Pads
- Hole Caps
- Wrench
- Y Connector
- Tie Strap
- Elbow Bracket (for securing drain hose)
Required Accessories 
- Hot and Cold Water Hoses (for Washer)
- Cold Water Hose (for Dryer)
- Connecting Supply Hose
- Tie Straps
WARNING
- For your safety and for extended product life, use only authorized components. The manufacturer is not responsible for product malfunction, property damage or bodily injury caused by the use of separately purchased unauthorized components, parts, or non-LG products.
INSTALLATION
Before Installing
Installation Overview
Please read the following installation instructions first after purchasing this appliance or transporting it to another location.

- Choosing the Proper Location
- Unpacking and Removing Shipping Material
- Connecting the Electric Dryer
- Connecting the Gas Dryer
- Venting the Dryer
- Connecting the Inlet Hoses
- Connecting the Drain Hose
- Leveling the Appliance
- Final Installation Check
WARNING
- Read all installation instructions completely before installing and operating the appliance. It is important that you review this entire manual before installing and using the appliance. Detailed instructions concerning electrical connections and additional requirements are provided on the following pages.
- Moving or installation of the appliance requires two or more people. Failure to follow these instructions may result in injury.
WARNING
- Store and install the appliance where it will not be exposed to temperatures below freezing or exposed to outdoor weather conditions. Failure to follow this warning can cause product or part failure, serious injury, fire, electric shock, or death.
- Properly ground the appliance to conform with all governing codes and ordinances. Failure to follow this warning can cause serious injury, fire, electric shock, or death.
- To ensure proper airflow, do not block the large opening on the bottom of the appliance with carpeting or other materials.
- Do not remove the ground prong from the power cord. Do not use an adapter or extension cord. Plug into a grounded 3-prong outlet. Failure to follow this warning can cause serious injury, fire, electric shock, or death.
- Certain internal parts are intentionally not grounded and may present a risk of electric shock only during servicing. Service personnel-Do not contact the following parts while the appliance is energized: pump, valve, motor, control board.
NOTE
- When moving the product, tilt it toward the back of the product. Do not transport the product in a horizontal position.

Choosing the Proper Location
Check the following requirements for the install location before installing the appliance.
- Allow for sufficient space between the walls and the appliance for installation.
- Make sure that the floor is clean, dry and free of dust, dirt, water and oil so the leveling feet cannot slide easily. Leveling feet that can move or slide on the floor can contribute to excess vibration and noise.
- If the floor has too much flex, reinforce it to make it more rigid. If the floor is not solid, it may cause severe vibration and noise.
- If a drain pan must be used, take extra care to follow the instructions provided with the drain pan and make sure the leveling feet are adjusted for firm and even contact with the pan. Use of drain pans and failure to properly level the appliance may result in increased vibration and noise during operation.
Flooring
- To minimize noise and vibration, install the washer on a level, solidly constructed floor capable of supporting the appliance without flexing or bouncing.
- The appliance must be installed on firm flooring to minimize vibration during the spin cycle. Concrete flooring is best, but a wood floor is sufficient, provided it is built to FHA standards.
- The floor under the appliance must not slope more than 1 inch (2.5 cm) from front to back or side to side.
- Installing on carpeting and soft tile surfaces is not recommended.
- Never install the appliance on a platform or weakly supported structure.
Floor Installation
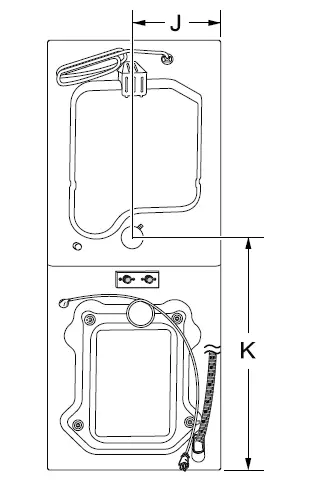
To ensure sufficient clearance for water inlet hoses, drain hose and airflow, allow minimum clearances of at least 1” (2.5 cm) at the sides and 4” (10 cm) behind the appliance. Be sure to allow for wall, door, or floor moldings that may increase the required clearances.

| Dimensions and Clearances | |
| A | 55” (139.6 cm) |
| B | 30 3/8” (77 cm) |
| C | 4” (10 cm) |
| D | 1” (2.5 cm) |
| E | 27” (70 cm) |
| F | 74 3/8” (189 cm) |
| G | 1” (2.5 cm) |
| H | 41 3/8” (105 cm) |
| I | 6 1/16” (15.4 cm) |

| Dimensions and Clearances | |
| J | 14 1/4” (36.2 cm) |
| K | 41 3/8” (105 cm) |
Exhaust
- A location that allows for proper exhaust installation. A gas dryer must be exhausted to the outdoors.
Power Outlet
- The power outlet must be within 60 inches (1.5 m) of either side of the appliance.
- Position the appliance so that the outlet and plug are easily accessible.
- Do not overload the outlet with more than one appliance.
- The outlet must be grounded in accordance with current electrical wiring codes and regulations.
- Use a time-delay fuse or circuit breaker.
- It is the personal responsibility and obligation of the appliance owner to have a proper outlet installed by a qualified electrician.
NOTE
- Check code requirements that limit, or do not permit, installation of the appliance in garages, mobile homes or sleeping quarters. Contact your local building inspector.
Clearances
The following clearances are recommended for the appliance.
- Additional clearances should be considered for ease of installation and servicing.
- Additional clearances should be considered on all sides of the appliance to reduce noise transfer.
Installation spacing for Recessed Area or Closet Installation

| Description | Dimension/Clearance |
| A: Upper Ventilation Opening | 48 sq. in. (310 cm2) |
| B: Lower Ventilation Opening | 24 sq. in. (155 cm2) |
| C: Distance to Ventilation Opening | 3″ (7.6 cm) |
| D: Front Clearance | 4″ (10 cm) |
Closet Ventilation Requirements
Closets with doors must have both an upper and lower vent to prevent heat and moisture buildup in the closet. One upper vent opening with a minimum opening of 48 sq. in. (310 cm2) must be installed no lower than 6 feet above the floor. One lower vent opening with a minimum opening of 24 sq. in. (155 cm2) must be installed no more than one foot above the floor. Install vent grills in the door or cut down the door at the top and bottom to form openings. Louvered doors with equivalent ventilation openings are also acceptable.
NOTE
- There should be at least a little space around the appliance (or any other appliance) to eliminate the transfer of vibration from one appliance to another. If there is enough vibration, it could cause appliances to make noise or come into contact, causing paint damage and further increasing noise.
- No other fuel-burning appliance can be installed in the same closet as an appliance.
Unpacking and Removing Shipping Material
Unpacking Shipping Material
* This feature is only available on some models.
Lifting the Appliance off the Foam Base
- After removing the carton and shipping material, lift the appliance off the foam base.
- Make sure the plastic drum support a* comes off with the base and is not stuck to the bottom of the appliance.
- If you must lay the appliance down to remove the carton base b, always protect the side of the appliance and lay it carefully on its side. Do not lay the appliance on its front or back.
CAUTION
- Remove all shipping materials from the appliance for proper operation and inspect it for shipping damage. Failure to remove shipping materials can cause excessive noise and vibration.
Removing Shipping Material
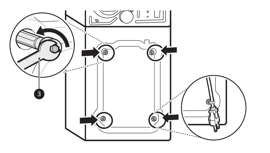
Remove the bolt assemblies.
- Starting with the bottom two shipping bolts, use the included wrench c to fully loosen all 4 shipping bolts by turning them counterclockwise.
- Remove the bolt assemblies (bolts and retainers) by wiggling them slightly while pulling them out.
- The power cord is secured to the back of the washer with a shipping bolt to help prevent operation with shipping bolts in place.
Install the hole caps.
- Locate the hole caps d included in the accessory pack or attached to the back of the washer. Install the caps in the holes left by the bolt assemblies.
CAUTION
- Once removed, save the bolt assemblies for future use. To prevent damage to internal components, do not transport the appliance without reinstalling the shipping bolts. Failure to remove shipping bolts and retainers may cause severe vibration and noise, which can lead to permanent damage to the appliance.
Connecting Electric Dryers
WARNING
- To reduce the risk of fire or explosion, electric shock, property damage, injury to persons, or death when using this appliance, fulfill the following requirements.
Electrical Requirements for Electric Models Only
WARNING
- The wiring and grounding must conform to the latest edition of the National Electrical Code, ANSI/NFPA 70 and all applicable local regulations. Please contact a qualified electrician to check your home’s wiring and fuses to ensure that your home has adequate electrical power to operate the dryer.
- This dryer must be connected to a grounded metal, permanent wiring system, or an equipment-grounding conductor must be run with the circuit conductors and connected to the equipment-grounding terminal or lead on the dryer.
- The dryer has its own terminal block that must be connected to a separate 240 VAC, 60-Hertz, single-phase circuit, fused at 30 amperes. (The circuit must be fused on both sides of the line.) ELECTRICAL SERVICE FOR THE DRYER SHOULD BE OF THE MAXIMUM RATE VOLTAGE LISTED ON THE NAMEPLATE. DO NOT CONNECT THE DRYER TO 110-, 115-, OR 120-VOLT CIRCUIT.
- If the branch circuit to dryer is 15 ft. (4.5 m) or less in length, use UL (Underwriters Laboratories) listed No.-10 AWG wire (copper wire only), or as required by local codes. If over 15 ft. (4.5 m), use UL-listed No.-8 AWG wire
(copper wire only), or as required by local codes. Allow sufficient slack in wiring so the dryer can be moved from its normal location when necessary. - The power cord (pigtail) connection between the wall receptacle and the dryer terminal block IS NOT supplied with the dryer. Type of pigtail and gauge of wire must conform to local codes and with instructions on the following pages.
- Do not modify the plug and internal wire provided with the dryer.
- The dryer should be connected to a 4-hole outlet.
- If the plug does not fit the outlet, a proper outlet will need to be installed by a qualified electrician.
- Connect the power cord to the terminal block. Each colored wire should be connected to the same color screw. Wire color indicated in the manual is connected to the same color screw in the block.
- Grounding through the neutral conductor is prohibited for: (1) new branch-circuit installations and (2) areas where local codes prohibit grounding through the neutral conductor.
- This dryer is supplied with the neutral wire grounded. This white ground wire MUST BE MOVED to the neutral terminal when a 4-wirecord is to be used, or where grounding through the neutral conductor is prohibited.
Four-Wire Power Cord
- A UL-listed strain relief is required.

- Use a 30-amp, 240-volt, 4-wire, UL-listed power cord with #10 AWG-minimum copper conductor and closed loop or forked terminals with upturned ends.
- Remove the terminal block access cover on the upper back of the appliance.
- Install UL-listed strain relief into the power cord through-hole.
- Thread a 30-amp, 240-volt, 4-wire, UL-listed power cord with #10 AWG-minimum copper conductor through the strain relief.

- Terminal Block
- UL-Listed Strain Relief
- UL-Listed 4-Wire Power Cord
- Transfer the appliance’s ground wire from behind the green ground screw to the center screw of the terminal block.
- Attach the two hot leads (black and red) of the power cord to the outer terminal block screws.
- Attach the neutral (white) wire to the center screw of the terminal block
- Attach the power cord ground wire to the green ground screw.
- Tighten all screws securely.
- Reinstall the terminal block access cover.

- White Wire moved from Ground Screw
- Hot Leads of Power Cord (Black and Red)
- Neutral Wire (White)
- Power Cord Ground Wire
- Ground Screw (green)
Four-Wire Direct Wire
- A UL-listed strain relief is required.

- Use UL-listed 4-wire #10 AWG minimum copper conductor cable. Allow at least 5 ft. (1.5 m) of wire to allow for removal and reinstallation of the dryer.
- Remove 5 inches (12.7 cm) of the outer covering from the wire and remove 5 inches of insulation from the ground wire. Cut off approximately 1.5 inches (3.8 cm) from the other three wires and strip 1 inch (2.5 cm) insulation from each wire. Bend the ends of the three shorter wires into a hook shape.

- Ground Wire
- Remove the terminal block access cover on the upper back of the appliance.
- Install UL-listed strain relief into the power cord through-hole.
- Thread the 4-wire #10 AWG minimum copper power cable prepared in step 1 through the strain relief.

- Terminal Block
- UL-Listed Strain Relief
- UL-Listed 4-Wire Power Cord
- Transfer the appliance’s ground wire from behind the green ground screw to the center of the terminal block.
- Attach the two hot leads (black and red) of the power cord to the outer terminal block screws.
- Attach the neutral (white) wire to the center screw of the terminal block.
- Attach the power cord ground wire to the green ground screw.
- Tighten all screws securely.
- Reinstall the terminal block access cover.

- White Wire moved from Ground Screw
- Hot Leads of Power Cord (Black and Red)
- Neutral Wire (White).
- Power Cord Ground Wire
- Ground Screw (green)
Three-Wire Power Cord
- A 3-wire connection is NOT permitted on new construction after January 1, 1996.

- A UL-listed strain relief is required.
- Use a 30-amp, 240-volt, 3-wire, UL-listed power cord with #10 AWG-minimum copper conductor and closed loop or forked terminals with upturned ends.
- Remove the terminal block access cover on the upper back of the appliance.
- Install the UL-listed strain relief into the power cord through-hole.
- Thread a 30-amp, 240 volt, 3-wire, UL-listed power cord with #10 AWG-minimum copper conductor through the strain relief.

- Terminal Block
- UL-Listed Strain Relief
- UL-Listed 3-Wire Power Cord
- Attach the two hot leads (black and red) of the power cord to the outer terminal block screws.
- Attach the neutral (white) wire to the center terminal block screw.
- Connect the external ground (if required by local codes) to the green ground screw.
- Tighten all screws securely.
- Reinstall the terminal block access cover.

- White Wire from Dryer Harness
- Hot Leads of Power Cord (Black and Red)
- Neutral Wire (White)
- External Ground Wire (If required by local codes)
- Ground Screw (green)
Three-Wire Direct Wire
- A 3-wire connection is NOT permitted on new construction after January 1, 1996.
- A UL-listed strain relief is required.
- Use UL-listed 3-wire, #10 AWG minimum copper conductor cable. Allow at least 5 ft. (1.5 m) length to allow for removal and installation of dryer.

- Remove 3.5 inches (8.9 cm) of the outer covering from the wire. Strip 1 inch (2.5 cm) insulation from each wire. Bend the ends of the three wires into a hook shape.

- Remove the terminal block access cover on the upper back of the appliance
- Install UL-listed strain relief into the power cord through-hole.
- Thread the 3-wire, #10 AWG minimum copper conductor power cable prepared in step 1 through the strain relief.

- Terminal block
- UL-listed strain relief
- UL-listed 3-wire power cord
- Attach the two hot leads (black and red) of the power cord to the outer terminal block screws.
- Attach the neutral (white) wire to the center terminal block screw.
- Connect the external ground (if required by local codes) to the green ground screw.
- Tighten all screws securely.
- Reinstall the terminal block access cover.

- Hot lead (black and red)
- Neutral wire (white)
- External ground wire (if required by local codes)
- Wire from the appliance harness
- Ground screw (green)
Installing the Dryer Side
Vent Kit
The appliance is configured to vent to the rear. It can also vent to the side.
WARNING
- Use long-sleeved gloves and safety glasses.
- Use a heavy metal vent.
- Do not use plastic or thin foil ducts.
- Clean old ducts before installing the appliance.
NOTE
- An adapter kit, part number 383EEL9001B, may be purchased from your LG retailer. This kit contains duct components necessary to change the appliance vent location.
- Right-side venting is not available on gas models.
- Bottom venting is not available on stacked or integrated stacked models.
Side Venting
- Remove the rear exhaust duct retaining screw a and pull out the exhaust duct b.

- Press the tabs on the knockout c and carefully remove the knockout for the desired vent opening. (Right-side venting is not available on gas models.) Press the adapter duct d onto the blower housing and secure to the base of the dryer as shown.

- The male end of the duct protrudes 1 1/2″ (3.8 cm) to connect the remaining ductwork. Attach the cover plate f to the back of the dryer with the included screw. Preassemble a 4″ (10 cm) elbow e to the next 4″ (10 cm) duct section, and secure all joints with duct tape. Be sure that the male end of the elbow faces AWAY from the dryer. Insert the elbow/duct assembly through the side opening and press it onto the adapter duct. Secure it in place with duct tape. Be sure that

Venting the Dryer
WARNING
- Gas dryers MUST exhaust to the outdoors.
- DO NOT use sheet metal screws or other fasteners which extend into the duct that could catch lint and reduce the efficiency of the exhaust system. Secure all joints with duct tape.
- To reduce the risk of fire, combustion, or accumulation of combustible gases, DO NOT exhaust dryer air into an enclosed and unventilated area, such as an attic, wall, ceiling, crawl space, chimney, gas vent, or concealed space of a building.
- To reduce the risk of fire, DO NOT exhaust the dryer with plastic or thin foil ducting.
- Do not exceed the recommended duct length limitations noted in the chart. Failure to follow these instructions may result in extended drying times, fire or death.
- Do not crush or collapse ductwork.
- Do not allow ductwork to rest on or contact sharp objects.
- If connecting to existing ductwork, make sure it is suitable and clean before installing the dryer.
- Venting must conform to local building codes.
- Use only 4 ” (10 cm) rigid, semi-rigid or flexible metal ductwork inside the dryer cabinet and for venting outside.
- The exhaust duct must be 4 ” (10 cm) in diameter with no obstructions. The exhaust duct should be kept as short as possible. Make sure to clean any old ducts before installing the new dryer.
- Rigid, semi-rigid or flexible metal ducting is recommended for use between the dryer and the wall. All non-rigid metal transition duct must be UL-listed. Use of other materials for transition duct could affect drying time.
- Ductwork is not provided with the dryer. You should obtain the necessary ductwork locally. The vent hood should have hinged dampers to prevent backdraft when the dryer is not in use.
- The total length of flexible metal duct must not exceed 8 ft. (2.4 m).
Ductwork
| Wall Cap Type | Number of 90° Elbows | Maximum length of 4-inch diameter rigid metal duct | |
| Recommended | 0 | 65 ft. (19.8 m) | |
| 1 | 55 ft. (16.8 m) | ||
| 2 | 47 ft. (14.3 m) | ||
![]() | 3 | 36 ft. (11.0 m) | |
| 4 | 28 ft. (8.5 m) | ||
| Use for only short run installations
| 0 | 55 ft. (16.8 m) | |
| 1 | 47 ft. (14.3 m) | ||
| 2 | 41 ft. (12.5 m) | ||
| 3 | 30 ft. (9.1 m) | ||
| 4 | 22 ft. (6.7 m) |
NOTE
- Deduct 6 ft. (1.8 m) for each additional elbow. Do not use more than four 90° elbows.
- In Canada, only those foil-type flexible ducts, if any, specifically identified for use with the appliance by the manufacturer should be used. In the United States, only those foil-type flexible ducts, if any, specifically identified for use with the appliance by the manufacturer and that comply with the Outline for Clothes Dryer Transition Duct, Subject 2158A, should be used.
Routing and Connecting Ductwork
Follow the guidelines below to maximize drying performance and reduce lint buildup and condensation in the ductwork. Ductwork and fittings are NOT included and must be purchased separately.
- Use 4” (10 cm) diameter rigid, semi-rigid or flexible metal ductwork.
- The exhaust duct run should be as short as possible.
- Use as few elbow joints as possible.
- The male end of each section of exhaust duct must point away from the dryer.
- Use duct tape on all duct joints.
- Insulate ductwork that runs through unheated areas in order to reduce condensation and lint buildup on duct surfaces.
- Incorrect or inadequate exhaust systems are not covered by the dryer warranty. Dryer failures or service required because of such exhaust systems will not be covered by the dryer warranty.

Connecting Gas Dryers
WARNING
- To reduce the risk of fire or explosion, electric shock, property damage, injury to persons, or death when using this appliance, follow requirements including the following:
Electrical Requirements for Gas Models
WARNING
- This dryer is equipped with a three-prong grounding plug for protection against shock hazard which should be plugged directly into a properly grounded three-prong receptacle. Do not cut or remove the grounding prong from this plug.
- Do not, under any circumstances, cut or remove the third (ground) prong from the power cord.
- For personal safety, this dryer must be properly grounded.
- This dryer must be plugged into a 120-VAC, 60-Hz. grounded outlet protected by a 15-ampere fuse or circuit breaker.
- Where a standard 2-prong wall outlet is encountered, it is your personal responsibility and obligation to have it replaced with a properly grounded 3-prong wall outlet.
Gas Supply Requirements
WARNING
- DO NOT attempt any disassembly of the dryer; disassembly requires the attention and tools of an authorized and qualified service technician or company.
- DO NOT use an open flame to inspect for gas leaks. Use a noncorrosive leak detection fluid.
- Gas pressure must not exceed 8-inch (20.4 cm) water column for NG, or 13-inch (33.1 cm) water column for LP.
- Isolate the dryer from the gas supply system by closing its individual manual shutoff valve during any pressure testing of the gas supply at pressures greater than 1/2 psi (3.5 kPa).
- Supply line requirements: Your laundry room must have a rigid gas supply line to your dryer. In the United States, an individual manual shutoff valve MUST be installed within at least 6 ft. (1.8 m) of the dryer, in accordance with the National Fuel Gas Code ANSI Z223.1 or Canadian gas installation code CSA B149.1. A 1/8-inch NPT pipe plug must be installed.
- If using a rigid pipe, the rigid pipe should be 0.5-inch IPS. If acceptable under local codes and ordinances and when acceptable to your gas supplier, 3/8-inch approved tubing may be used where lengths are less than 20 ft. (6.1 m). Larger tubing should be used for lengths in excess of 20 ft. (6.1 m).
- To prevent contamination of the gas valve, purge the gas supply of air and sediment before connecting the gas supply to the dryer. Before tightening the connection between the gas supply and the dryer, purge remaining air until the odor of gas is detected.
- Use only a new AGA- or CSA-certified gas supply line (in compliance with the Standard for Connectors for Gas Appliances, ANSI Z21.24 CSA 6.10) with flexible stainless steel connectors.
- Use Teflon tape or a pipe-joint compound that is insoluble in propane (LP) gas on all pipe threads.
Connecting the Gas Supply
NOTE
- In the Commonwealth of Massachusetts: This product must be installed by a licensed plumber or gas fitter. When using ball-type gas shut off valves, they must be T-handle-type. A flexible gas connector, when used, must not exceed 3 feet.
- Installation and service must be performed by a qualified installer, service agency, or the gas supplier.
- The dryer is configured for natural gas when shipped from the factory. Make sure that the dryer is equipped with the correct burner nozzle for the type of gas being used (natural gas or propane gas).
- Use only a new stainless steel flexible connector and a new AGA-certified connector.
- A gas shutoff valve must be installed within 6 ft.(1.8 m) of the dryer.
- If necessary, the correct nozzle (for the LP nozzle kit, order part number 383EEL3002D) should be installed by a qualified technician and the change should be noted on the dryer.
- All connections must be in accordance with local codes and regulations. Gas dryers MUST exhaust to the outdoors.
- Make sure that the gas supply to the laundry room is turned OFF and the dryer is unplugged. Confirm that the type of gas available in your laundry room is appropriate for the dryer.
- Remove the shipping cap from the gas fitting at the back of the dryer. Be careful not to damage the threads of the gas connector when removing the shipping cap.
- Connect the dryer to your laundry room’s gas supply using a new flexible stainless steel connector with a 3/8-inch NPT fitting.
WARNING- DO NOT use old connectors.
- Securely tighten all connections between the dryer and your laundry room’s gas supply.
- Turn on your laundry room’s gas supply.
- Check all pipe connections (both internal and external) for gas leaks with a noncorrosive leak-detection fluid.
- Proceed to Venting the Dryer.

- 3/8” NPT Gas Connection
- AGA/CSA-Certified Stainless Steel Flexible Connector
- 1/8” NPT Pipe Plug
- Gas Supply Shutoff Valve
High-Altitude Installations
The BTU rating of this dryer is AGA-certified for elevations below 10,000 feet.
If your gas dryer is being installed at an elevation above 10,000 feet, it must be dated by a qualified technician or gas supplier.
Connecting the Water Inlet Hoses
How to Connect the Water Inlet Hoses
To avoid the risk of costly water damage, purchase and install new water inlet hoses when installing the appliance.
WARNING
- Do not overtighten the hoses or cross-thread the hose fittings. Overtightening or cross-threading can damage the valves or couplings, resulting in leaking and property damage.
- Do not reuse old hoses. Use only new hoses when installing the appliance. Old hoses could leak or burst causing flooding and property damage. Contact an LG Customer Information Center for assistance in buying hoses.
NOTE
- Periodically check the hoses for cracks, leaks, and wear, and replace the hoses every five years.
- Do not stretch the water hoses intentionally, and make sure that they are not pinched, crushed or kinked by other objects.
- Water supply pressure must be between 20 psi and 120 psi (138 – 827 kPa). If the water supply pressure is more than 120 psi, a pressure reducing valve must be installed.
- Your hot water heater should be set to deliver water at 120–135 ℉ (48–57 ℃) to allow the appliance to properly control wash temperatures.
- Do not store or install the appliance in a location subject to freezing temperatures. Damage to the water inlet hoses and internal mechanisms of the appliance can result. If the appliance was exposed to freezing temperatures prior to installation, allow it to stand at room temperature for several hours before use and check for leaks prior to operation.
- Do not use flood-preventing hoses with auto shut off devices. The devices can be tripped during fill and prevent the appliance from filling properly.
Required Accessories
- Hot and Cold Water Hoses (for Washer)
- Cold Water Hose (for Dryer)
- Connecting Supply Hose
- Tie Straps

- Check the fittings and seals. Inspect the threaded fitting on each hose and make sure there is a rubber seal e in place in both ends of each hose to prevent leaking.

- Connect the Y connector f to the short hose g. Connect the 2 blue hoses h to the Y connector.

- Connect the water supply hoses.
- Connect the water inlet hoses to the hot and cold water faucets tightly by hand and then tighten another 2/3 turn with pliers.
- Connect the short blue hose to the cold water faucet and the red hose to the hot water faucet.

- Flush out the inlet hoses.
- After the hoses are connected, turn on the water faucets and flush out any foreign substances such as dirt, sand, or sawdust.
Let the water drain into a bucket, and check the water temperature to make sure you’ve connected the hoses to the correct faucets.
- After the hoses are connected, turn on the water faucets and flush out any foreign substances such as dirt, sand, or sawdust.
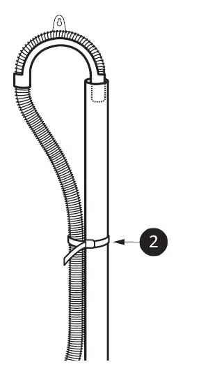
- Attach the inlet hoses to the back of the appliance and secure the cold water inlet hoses with tie straps k.
For the Washer- Attach the hot water inlet hose i to the hot water inlet on the back of the washer. Attach the cold water inlet hose j to the cold water inlet on the back of the washer.
- For the Dryer
- Attach the cold water inlet hose j to the cold water inlet on the back of the dryer.
- Tighten the fittings securely. Turn on both faucets all the way and check for leaks at both ends of the hoses.

Connecting the Drain Hose
Connect the drain hose to either a standpipe or laundry tub.
WARNING
- The drain hose should always be properly secured. Failure to properly secure the drain hose can result in flooding and property damage.
NOTE
- The drain must be installed in accordance with any applicable local codes and regulations.
- Make sure that the drain hose is not stretched, pinched, crushed, or kinked.
- The end of the drain hose should be located a minimum of 24″ (61 cm) and a maximum of 96″ (244 cm) above the bottom of the washer. For best results, locate the end of the drain hose no higher than 66″ (168 cm) above the bottom of the washer. As the drain outlet is raised beyond 66″ (168 cm), the drain function will be increasingly affected.
- If you are experiencing backflow or residual water in the dryer reservoir, try reducing the height of the dryer drain hose end to lower than 38″ above the base of the washer.
- Never create an airtight seal between the hose and the drain with tape or other means. If no air gap is present, water can be siphoned out of the drum resulting in poor wash/rinse performance or clothing damage.
Using a Standpipe to Drain
- Clip the end of the hose into the elbow bracket.
- Connect the elbow bracket a within 4 inches (10 cm) of the end of the drain hose. If the drain hose is extended more than 4 inches (10 cm) beyond the end of the elbow bracket, mold or microorganisms could spread to the inside of the washer.

- Connect the elbow bracket a within 4 inches (10 cm) of the end of the drain hose. If the drain hose is extended more than 4 inches (10 cm) beyond the end of the elbow bracket, mold or microorganisms could spread to the inside of the washer.
- Insert the end of the drain hose into the standpipe.

- Use the provided tie strap b to secure the drain hose in place.

- If the water valves and drain are built into the wall, fasten the drain hose to one of the water hoses with the provided tie strap c (ribbed side on inside).

Using the Laundry Tub to Drain
- Clip the end of the hose into the elbow bracket.
- Connect the elbow bracket a within 4 inches (10 cm) of the end of the drain hose. If the drain hose is extended more than 4 inches (10 cm) beyond the end of the elbow bracket, mold or microorganisms could spread to the inside of the washer.

- Connect the elbow bracket a within 4 inches (10 cm) of the end of the drain hose. If the drain hose is extended more than 4 inches (10 cm) beyond the end of the elbow bracket, mold or microorganisms could spread to the inside of the washer.
- Hang the end of the drain hose over the side of the laundry tub.

- Use the provided tie strap to secure the drain hose in place.

Leveling the Appliance
The drum of the washer spins at very high speeds. To minimize vibration, noise, and unwanted movement, the floor must be a solid, level surface.
CAUTION
- Using the appliance without leveling it may cause excess vibration and noise, leading to an appliance malfunction.
- Adjust the leveling feet only as far as necessary to level the appliance. Extending the leveling feet more than necessary can cause the appliance to vibrate.
NOTE
- Before installing the appliance, make sure that the floor is clean, dry and free of dust, dirt, water and oil so the appliance feet cannot slide easily. Feet that move or slide on the floor can contribute to excessive vibration and noise.
How to Level the Appliance
- Position the appliance in its final location.
- Take special care not to pinch, strain, or crush the water and drain hoses. If you have a carpenter’s level a, you can use it to check that the appliance is level. The slope beneath the appliance should not exceed 1 inch, and all 4 leveling feet must rest firmly on the floor.

- Take special care not to pinch, strain, or crush the water and drain hoses. If you have a carpenter’s level a, you can use it to check that the appliance is level. The slope beneath the appliance should not exceed 1 inch, and all 4 leveling feet must rest firmly on the floor.
- Adjust the leveling feet.
- Turn all 4 leveling feet in one direction to raise the appliance or the other direction to lower it.

- Turn all 4 leveling feet in one direction to raise the appliance or the other direction to lower it.
- Check the level again.
- Push or rock the top edges of the appliance gently to make sure the appliance does not rock. If the appliance rocks, readjust the leveling feet.
- Tighten the locknuts b.
- Turn the locknuts counterclockwise and tighten them when the appliance is level.

- Turn the locknuts counterclockwise and tighten them when the appliance is level.
WARNING
- Do not raise the front of the appliance with a wood block or similar object. Doing so can cause serious injury or death.
Using Non-Skid Pads
If you install the appliance on a slippery surface, it may move because of excessive vibration. Incorrect leveling may cause malfunction through noise and vibration. If this occurs, install the non-skid pads under the leveling feet and adjust the level.
- Clean the floor to attach the non-skid pads.
- Use a dry rag to remove and clean foreign objects or moisture. If moisture remains, the non-skid pads may slip.
- Adjust the level after placing the appliance in the installation area.
- Place the adhesive side c of the non-skid pad on the floor.
- It is most effective to install the non-skid pads under the front leveling feet. If it is hard to place the pads under the front leveling feet, place them under the back leveling feet.

- This side up
- Remove backing
- It is most effective to install the non-skid pads under the front leveling feet. If it is hard to place the pads under the front leveling feet, place them under the back leveling feet.
- Recheck the appliance’s levelness.
- Push or rock the top edges of the appliance gently to make sure the appliance does not rock. If the appliance rocks, level the appliance again.
Final Installation Check
Connecting the Washer to the Power Supply
Plug the washer into a 120 VAC, 60 Hz grounded 3-prong outlet.
WARNING
- Do not use a worn or damaged power cord or power plug. Replace or repair it immediately. Failure to do so may result in death, fire, electric shock, or malfunction.
- Do not modify the power cord and plug provided with the appliance. Do not damage it when installing or moving the appliance. Doing so may result in death, fire, electric shock, or malfunction.
- Make sure that the appliance is grounded.
- Connect this appliance to a grounded outlet conforming to the rating prior to use. Failure to do so may result in fire, electric shock, or malfunction.
- Do not damage or cut off the ground prong of the power cord. Doing so may cause death, fire, electric shock, or product malfunction.
- Improper connection of the equipment grounding conductor can result in risk of electric shock. Check with a qualified electrician or service technician if you are in doubt as to whether the appliance is properly grounded. If the plug does not fit the outlet, have a proper outlet installed by a qualified electrician.
- The appliance and outlet must be positioned so that the plug is easily accessible.
- Do not use an adapter or extension cord. Doing so may result in serious injury, fire, electric shock, or death.
- For best performance, plug the appliance into its own individual outlet. This helps prevent overloading house wiring circuits which could cause a fire hazard from overheated wires.
- If necessary, use a new, UL-listed 3-prong
(grounding) plug rated at no less than the branch circuit. Do not use an extension cord longer than 3 feet. Failure to follow these warnings may result in serious injury, fire, electric shock, or death.
Testing the Washer
Check if the washer is properly installed and run a test cycle.
- Load the washer with 6 thick bath towels (approximately 6 pounds).
- Press the Power button.
- Press the Speed Wash button.
- Select the Start/Pause button to start the wash cycle.
- Make sure that water is supplied, that the washer does not rock or vibrate excessively, and that it drains well during the spin cycle.
NOTE
- If water leaks during water supply, see Connecting the Water Inlet Hoses to connect them properly.
- If the appliance rocks and vibrates excessively, see Leveling the Appliance to level it again.
- If the drain does not work, see Connecting the Drain Hose to install the hose properly.
Testing the Dryer
Once you have completed the installation of the appliance, use this test to make sure the condition of the exhaust system is adequate for proper operation of the appliance. This test should be performed to alert you to any serious problems in the exhaust system of your home.
Testing Dryer Heating
Gas Models
Close the dryer door and press the Power button to turn the dryer on. Select the Timed Dry and Start/Pause buttons to start the test. When the dryer starts, the igniter should ignite the main burner.
NOTE
- If all air is not purged from the gas line, the gas igniter may turn off before the main burner ignites. If this happens, the igniter will reattempt gas ignition after approximately two minutes.
Electric Models
Close the dryer door and press the Power button to turn the dryer on. Select the Timed Dry and Start/Pause buttons to start the test. The exhaust air should be warm after the dryer has been operating for 3 minutes.
Checking Airflow
Effective dryer operation requires proper airflow. The adequacy of the airflow can be measured by evaluating the static pressure. Static pressure in the exhaust duct can be measured with a manometer, placed on the exhaust duct approximately 2 ft. (60.9 cm) from the dryer. Static pressure in the exhaust duct should not exceed 0.6 inch (1.5 cm). The dryer should be checked while the dryer is running with no load.
Activating the Installation Test
- Do not load anything in the drum for this test as it may affect the accuracy of the results.
- Press the Power button. Press the upper left corner of the display 10 times slowly to select Install Mode. Select Dryer.

- Install appears in the display when Installation Test mode is activated.

- Install appears in the display when Installation Test mode is activated.
- Press the Start/Pause button.
- The appliance will start the test, which will last a few minutes. The heat will be turned on and the temperatures in the drum will be measured.
- Check the display for results.
- During the test cycle, monitor the error messages displayed on the control panel. If the duct blockage message has not been displayed when the cycle ends, the exhaust system is adequate. If the exhaust system is severely restricted, the duct blockage message will be displayed. Other problems may also be shown with error messages. See the chart on the next page for error code details and solutions.
- If the duct blockage displays that the exhaust system is severely restricted, have the system checked immediately, as performance will be poor.
- End of cycle.
- At the end of the test cycle, a message will display. The test cycle will end and the appliance will shut off automatically after a short delay.

- At the end of the test cycle, a message will display. The test cycle will end and the appliance will shut off automatically after a short delay.
Check the Duct Condition
If the duct blockage message is displayed,, check the exhaust system for restrictions and damage. Repair or replace the exhaust system as needed.
NOTE
- When the appliance is first installed, this test should be performed to alert you to any existing problems with the exhaust duct in your home. However, since the test performed during normal operation provides more accurate information on the condition of the exhaust duct than the installation test, the percentage of blockage displayed during the two tests may not be the same.
- Do not interrupt the test cycle, as this could result in inaccurate results.
- Even if no duct blockage message is displayed during the test cycle, some restrictions may still be present in the exhaust system. Refer to the Venting the Dryer section of this manual for complete exhaust system and venting requirements.
Error Codes
Check the error code before you call for service.
| Error Messages | Possible Cause & Solution |
| Temp Sensor Error 1 | Temperature sensor failure.
|
| Humidity Sensor Error | Humidity sensor failure.
|
| Power Supply / High Voltage / Low Voltage | Electric dryer power cord is not connected correctly, or house power supply is incorrect.
|
House fuse is blown, circuit breaker has tripped, or power outage has occurred.
| |
| Gas Supply | Gas supply or service turned off. (Gas Model only.)
|
| Duct Blockage (80%) / Duct Blockage (90%) / Duct Blockage (95%) | Exhaust system is too long or has too many turns/restrictions.
|
| Door Open | Door open error.
|
Restricted or Blocked Airflow
Avoid long runs or runs with multiple elbows or bends.
Excess or crushed transition duct
Too many elbows or exhaust too long 
Check for blockages and lint buildup. 
Make sure the ductwork is not crushed or restricted. 
APPENDIX
Disassembly
Disassembling the Washer and Dryer
The washer and dryer cannot be disassembled and installed for use side by side. If it is necessary to disassemble the appliance in order to move or reinstall it, follow these instructions.
WARNING
- Protect your hands and arms from sharp edges. To reduce the risk of injury to persons, adhere to all industry recommended safety procedures including the use of long-sleeved gloves and safety glasses.
NOTE
- Any damage resulting from improper disassembly/assembly or installation of the product is not covered by the product warranty.
- Be sure to unplug the appliance.
- Loosen screws assembled on the stack bracket on the back of the appliance.

- Push open the caps at the left and right sides of the control panel on the front of the appliance. Loosen the screws under the caps.

- Pull the control panel forward to remove it.

- Disconnect the wire harnesses from the washer a and dryer b to the control panel.
CAUTION
Always ground yourself before touching the PCB or wiring. Discharge of static electricity may cause product malfunction.
NOTE
Tuck the wire harnesses to the side to avoid pinching them. - Unscrew the second screw from the top of the four screws on the left and right.
7 Lift the dryer and separate it from the washer. 
WARNING
- Protect your hands and arms from sharp edges of the panel frame exposed on the top of the washer.
- To avoid strain injuries, use 2 or more people to lift the dryer.
NOTE
- When assembling the appliance, proceed in reverse order.
LG Customer Information Center
For inquiries or comments, visit www.lg.com or call: 1-800-243-0000 U.S.A. 1-888-542-2623 CANADA
Register your product Online! www.lg.com






































CAUTION
7 Lift the dryer and separate it from the washer. 


















