

WM6700HBA Ultra Large Capacity Front Load Washer
User ManualOWNER’S MANUAL
WASHING MACHINE
WM6700HBA Ultra Large Capacity Front Load Washer


Read this owner’s manual thoroughly before operating the appliance and keep it handy for reference at all times. The complete owner’s manual can be found on the LG website at: http://gscs-manual.lge.com/Total/DFZ/NA/FL/FX/main.html or by scanning the QR code. LG is working to create a sustainable tomorrow by publishing parts of this manual online only
Small actions can have big results!
ENGLISHWM6700H*Awww.lg.com
Copyright © 2022 LG Electronics Inc. All Rights Reserved.
IMPORTANT SAFETY INSTRUCTIONS
READ ALL INSTRUCTIONS BEFORE USE
Safety Messages
Your safety and the safety of others are very important.We have provided many important safety messages in this manual and on your appliance. Always read and follow all safety messages.
A This is the safety alert symbol. This symbol alerts you to potential hazards that can kill or injure you and others. All safety messages will follow the safety alert symbol and either the word WARNING or CAUTION.
These words mean:
WARNING You may be killed or seriously injured if you do not follow instructions.
CAUTION You may be injured or cause damage to the product if you do not follow instructions.
All safety messages will tell you what the potential hazard is, tell you how to reduce the chance of injury, and tell you what may happen if the instructions are not followed. WARNING STATEMENTS
WARNING
- To reduce the risk of explosion, fire, death, electric shock, scalding or injury to persons when using this product, follow basic precautions, including the following:
Installation
- Adhere to all industry recommended safety procedures including the use of long-sleeved gloves and safety glasses.
- Never attempt to operate this appliance if it is damaged, malfunctioning, partially disassembled, or has missing or broken parts, including a damaged cord or plug.
- Before use, the appliance must be properly installed as described in this manual.
- To reduce the risk of severe injury or death, follow all installation instructions.
- Refer to the INSTALLATION INSTRUCTIONS for detailed grounding procedures. Installation instructions are packed with the appliance for the installers reference. If the appliance is moved to a new location, have it checked and reinstalled by qualified service personnel.
- Moving or installation of the appliance requires two or more people.
- Do not install the appliance in humid spaces.
- Store and install the appliance where it will not be exposed to temperatures below freezing or exposed to outdoor weather conditions.
- This appliance is not designed for maritime use or for mobile installations such as in RVs, trailers, or aircraft.
- Keep packing materials out of the reach of children. Packaging material can be dangerous for children. There is a risk of suffocation.
- Destroy the carton, plastic bag, and other packing materials after the appliance is unpacked. Children might use them for play. Cartons covered with rugs, bedspreads, or plastic sheets can become airtight chambers.•
- The appliance must be installed and electrically grounded by qualified service personnel in accordance with local codes.•
- When installing or moving the appliance, be careful not to pinch, crush, or damage the power cord.•
- Connect to a properly rated, protected, and sized power circuit to avoid electrical overload.•
- This appliance must be positioned near to an electrical power supply.
- • Disconnect the power cord, house fuse or circuit breaker before installing or servicing the appliance.•
- The power cord of this appliance is equipped with a 3-prong (grounding) plug which mates with astandard 3-prong (grounding) wall outlet to minimize the possibility of electric shock from this appliance.•
- Do not, under any circumstances, cut or remove the third (ground) prong from the power cord.•
- Use new hoses when connecting the washer to the water supply. Do not reuse old hoses.
Operation
- Read all instructions before using the appliance and save these instructions.
- Use this appliance only for its intended purpose.
- If the product has been submerged in water, sitting in standing water, or waterlogged, do not come in contact with the product and immediately contact an LG Electronics Customer Information Center for instructions before resuming use.
- If you detect a strange sound, a chemical or burning smell, or smoke coming from the appliance, unplug it immediately, and contact an LG Electronics Customer Information Center.
- Under certain conditions, hydrogen gas may be produced in a hot-water system that has not been used for two weeks or more. HYDROGEN GAS IS EXPLOSIVE. If the hot-water system has not been used for such a period, before using the appliance, turn on all hot water faucets and let the water flow from each for several minutes. This will release any accumulated hydrogen gas. As the gas is flammable, do not smoke or use an open flame during this time.
- Do not reach into the washer if the tub or drum, agitator, or any interior parts are moving. Before loading, unloading, or adding items, press Start/Pause and allow the tub or drum to coast to a complete stop before reaching inside.
- This appliance is not intended for use by persons (including children) with reduced physical, sensory or mental capabilities, or lack of experience and knowledge, unless they have been given supervision or instruction concerning the use of the appliance by a person responsible for their safety.
- Do not allow children or pets to play on, in or with the appliance. Close supervision is necessary when the appliance is used near children or pets.
- Keep laundry products out of children’s reach. To prevent injury to persons, observe all warnings on product labels.
- Repair or immediately replace all power cords that have become frayed or otherwise damaged. Do not use a cord that shows cracks or abrasion damage along its length or at either end.
- Never unplug the appliance by pulling on the power cord. Always grip the plug firmly and pull straight out from the outlet.
- Do not use an extension cord or adapter with this appliance.
- Do not grasp the power cord or touch the appliance controls with wet hands.
- Do not modify or extend the power cord.
- If the electrical supply cord is damaged, it must only be replaced by the manufacturer or its service agentora similar qualified person in order to avoid a hazard.
- Do not put oily or greasy clothing, candles or flammable materials on top of the appliance.
- Keep the area underneath and around your appliances free of combustible materials (lint, paper, rags, etc.), gasoline, chemicals and other flammable vapors and liquids.
- Do not store or use gasoline or other flammable vapors and liquids in the vicinity of this or any other appliance.
- Do not mix chlorine bleach with ammonia or acids such as vinegar. Follow package directions when using laundry products. Incorrect usage can produce poisonous gas, resulting in serious injury or death.
- Never use harsh chemicals, abrasive cleaners, or solvents to clean the washer. They will damage the finish.
- Do not wash laundry that has been previously cleaned in, washed in, soaked in, or spotted with gasoline, dry-cleaning solvents, vegetable or cooking oil, or other flammable or explosive substances, as they give off vapors that could ignite or explode.
- Do not add gasoline, dry cleaning solvents, or other flammable or explosive substances to the wash water. These substances give off vapors that could ignite or explode.
- In the event of a gas leak (propane gas, LP gas, etc.), do not operate this or any other appliance. Open a window or door to ventilate the area immediately.
- Do not tamper with controls.
- Fix the drain hose securely in place to avoid flooding.
- Do not abuse, sit on, or stand on the door of the appliance.
- Always check the inside of the appliance for foreign objects.
- Do not allow water, bleach or other liquids to sit in the drum for extended periods. Doing so can corrode the drum or cause mildew or odors.
- Do not dry unwashed items in the appliance.
Maintenance
- Do not repair or replace any part of the appliance. All repairs and servicing must be performed by qualified service personnel unless specifically recommended in this owners manual. Use only authorized factory parts.
- Disconnect this appliance from the power supply before cleaning and attempting any user maintenance. Turning the controls to the OFF position does not disconnect this appliance from the power supply.
- Remove any dust or foreign matter from the power plug pins.
- Do not disassemble or repair the appliance by yourself.
- Remove the door before the appliance is removed from service or discarded to avoid the danger of children or small animals getting trapped inside.
- Make sure the dispenser drawer or lid is closed at all times when not being filled with laundry products.
Grounding Instructions
- Improper connection of the equipment-grounding conductor can result in a risk of electric shock. Check with a qualified electrician or service personnel if you are in doubt whether the appliance is properly grounded. Do not modify the plug provided with the appliance; if it will not fit the outlet, have a proper outlet installed by a qualified electrician.•
- The appliance must be grounded. In the event of a malfunction or breakdown, grounding will reduce the risk of electric shock by providing a path of least resistance for electric current. The appliance is equipped with a cord having an equipment-grounding conductor and a grounding plug. The plug must be plugged into an appropriate outlet that is installed and grounded in accordance with all local codes and ordinance
CAUTION STATEMENTS
CAUTION• To reduce the risk of minor or moderate injury to persons, malfunction, or damage to the product orproperty when using this product, follow basic precautions, including the following:
Installation•
- Install the product on a firm and level floor.
Operation•
- Do not place objects on top of the appliance.•
- Turn off the water faucets and unplug the appliance if the appliance is to be left for an extended period of time, such as during vacations.•
- ALWAYS follow the fabric care instructions supplied by the garment manufacturer.•
- Use fabric softeners or products to eliminate static only as recommended by the manufacturer.•
- Do not combine laundry products for use in one load unless specified on the label.•
- Do not touch draining water which may be hot.•
- If the drain hose and the water inlet hose are frozen in winter, defrost them before using the appliance.•
- Do not store or spill liquid detergents, cleaners, or bleaches (chlorine bleach, oxygen bleach) on the appliance. Doing so may result in corrosion, discoloration or damage to the surface of the appliance.•
- Clothing or articles that are waterproof or water-resistant must be washed in the Waterproof, Bedding,Bulky/Large, or Jumbo Wash cycle only. (Examples include water resistant clothing, mattress covers,outdoor clothes, and plastic mats.) Failure to do so may result in personal injury or damage to the washer, clothes, walls, floor, and surrounding objects due to abnormal vibration.
SAVE THESE INSTRUCTIONS
PRODUCT OVERVIEW

Product Features
The images in this guide may be different from the actual components and accessories, which are subject to change by the manufacturer without prior notice for product improvement purposes.
WARNING• For your safety and for extended product life, use only authorized components. The manufacturer is not responsible for product malfunction, property damage or bodily injury caused by the use of separately purchased unauthorized components, parts, or non-LG products.
Front View
- Control Panel
- Detergent Dispenser Drawer (ezDispense/Manual Dispense)
- Door
- Drain Pump
- Filter Drain Hose
- Drain Pump Filter Cover
- Leveling Feet
- Door Seal
- Drum

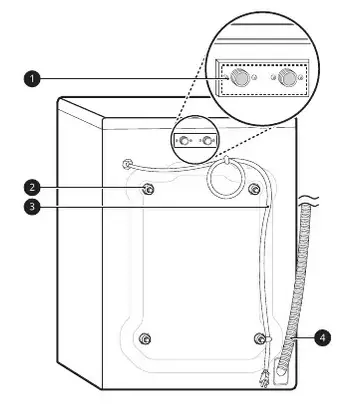
Rear View
- Water Inlets
- Shipping Bolts
- Power Cord
- Drain Hose

Accessories
Included Accessories
- Non-skid Pad
- Hole Caps
- Wrench
- Tie Strap
- Elbow Bracket (for securing drain hose)

Required Accessories (sold separately)
- Hot and Cold Water Hoses

Optional Accessories (sold separately)
- Pedestal†
- Pedestal Washer†
- Stacking Kit
† Check the width of the pedestal before purchasing to make sure that it matches the width of your appliance (27″ (70 cm) or 29″ (74 cm))
Product SpecificationsMode WM6700H*A Electrical Requirements 120 V-, 60 Hz Min. / Max. Water Pressure 20 psi – 120 psi (138 kPa – 827 kPa) Dimensions (Width X Height X Depth) 27″ X 39″ X 33 1/4″‘ (70 cm X 99 cm X 84 cm) Maximum Depth with Door Open 55″ (139.6 cm) Net Weight 209.5 lb (95 kg) Max. Spin Speed 1300 RPM
INSTALLATION

Before Installing
Installation Overview
Please read the following installation instructions first after purchasing this washer or transporting it to another location
- Choosing the Proper Location
- Unpacking and Removing Shipping Material
- Connecting the Inlet Hoses
- Connecting the Drain Hose
- Leveling the Washer
- Final Installation Check
WARNING•
- Moving or installation of the appliance requires two or more people. Failure to follow these instructions may result in injury.•
- Store and install the appliance where it will not be exposed to temperatures below freezing or exposed to outdoor weather conditions. Failure to follow this warning can cause product or part failure, serious injury, fire, electric shock, or death.•
- Properly ground the washer to conform with all governing codes and ordinances. Failure to follow this warning can cause serious injury, fire, electric shock, or death.•
- To ensure proper airflow, do not block the large opening on the bottom of the washer with carpeting or other materials.•
- Do not remove the ground prong from the power cord. Do not use an adapter or extension cord. Plug into a grounded 3-prong outlet. Failure to follow this warning can cause serious injury, fire, electric shock, or death

WARNING•
Certain internal parts are intentionally not grounded and may present a risk of electric shock only during servicing. Service personnel- Do not contact the following parts while the appliance is energized: pump, valve, motor, control board.
Tools Needed
- Pliers
- Flat-Blade Screwdriver
- Level
Choosing the Proper Location
Check the following requirements for the install location before installing the washer.•
- Allow for sufficient space between the walls and the washer for installation.•
- Make sure that the floor is clean, dry and free of dust, dirt, water and oil so the leveling feet cannot slide easily. Leveling feet that can move or slide on the floor can contribute to excess vibration and noise.•
- If the floor has too much flex, reinforce it to make it more rigid. If the floor is not solid, it may cause severe vibration and noise.• If a drain pan must be used, take extra care to follow the instructions provided with the drain pan and make sure the leveling feet are adjusted for firm and even contact with the pan. Use of drain pans and failure to properly level the washer may result in increased vibration and noise during operation
Power Outlet•
- The power outlet must be within 60 inches (1.5 m) of either side of the washer.•
- Position the washer so that the outlet and plug are easily accessible.•
- Do not overload the outlet with more than one appliance.•
- The outlet must be grounded in accordance with current electrical wiring codes and regulations.•
- Use a time-delay fuse or circuit breaker.
- It is the personal responsibility and obligation of the washer owner to have a proper outlet installed by a qualified electrician.
Flooring•
- To minimize noise and vibration, install the washer on a level, solidly constructed floor capable of supporting the washer without flexing or bouncing.•
- The washer must be installed on firm flooring to minimize vibration during the spin cycle. Concrete flooring is best, but a wood floor is sufficient, provided it is built to FHA standards.•
- The floor under the washer must not slope more than 1 inch (2.5 cm) from front to back or side to side.•
- Installing on carpeting and soft tile surfaces is not recommended.
- • Never install the washer on a platform or weakly supported structure.

Floor Installation
To ensure sufficient clearance for water inlet hoses, drain hose and airflow, allow minimum clearances of at least 1 inch (2.5 cm) at the sides and 4 inches (10 cm) behind the washer. Be sure to allow for wall, door, or floor moldings that may increase the required clearances.
| Dimensions and Clearances | |
| A | 24 3/4″ (62.6 cm) |
| B | 55″ (139.6 cm) |
| C | 33 1/4″ (84 cm) |
| D | 4″ (10 cm) |
| E | 1″ (2.5 cm) |
| F | 27″ (70 cm) |
| G | 1/4″(0.5 cm) |

Stacking or Pedestal Installation
The washer can be stacked under a dryer or on top of a pedestal or pedestal washer.
| Dimensions and Clearances | |
| A | 33 1/4″ (84 cm) |
| B | 4″ (10 cm) |
| C | 1″ (2.5 cm) |
| D | 27″ (70 cm) |
| E | 77 1/2″ (196.8 cm) |
| F | 1/4″ (0.5 cm) |
NOTE•
- Refer to the instructions packaged with the optional pedestal kit before stacking appliance on pedestal.•
- Do not use a drain pan with a pedestal or pedestal washer installation as it can block the drawer. Using a drain pan may result in increased vibration and noise during operation.
Unpacking and Removing Shipping Material
Remove all shipping materials from the washer for proper operation and inspect it for shipping damage.
CAUTION•
Failure to remove shipping materials can cause excessive noise and vibration.
Unpacking Shipping Material
*Some models do not ship with drum support.
Lift the washer off the foam base.•
- After removing the carton and shipping material, lift the washer off the foam base.•
- Make sure the plastic drum support 1* comes off with the base and is not stuck to the bottom of the washer.•
- If you must lay the washer down to remove the carton base 2, always protect the side of the washer and lay it carefully on its side. Do not lay the washer on its front or back.

Removing Shipping Material
1. Remove the bolt 3 assemblies.
- Starting with the bottom two shipping bolts3, use the included wrench to fully loosen all 4 shipping bolts by turning them counter clock wise.•
- Remove the bolt assemblies (bolts and retainers) by wiggling them slightly while pulling them out.
2. Install the hole caps. - • Locate the hole caps 4 included in the accessory pack or attached to the back of the washer. Install the caps in the holes left by the bolt assemblies.

CAUTION•
Once removed, save the bolt assemblies for future use. To prevent damage to internal components, do not transport the washer without reinstalling the shipping bolts. Failure to remove shipping bolts and retainers may cause severe vibration and noise, which can lead to permanent damage to the washer.
NOTE•
The power cord is secured to the back of the washer with a shipping bolt to help prevent operation with shipping bolts in place.
Connecting the Water Inlet Hoses
To avoid the risk of costly water damage, purchase and install new water inlet hoses when installing the washer.
WARNING•
- Do not over tighten the hoses or cross-thread the hose fittings. Over tightening or cross-threading can damage the valves or couplings, resulting in leaking and property damage.
- Do not reuse old hoses. Use only new hoses when installing the washer. Old hoses could leak or burst causing flooding and property damage.Contact an LG Customer Information Center for assistance in buying hoses.
NOTE•
- Periodically check the hoses for cracks, leaks,and wear, and replace the hoses every five years.•
- Do not stretch the water hoses intentionally, and make sure that they are not pinched, crushed or kinked by other objects.
- Water supply pressure must be between 20 psiand 120 psi (138 – 827 kPa). If the water supply pressure is more than 120 psi, a pressure reducing valve must be installed.•
- Your hot water heater should be set to deliver water at 120–135 °F (48–57 °C) to allow the washer to properly control wash temperatures.
- Do not store or install the washer in a location subject to freezing temperatures.
- Damage to the water inlet hoses and internal mechanisms of the washer can result. If the washer was exposed to freezing temperatures prior to installation, allow it to stand at room temperature for several hours before use and check for leaks prior to operation.•
- Do not use flood-preventing hoses with auto shut off devices. The devices can be tripped during fill and prevent the washer from filling properly.
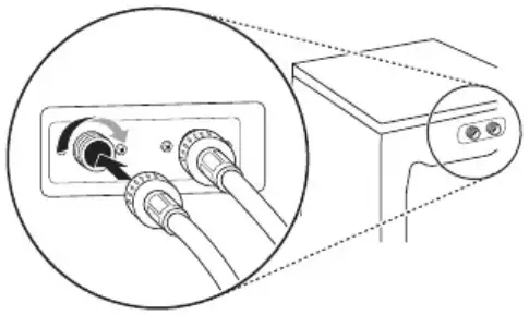
How to Connect the Water Inlet Hoses

1. Check the fittings and seals. Inspect the threaded fitting on each hose and make sure there is a rubber seal 1 in place in both ends of each hose to prevent leaking.
2. Connect the water supply hoses.•
- Connect the water inlet hoses to the hot and cold water faucets tightly by hand and then tighten another 2/3 turn with pliers.•
- Connect the blue hose to the cold water faucet and the red hose to the hot water faucet.



3. Flush out the inlet hoses.•
After the hoses are connected, turn on the water faucets and flush out any foreign substances such as dirt, sand, or sawdust.
Let the water drain into a bucket, and check the water temperature to make sure you’ve connected the hoses to the correct faucets
4. Attach the inlet hoses to the back of the washer.•
Attach the hot water inlet hose to the hot water inlet on the back of the washer.Attach the cold water inlet hose to the cold water inlet on the back of the washer.•
Tighten the fittings securely. Turn on both faucets all the way and check for leaks at both ends of the hoses.
Connecting the Drain Hose
Connect the drain hose to either a standpipe or laundry tub.
WARNING•
- The drain hose should always be properly secured. Failure to properly secure the drain hose can result in flooding and property damage.
NOTE•
- The drain must be installed in accordance with any applicable local codes and regulations.
- • Make sure that the drain hose is not stretched,pinched, crushed, or kinked.•
- The end of the drain hose should be located aminimum of 24″ (61 cm) and a maximum of 96″(244 cm) above the bottom of the washer.
- • For best results, locate the end of the drain hose no higher than 66″ (168 cm) above the bottom of the washer. As the drain outlet is raised beyond 66″ (168 cm), the drain function will be increasingly affected.•
- Never create an airtight seal between the hose and the drain with tape or other means. If no air gap is present, water can be siphoned out of the drum resulting in poor wash/rinse performance or clothing damage.
Using a Standpipe to Drain
- Clip the end of the hose into the elbow bracket.•
Connect the elbow bracket 1 within 4 inches (10 cm) of the end of the drain hose.If the drain hose is extended more than 4inches (10 cm) beyond the end of the elbow bracket, mold or microorganisms could spread to the inside of the washer.
- Insert the end of the drain hose into the standpipe.

- Use the provided tie strap 3 to secure the drain hose in place.

- If the water valves and drain are built into the wall, fasten the drain hose to one of the water hoses with the provided tie strap 3 (ribbed side on inside).

Using the Laundry Tub to Drain
- Clip the end of the hose into the elbow bracket.•
Connect the elbow bracket a within 4inches (10 cm) of the end of the drain hose.If the drain hose is extended more than 4inches (10 cm) beyond the end of the elbow bracket, mold or microorganisms could spread to the inside of the washer.
- Hang the end of the drain hose over the side of the laundry tub.

- Use the provided tie strap to secure the drain hose in place

Leveling the Washer
The drum of the washer spins at very high speeds.
To minimize vibration, noise, and unwanted movement, the floor must be a solid, level surface.
CAUTION•
- Using the washer without leveling it may cause excess vibration and noise, leading to a washer malfunction.•
- Adjust the leveling feet only as far as necessary to level the washer. Extending the leveling feet more than necessary can cause the washer to vibrate.
NOTE•
- Before installing the washer, make sure that the floor is clean, dry and free of dust, dirt, water and oil so the washer feet cannot slide easily.Feet that move or slide on the floor can contribute to excessive vibration and noise.
How to Level the Washer
- Position the washer in its final location.•
Take special care not to pinch, strain, or crush the water and drain hoses. If you have a carpenter’s level 1, you can use it to check that the washer is level. The slop ebeneath the washer should not exceed 1inch, and all 4 leveling feet must rest firm lyon the floor.
- Adjust the leveling feet.•
Turn all 4 leveling feet in one direction to raise the washer or the other direction to lower it.
- Check the level again.•
Push or rock the top edges of the washer gently to make sure the washer does not rock. If the washer rocks, readjust the leveling feet. - Tighten the lock nuts 2
Turn the lock nuts counterclockwise and tighten them when the washer is level.

Using Non-Skid Pads
If you install the washer on a slippery surface, it may move because of excessive vibration.
Incorrect leveling may cause malfunction through noise and vibration. If this occurs, install the non-skid pads under the leveling feet and adjust the level.
- Clean the floor to attach the non-skid pads.
Use a dry rag to remove and clean foreign objects or moisture. If moisture remains, the non-skid pads may slip. - Adjust the level after placing the washer in the installation area.
- Place the adhesive side 3 of the non-skid pad on the floor.•
It is most effective to install the non-skid pads under the front leveling feet. If it is hard to place the pads under the front leveling feet, place them under the back leveling feet.
1. This side up
2. Remove backing - Recheck the washer’s levelness.•
Push or rock the top edges of the washer gently to make sure the washer does not rock. If the washer rocks, level the washer again.
Final Installation Check
Connecting to the Power Supply
Plug the washer into a 120 V, 60 Hz grounded 3-prong outlet.
WARNING
- Do not use a worn or damaged power cord or power plug. Replace or repair it immediately. Failure to do so may result in death, fire, electric shock, or malfunction.• Do not modify the power cord and plug provided with the appliance.
- Do not damage it when installing or moving the appliance. Doing so may result in death, fire, electric shock, or malfunction.•
- Make sure that the appliance is grounded.• Connect this appliance to a grounded outlet conforming to the rating prior to use. Failure to do so may result in fire, electric shock, or malfunction.•
- Do not damage or cut off the ground prong of the power cord. Doing so may cause death, fire, electric shock, or product malfunction.•
- Improper connection of the equipment grounding conductor can result in risk of electric shock. Check with a qualified electrician or service technician if you are in doubt as to whether the appliance is properly grounded. If the plug does not fit the outlet, have a proper outlet installed by a qualified electrician.•
- The appliance and outlet must be positioned so that the plug is easily accessible.
WARNING•
- Do not use an adapter or extension cord. Doing so may result in serious injury, fire, electric shock, or death.•
- For best performance, plug the appliance into its own individual outlet. This helps prevent over loading house wiring circuits which could cause a fire hazard from overheated wires.•
- If necessary, use a new, UL-listed extension cord with a 3-prong (grounding) plug rated at no less than the branch circuit. Do not use an extension cord longer than 3 feet. Failure to follow these warnings may result in serious injury, fire,electric shock, or death.
Testing the Washer
Check if the washer is properly installed and run a test cycle.
- Load the washer with 6 thick bath towels (approximately 6 pounds).
- Press the Power button.
- Turn the knob and select the Quick Wash cycle.
- Press the Start/Pause button to start the wash cycle.
- Make sure that water is supplied, that the washer does not rock or vibrate excessively, and that it drains well during the spin cycle.
NOTE•
- If water leaks during water supply, see Connecting the Water Inlet Hoses to connect them properly.•
- If the washer rocks and vibrates excessively, see Leveling the Washer to level it again.
- If the drain does not work, see Connecting the Drain Hose to install the hose properly.
OPERATION
Before Use
WARNING
- To reduce the risk of fire, electric shock, or injury to persons, read the SAFETY INSTRUCTIONS before operating this appliance.
Operation Overview
- Sort laundry and load the washer.
• Sort laundry by fabric type, soil level, color and load size as needed. Open the door and load items into the washer.
• If using single-use detergent packs, or gel or tablet detergents, place them In the drum before loading the laundry. - Add cleaning products.
• Fill the larger ezDispense reservoir with HE (High-Efficiency) liquid detergent. Fill the smaller reservoir with liquid fabric softener, if desired.
• Use the front detergent compartment of the manual dispenser for liquid or powdered detergent, or oxygen-based bleach. Place liquid chlorine bleach ONLY in the bleach compartment at the back of the manual dispenser.
• Do not place liquid or powdered detergent packs, or gel or tablet detergents in the dispenser. - Turn on the washer.
• Press the Power button to turn on the washer. - Select a cycle.
• Turn the cycle selector knob until the desired cycle is selected and press the V(OK) button.
• The preset wash temperature, spin speed, soil level and option settings for the selected cycle are shown.
• The Normal cycle must be selected in order to change its default settings.
• Pressing the Start/Pause button without selecting a cycle immediately starts the Normal cycle with the default settings. - Adjust settings.
• Default settings for the selected cycle can be changed, if desired, using the cycle modifier and option buttons.
• Not all modifiers and options are available on all cycles. A different chime sounds and the LED does not light up if the selection is not allowed. - Begin cycle.
• Press the Start/Pause button to begin the cycle. The door locks, and the washer agitates briefly without water to measure the weight of the load.
• If the Start/Pause button is not pressed within a certain time, the washer shuts off and all settings are lost. - End of cycle.
• When the cycle is finished, a melody sounds. Immediately remove the clothing from the washer to reduce wrinkling.
• Check around the door seal when removing the load for small items that may be caught in the seal.
NOTE
- The washer rotates the laundry in a way that allows it to use less water while still fully saturating the clothing. It is normal to be unable to see water during the wash cycle.
- If the temperature or the water level inside the machine is too high, the door will not unlock when the Start/Pause button is pressed, and the Add Garments function will not be available (on applicable models). To stop a cycle and drain the water completely, turn the power off, then on, and then select Quick Wash.
Loading the Washer
General Tips
- Check and empty pockets. Paper clips, coins, matches, and other items can damage clothing and the washer.
- Close zippers and hooks, and tie drawstrings to prevent snagging or tangling of clothes.
- Pretreat heavily stained areas for best results.
- Brush off heavy soil, dust, and hair from items before washing. Excess dirt or sand can abrade other fabrics and lead to poor wash performance.
- For best performance, load clothes as shown.
– Do not press down on items while stacking them in the drum.
– Load clothes loosely, and do not overfill the drum. Clothes need room to circulate in order to get clean. - Combine large and small items in the drum. Load large items first. Large items should not be more than half of the total load.
- The washer can be fully loaded, but the drum should not be tightly packed with items. The door of the washer must close easily.
- The washer will not fill or operate with the door open.
CAUTION
- Clothing or articles that are waterproof or water-resistant must be washed in the Waterproof, Bedding, Bulky/Large, or Jumbo Wash cycle only. (Examples include water resistant clothing, mattress covers, outdoor clothes, and plastic mats.) Failure to do so may result in personal Injury or damage to the washer, clothes, walls, floor, and surrounding objects due to abnormal vibration.
Bulky Items
- Wash thick, bulky items individually. Heavy blankets, comforters, bedspreads, or pet beds can get tangled or cause an unbalanced load if combined with other items.
Small Items
- Do not wash a single small item. Add enough similar items to the load to prevent an out-of-balance load. Wash small, light items in a mesh bag. Small items can get caught in the impeller at the bottom of the drum, and brassiere hooks can snag on other clothing or the drum.

Additional Operation Information
The complete owners manual can be found on the LG website at: http://gscs-manual.lge.com/Total/DFZ/NA/FUFX/maln.html or by scanning the QR code.
http://gscs-manual.lge.com/Total/DFZ/NA/FL/FX/main.html
- Sorting Laundry
- Adding Cleaning Products
- Control Panel
- Wash Cycles
- Cycle Modifiers
- Options and Extra Functions
Adding Cleaning Products
Using the ezDispense Function
When the ezDispense function is turned on, the liquid detergent and softener are dispensed in the set amounts, at the appropriate time during the cycle.
- A full detergent reservoir will last for about 18 standard cycles, with the drum filled about halfway.
- The default settings are configured to dispense 1.5 oz (45 ml) of detergent and 1 oz (30 ml) of softener for 11 lb (5 kg) of normally soiled laundry. This can be changed using the Default Det. Dispense or Default Soft. Dispense setting. For more details, see “Additional Settings” in the More Options and Settings section.
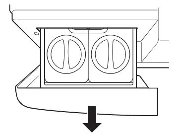
- Slowly slide the detergent dispenser drawer out as far as it will go.
1. Liquid fabric softener reservoir
2. Main wash liquid detergent reservoir - Turn the lids on the ezDispense reservoirs to open them.

- Pour the detergent and softener into their respective reservoirs, up to the MAX line.
• The ezDispense drawer has two reservoirs. Put the liquid detergent Into the larger reservoir and the fabric softener into the smaller reservoir.
• Use only liquid HE detergents in the ezDispense detergent reservoir.
• Do not put liquid or powdered bleach, or powdered, gel or sheet type detergents into the ezDispense reservoirs.
• Remove any residual detergent on the outside of the ezDispense drawer before inserting it.
• Do not try to fill the reservoirs too quickly. Add detergent and softener slowly to avoid overflows.
- After filling the reservoirs, insert the lids and turn them to the right until they are tightly closed.
• Securely close the lids to the ezDispense reservoirs to minimize airflow which can harden cleaning products and prevent them from dispensing properly. Be careful not to lose the lids. - Close the dispenser drawer slowly before starting the cycle.
• Slamming the drawer closed may result in the detergent overflowing Into another compartment or dispensing into the drum earlier than programmed.
• Be careful not to get a hand caught in the drawer while closing.
• It is normal for a small amount of water to remain in the manual dispenser compartments at the end of the cycle.
CAUTION
- Slide the detergent dispenser drawer out or in slowly and use both hands for safety.
- Failure to do so can damage the washer or cause the detergent or softener to leak out of the ventilation holes.
- Detergent or fabric softener left in the ezDispense reservoirs for an extended period may harden and fail to dispense properly.
- Do not remove the dispenser drawer while the product is in operation.
- Remove detergent/softener in the ezDispense reservoirs before moving the washer.
Using the Manual Dispense Function
Add detergent and bleach to the manual dispenser.
- To turn off the automatic dispensers, press the Options button.

- Turn the knob to select Detergent Level or Softener Level and press the
(0K) button.
- Turn the knob to select Off and press the
(0K) button. - Open the detergent dispenser drawer.

- Load the laundry products into the appropriate manual dispenser compartments.
• Use the main wash detergent compartment at the front of the manual dispenser for powdered or liquid detergent or oxygen-based bleach. Do not use it for liquid chlorine bleach.
• Do not place detergent sheets in the manual dispenser.
• Place liquid chlorine bleach ONLY in the compartment at the rear of the manual dispenser.
• If using single-use detergent packs, place the pack in the drum before loading the laundry. Do not place liquid or powdered detergent packs in the dispenser.
1. Liquid chlorine bleach compartment
2. Manual main wash detergent compartment - Close the detergent dispenser drawer slowly before starting the cycle.
• Slamming the detergent dispenser drawer may result in the detergent overflowing into another compartment or pouring into the tub earlier than programmed.
CAUTION
- Do not place or store laundry products, such as detergent, bleach, or liquid fabric softener, on top of your washer. These products can damage the washers finish and controls.
NOTE
- The manual dispenser cannot be used for pre-wash detergent dispensing.
Manual Main Wash Detergent Compartment
This compartment holds laundry detergent for the main wash cycle. Either powdered or liquid detergent may be used in this compartment.
- The detergent is added to the load at the beginning of the cycle. Always use HE (High-Efficiency) detergent with your washer.
- Liquid or powdered color-safe bleach may be added to the manual main wash compartment with detergent of the same type. Do not mix liquids and powders
- If you use a detergent that does not dissolve easily or a detergent with high viscosity, it will leave a residue and clog the dispenser.
Liquid Bleach Compartment
This compartment holds liquid bleach, which is dispensed automatically at the proper time during the wash cycle. The dispenser is activated twice to ensure complete dispensing of the bleach. Any liquid remaining in the dispenser at the end of the cycle is water, not bleach.
WARNING
- Do not mix chlorine bleach with ammonia or acids such as vinegar or rust/scale remover. Mixing chemicals like these can produce a lethal gas, resulting In severe injury or death.
NOTE
- Do not add powdered bleach to this compartment. The bleach compartment is designed to dispense liquid chlorine bleach only. Powdered or liquid color-safe bleach will not dispense properly.
- Follow the manufacturers recommendations when adding bleach. Never add more than one cup, and do not exceed the maximum fill line or the bleach may be dispensed immediately and damage fabrics. Using too much bleach can also damage fabrics.
- Never pour undiluted liquid chlorine bleach directly onto the load or into the drum. Fabric damage can occur.
- Do not use color-safe bleach or oxygen bleach in the same cycle with liquid chlorine bleach.
SMART FUNCTIONS
Using LG ThinQ Application
The LG ThinQ application allows you to communicate with the appliance using a smartphone.
LG ThinQ Application Features
For the product that contains the Wireless LAN module
- Remote Start
– Control the appliance remotely from the LG ThinQ application. - Downloaded
– Download new and specialized cycles that are not included in the standard cycles on the appliance. - Tub Clean Coach
– Find out how many cycles remain before it is time to run the Tub Clean cycle. - Energy Monitoring
– Keep track of the washer’s power consumption and how it is affected by your selected wash cycles and options. - Smart DlagnosisTm
– This function provides useful information for diagnosing and solving issues with the appliance based on the pattern of use. - Push Alerts
– When the cycle is complete or the appliance has problems, you will receive a push message. - Settings
– Set various options on the appliance and in the application.
NOTE
- If you change your wireless router, Internet service provider, or password, delete the connected appliance from the LG ThinQ application and connect it again.
- This information is current at the time of publication. The application is subject to change for product improvement purposes without notice to users.

Installing LG ThinQ App and Connecting an LG Appliance
Models with QR Code
Scan the QR code attached to the product using the camera or a QR code reader app on your smartphone.
Models without QR Code
- Search for and install the LG ThinQ app from the Google Play Store or Apple App Store on a smartphone.
- Run the LG ThinQ app and sign in with your existing account or create an LG account to sign in.
- Touch the add (+) button on the LG ThinQ app to connect your LG appliance. Follow the instructions in the app to complete the process.
NOTE
- You may be asked to provide a password to connect to the LG network (not your home network) during the Wi-Fi setup. The password is the last 4 characters of the network name, repeated twice, with no spaces. For example, if the network name appears as LG_XXXX8b92, then you would enter 8b928b92 as your password. The password is case sensitive and the last 4 characters are unique to your appliance.
- To verify the Wi-Fi connection, check that the ”
” icon on the control panel is lit. - The appliance supports 2.4 GHz Wi-Fi networks only. To check your network frequency, contact your Internet service provider or refer to your wireless router manual.
- LG Thing is not responsible for any network connection problems or any faults, malfunctions, or errors caused by network connection.
- If the appliance is having trouble connecting to the Wi-Fi network, it may be too far from the router. Purchase a Wi-Fi repeater (range extender) to improve the Wi-Fi signal strength. • The Wi-Fi connection may not connect or may be interrupted because of the home network environment.
- The network connection may not work properly depending on the Internet service provider.
- The surrounding wireless environment can make the wireless network service run slowly.
- If the appliance cannot be registered due to problems with the wireless signal transmission, unplug the appliance and wait about a minute before trying again.
- If the firewall on your wireless router is enabled, disable the firewall or add an exception to it.
- The wireless network name (SSW) should be a combination of English letters and numbers. (Do not use special characters.)
- Smartphone user interface (UI) may vary depending on the mobile operating system (OS) and the manufacturer.
- If the security protocol of the router is set to WEP, network setup may fail. Change the security protocol (WPA2 is recommended) and connect the product again.
Using the Appliance Remotely
Remote Start
Use a smartphone to control your appliance remotely. You can also monitor your cycle operation so you know how much time is left in the cycle.
Using Remote Start
- Put the laundry in the drum. If using the manual dispenser, add detergent to the detergent dispenser drawer. If using ezOispense, make sure that there is sufficient detergent and softener in the reservoirs.
• If desired, add bleach to the appropriate section of the manual dispenser. - Press the Power button.
- Press the Options button, turn the knob to select Remote Start and press the
(0K) button. - Turn the knob to select On and press the
(OK) button to enable the remote control function. - Start a cycle from the LG ThinQ application on your smartphone.
NOTE
- Once this function is enabled, you can only start a cycle from the LG ThinQ smartphone application. If the cycle is not started, the appliance will wait to start the cycle until it is turned off remotely from the application or the remote function is disabled.
- If the door has been opened, you cannot start a cycle remotely.
Disabling Remote Start Manually
When the function is activated, press the Options button, turn the knob to select Remote Start and press the .'(OK) button. Turn the knob to select Off and press the V(OK) button.
Download Cycle
You can download new and specialized cycles that are not included in the standard cycles on the appliance.
Appliances that have been successfully connected can download a variety of specialty cycles specific to the appliance.
Once cycle download is completed in the appliance, the product keeps the downloaded cycle until a new cycle is downloaded.
NOTE
- Only one downloaded cycle can be stored on the appliance at a time.
Radio Equipment Specifications
To identify RF module Installed in the appliance, refer to the label attached to the appliance.
| Type | Frequency Range | Output Power (Max) |
| Wireless LAN | 2412 – 2462 MHz | < 30 dBm |
| Bluetooth | 2402 – 2480 MHz |
FCC Notice
The following notice covers the transmitter module contained in this product.
This equipment has been tested and found to comply with the limits for a Class B digital device, pursuant to Part 15 of the FCC Rules. These limits are designed to provide reasonable protection against harmful interference in a residential installation. This equipment generates, uses, and can radiate radio frequency energy and, if not installed and used in accordance with the instructions, may cause harmful interference to radio communications. However, there is no guarantee that interference will not occur in a particular installation. If this equipment does cause harmful interference to radio or television reception, which can be determined by turning the equipment off and on, the user is encouraged to try to correct the interference by one or more of the following measures:
- Reorient or relocate the receiving antenna.
- Increase the separation between the equipment and the receiver.
- Connect the equipment to an outlet on a circuit different from that to which the receiver is connected.
- Consult the dealer or an experienced radio/TV technician for help.
This device complies with part 15 of the FCC Rules. Operation is subject to the following two conditions:
- This device may not cause harmful interference and
- This device must accept any interference received, including interference that may cause undesired operation.
Any changes or modifications in construction of this device which are not expressly approved by the party responsible for compliance could void the users authority to operate the equipment.
FCC RF Radiation Exposure Statement
This equipment complies with FCC radiation exposure limits set forth for an uncontrolled environment. This transmitter must not be co-located or operating in conjunction with any other antenna or transmitter. This equipment should be installed and operated with a minimum distance of 20 cm (7.8 inches) between the antenna and your body. Users must follow the specific operating instructions for satisfying RF exposure compliance.
Industry Canada Statement
This device contains licence-exempt transmitter(s)/ receiver(s) that comply with Innovation, Science and Economic Development Canada’s licence exempt RSS(s). Operation is subject to the following two conditions: (1) This device may not cause interference. (2) This device must accept any interference, including interference that may cause undesired operation of the device.
IC Radiation Exposure Statement
This equipment complies with IC radiation exposure limits set forth for an uncontrolled environment.
This equipment should be installed and operated with a minimum distance of 20 cm (7.8 inches) between the antenna and your body.
NOTE
- THE MANUFACTURER IS NOT RESPONSIBLE FOR ANY RADIO OR TV INTERFERENCE CAUSED BY UNAUTHORIZED MODIFICATIONS TO THIS EQUIPMENT. SUCH MODIFICATIONS COULD VOID THE USER’S AUTHORITY TO OPERATE THE EQUIPMENT.
Open Source Software Notice Information
To obtain the source code that is contained in this product, under GPL, LGPL, MPL, and other open source licenses that have the obligation to disclose source code, and to access all referred license terms, copyright notices and other relevant documents, please visit https://opensource.lge.com.
LG Electronics will also provide open source code to you on CD-ROM for a charge covering the cost of performing such distribution (such as the cost of media, shipping, and handling) upon email request to [email protected].
This offer is valid to anyone in receipt of this information for a period of three years after our last shipment of this product.
Smart DiagnosisTM Function
Use this feature to help you diagnose and solve problems with your appliance.
NOTE
- For reasons not attributable to LGE’s negligence, the service may not operate due to external factors such as, but not limited to, Wi-Fi unavailability, Wi-Fi disconnection, local app store policy, or app unavailability.
- The feature may be subject to change without prior notice and may have a different form depending on where you are located.
Using LG ThinQ to Diagnose Issues
If you experience a problem with your Wi-Fi equipped appliance, it can transmit troubleshooting data to a smartphone using the LG ThinQ application.
- Launch the LG ThinQ application and select the Smart Diagnosis.™ feature in the menu. Follow the instructions provided in the LG Thin() application.
Using Audible Diagnosis to Diagnose Issues
Follow the instructions below to use the audible diagnosis method.
• Launch the LG ThinQ application and select the Smart DiagnosisTm feature in the menu. Follow the instructions for audible diagnosis provided in the LG ThinQ application.
- Press the Power button to turn on the appliance.
- Press the Options button.
- Turn the knob to select Additonal Settings and press the
(0K) button. - Turn the knob to select Smart Diagnosis and press the
(0K) button. - Place the mouthpiece of your smartphone close to the Power button and press the
(0K) button.
• Hold the smartphone mouthpiece to the Power button until the data transfer is complete.
- After the data transfer is complete, the washer will turn off.
NOTE
- For best results, do not move the smartphone while the tones are being transmitted.
MAINTENANCE
WARNING
- To reduce the risk of fire, electric shock, or injury to persons, read this entire owner’s manual, including the SAFETY INSTRUCTIONS, before operating this appliance.
- Unplug the appliance before cleaning to avoid the risk of electric shock. Failure to follow this warning can cause serious injury, fire, electric shock, or death.
- Do not use volatile substances (benzene, paint thinner, alcohol, acetone, etc.), abrasive cleaners, or detergents with strong chemical components when cleaning the appliance. Doing so may cause discoloration or damage to the appliance, or may cause a fire.
- Certain internal parts are intentionally not grounded and may present a risk of electric shock only during servicing. Service personnel -Do not contact the following parts while the appliance is energized: pump, valve, motor, control board.
Regular Cleaning
Care after Wash After the cycle is finished, wipe the door and the inside of the door seal to remove any moisture.
- Wipe the body of the washer with a dry cloth to remove any moisture.
- Leave the door open to dry the drum interior.
WARNING
- Make sure children and pets do not climb into the drum. Engage the Control Lock feature if needed to prevent children from accidentally starting a wash cycle.
Cleaning the Exterior
Proper care of your washer can extend its life.
Door:
Wash with a damp cloth on the outside and inside and then dry with a soft cloth.
Exterior:
- Immediately wipe off any spills.
- Wipe with a damp cloth.
- Do not touch the surface or the display with sharp objects.
Periodic Maintenance
- Use a towel or soft cloth to wipe around the washer door opening and door glass.
- Always remove items from the washer as soon as the cycle is complete. Leaving damp items in the washer can cause wrinkling, color transfer, and odor.
Cleaning the Drum
Over time, residue may build up in the drum, leading to mildew or a musty odor. Run the Tub Clean cycle monthly to remove residue and prevent odor.
NOTE
- Make sure to run the Tub Clean cycle only when the drum is empty. Never load laundry while using this cycle. The laundry may be damaged or contaminated with cleaning products.
- Run the cycle more often under heavy use conditions or if odor is already present.
- If mildew or musty smell already exists, run this cycle once a week for three consecutive weeks.
- Remove any clothing from the drum.
- Add cleaning agents.
Cleaner Instructions Drum cleaner Add to main detergent compartment of detergent dispenser Lime scale remover Liquid chlorine bleach Add to bleach compartment of detergent dispenser. Powdered cleaner Pull out liquid detergent cup before adding to main detergent compartment Cleaning tablets Place directly Into the washer drum. • For other drum cleaning products, follow the cleaner manufacturer’s instructions and recommendations.
• Do not exceed the maximum fill line when adding bleach or powdered cleaners. Powdered cleaners may remain in the drum after cleaning. - Close the door and press the Power button.
- Select the Tub Clean cycle and press the Start/Pause button to begin the cycle.
- After the cycle ends, open the door and allow the drum interior to dry completely.
WARNING
- Make sure children and pets do not climb into the drum. Engage the Control Lock feature if needed to prevent children from accidentally starting a wash cycle.
NOTE
- If you use a descaler or drum cleaner during the Tub Clean cycle, use the Rinse+SpIn option to rinse the washer drum before running your next wash cycle.
Removing Mineral Buildup
In areas with hard water, mineral scale can form on internal components of the washer. Periodically clean the mineral buildup on the internal components to extend the lifespan of the washer. Use of a water softener is recommended in areas with hard water.
- Use a descaler to remove visible mineral buildup on the washer drum.
- After descaling, always run the Tub Clean cycle before washing clothing.
- Mineral scale and other spots may be removed from the stainless steel drum using a soft cloth soaked In stainless steel cleaner.
- Do not use steel wool or abrasive cleaners.
Leaving the Door Open
After you finish using the washer, leave the door open overnight to allow air to circulate and dry the drum. This helps prevent odors.
Cleaning the ezDispense Drawer
Remove and clean the ezDispense reservoir every time you refill the detergent/softener or change to a new type of detergent/softener. Remove and clean the detergent dispenser drawer once or twice a month. Leaving detergent In the detergent dispenser drawer for an extended period or using the washer for a long time may cause the build-up of residue In the detergent dispenser drawer.
WARNING
- Do not spray water inside the washer. Doing so may cause fire or electric shock.





1 Turn off the washer, and unplug the power cord.
2 Pull out the dispenser drawer until it stops, and then press down the disengage button to completely remove the drawer.
3 Remove the ezDispense reservoirs from the drawer, and open the reservoirs lids.
• Rinse the drawer in warm water to dissolve the detergent or softener scale.
4 Clean the outsides of the ezDispense reservoirs and inserts with warm water.
• Use a soft cloth or brush to remove any residue.
• Do not use soap when cleaning the drawer and inserts.
5 If the detergent or softener is hardened inside the ezDispense reservoirs, remove the covers on the reservoirs, and clean the insides of the reservoirs with warm water.
• Use a soft cloth or brush to clean and to remove any residue.
• Do not use soap when cleaning the reservoirs.
6 Securely close the covers on the ezDispense reservoirs.
7 Wipe off any moisture with a dry towel or cloth after cleaning.
8 Reassemble the reservoirs and reinstall the dispenser drawer.
Cleaning the Door Seal
Clean the door seal once a month to prevent build-up of dirt
CAUTION
- Cleaning the door seal with undiluted bleach may cause malfunction of the door seal and washer parts. You must add water to the bleach before using it.
- Wear rubber gloves and protective goggles.
- Dilute 3/4 cup (177 mL) of liquid chlorine bleach in 1 gallon (3.8 L) of water.
- Wipe around the door seal.
• Soak a sponge or a soft cloth in this diluted solution and wipe all around the door seal. - Wipe up any moisture with a dry towel or cloth after cleaning.
- Leave the door open to allow the door seal to dry completely.
Cleaning the Water Inlet Filters
If the washer does not fill properly, an error message will appear on the display. The inlet valve filter screens could be clogged by hard water scale, sediment in the water supply, or other debris.
WARNING
• The inlet screens protect the delicate parts of the inlet valve from being damaged by particles that could enter the valves with the water supply. Operating the washer with these filters removed could cause a valve to open continuously, resulting in flooding and/or property damage.
CAUTION
• Do not use the washer without the inlet filters. Doing so will cause leaks and malfunction.
• If you use the washer in an area with hard water, the inlet filter may clog due to lime buildup and require more frequent cleaning.
- Turn off the washer, and unplug the power cord.
- Turn off hot and cold water faucets.
- Unscrew the hot and cold water hoses from the back of the washer.
- Remove the filters from the water valves carefully.
• Use pliers to pull out the filters from the water valves.
- Remove foreign objects and soak the filters in white vinegar or a lime scale remover.
• If using a lime scale remover, follow the manufacturers instructions. Be careful not to damage the filters while cleaning them. - Rinse filters thoroughly and press them back into place.
- Flush then reattach the water hoses.
• Before reattaching the water inlet hoses, flush them by running several gallons of water through them into a bucket or drain, preferably with the faucets wide open for maximum flow.
NOTE
- An Water supply error message may appears on the display when the water pressure is low or an inlet filter is clogged with dirt. Clean the inlet filter.
Cleaning the Drain Pump Filter
The washer fails to drain if the drain pump filter is clogged. Periodically clean the drain filter to prevent clogging with foreign objects.
WARNING
- Opening the drain filter will result in water overflowing if there is water in the drum. Use a bucket if the drum is not completely drained before you open the drain filter.
- Using the washer without the drain filter or with an incorrectly assembled drain filter may cause leaks or malfunction of the washer.
- Turn off the washer, and unplug the power cord.
- Open the drain pump filter cover.

- Drain any remaining water.
• Unclip the drain hose and remove the plug from the drain hose to drain the remaining water.
- Remove the pump filter.
• Twist the pump filter counterclockwise to remove.
- Clean the pump filter and opening.

- Reassemble the plug onto the drain hose and reclip the drain hose.

- Insert the drain pump filter and twist it clockwise.

- Close the drain pump filter cover.
NOTE • An Drainage message appears on the display when the drain pump filter is clogged with dirt. Clean the drain pump filter.
Care in Cold Climates
Storing the Washer If the washer will not be used for an extended period of time and is in an area that could be exposed to freezing temperatures, follow these steps to protect the washer from damage.
NOTE
Make sure the drum is empty before following these steps.
- Turn off the washer, and unplug the power cord.
- Turn off the water faucets.
- Disconnect the water inlet hoses. Drain any water from the hoses.

- Plug the power cord into a properly grounded electrical outlet.
- Add 1 gallon of nontoxic recreational vehicle (RV) antifreeze to the empty drum and close the door.
• Never use automotive antifreeze. - Turn on the washer and press the Spin button.
- Press the Start/Pause button to start the drain pump for 1 minute.
• This will expel some of the antifreeze, leaving enough to protect the washer from damage. - Turn off the washer and unplug the power cord.
- Dry the drum interior with a soft cloth, and close the door.
- Store the washer in an upright position.
- Remove the inserts from the dispenser. Drain any water in the compartments and let them dry.
- To remove the antifreeze from the washer after storage, run the Rinse+Spin cycle using detergent.
• Do not add laundry to this cycle.
When the Water Inlet Hoses Are Frozen
- Turn off the washer, and unplug the power cord.
- Turn off the faucets connected to the water inlet hoses.
- Pour hot water on the frozen faucets to thaw the water inlet hoses and remove the water inlet hoses.
- Immerse the water inlet hoses in hot water to thaw them.
- Reconnect the water inlet hoses to the water inlets of the washer and to the faucets. • See Connecting the Water Inlet Hoses for details.
- Turn on the faucets.
- Press the Power button to turn on the washer.
- Turn the knob to select Spin only cycle for draining and spinning.
- Press the Start/Pause button.
When the Drain Hose Is Frozen
- Pour hot water in the washer drum and close the door.
- Wait for 1 – 2 hours.
- Press the Power button.
- Turn the knob to select Spin only cycle for draining and spinning.
- Press the Start/Pause button to make sure the water drains.
TROUBLESHOOTING
Before Calling for Service
The washer is equipped with an automatic error-monitoring system to detect and diagnose problems at an earty stage. If the washer does not function properly or does not function at all, check the following before you call for service.
FAQs
– A: This is actually a problem with the plumbing in your home. When the water valve in the washer shuts off, it can cause pipes in your home to move, resulting in a loud banging noise. This effect. called water hammer, can be reduced by installing an item called a water hammer arrestor. Add-on arrestors can be purchased through your local hardware or home improvement store.
– A: HE (High-Efficiency) washers are designed to properly wash your laundry while using a minimum amount of water and energy. Because the water volume is low, the small amount of detergent used is more concentrated in the water, resulting in excellent cleaning performance.
– A: The Control Lock feature is turned on. To turn it off, press the Options button, turn the knob to select Control Lock, and press the ~“(OK) button. Select Off and press the (OK) button.
– A: If you are using powdered laundry detergent, load it in the manual detergent dispenser after removing the liquid detergent insert (where applicable). Powdered laundry agents or powdered color safe bleach should be put directly into the drum. These products can be put in the empty drum before loading or on top of the laundry after loading the washer.
– A: If you simply want to use a bit more or less detergent for a single load, press the Options button and select Detergent Level or Softener Level to adjust the level for that load. If you are using a highly concentrated detergent or would just like to use more or less detergent or softener for every load, see the instructions in the Defautt Det. Dispense or Defautt Soft. Dispense under Additional Settings.
– A: Use the information on the detergent packaging. Divide the total number of fluid ounces in the container by the estimated number of loads for a medium or normal wash load. For example, if the bottle contains 100 fl. oz. and the package states that it washes 64 medium loads then 100/64 = 1.6 fl 0z per load. If you generally use about half the manufacturer’s recommended amount, set the default to 0.8 fl oz. Do not set the ezDispense default for more than the maximum recommended amount {for full loads). For additional assistance calculating, use the LG ThinQ app.
– A: Turn off the ezDispense function and use the manual dispenser.
– A: Use the manual dispenser for powdered detergents. Do not put powders in the ezDispense reservoirs.
Error Messages
| Problem | Possible Cause & Solution |
| Door open | The door is opened. •Open and close the door again. if the message keeps appearing. unplug the power cord and call for servke. |
| Door unlocked | The door is not secured. •Check for objects around the door and door seal. If the message keeps appearing. unplug the power cord and call for service. |
| Water supply | Water supply faucets are not fully open. •Make sure that the water faucets are fully open. |
| Water inlet hoses are kinked, pinched, or crushed. •Make sure that the hoses are not kinked, pinched or crushed behind or under the washer. Be careful when moving the washer during cleaning or maintenance. | |
| Water inlet filters are clogged. •Clean the inlet filters. See MAINTENANCE | |
| Water supply pressure to faucet or house is too low. •Check another faucet in the house to make sure that household water pressure is adequate and flow is not restricted. •Disconnect the water inlet hoses from the washer and run a few gallons of water through the hoses to flush out any dirt. •If flow is too low, contact a plumber to have the water supply lines repaired. | |
| Water supply connected with leak-limiting hoses. •The use of hoses designed to limit leaks is not recommended. Leak limiting hoses can trip falsely and prevent the washer from filling. | |
| Drainage | Drain hose is kinked, pinched, or clogged. •Make sure that the drain hose is free of clogs or kinks and is not pinched behind or under the washer. |
| The end of the drain hose is more than 96 inches (24 m) above the bottom of the washer. •Move the end of the drain hose so that it is lower than 96 inches (2.4 m). | |
| Unbalance | The load is too small. •Add additional items to allow the washer to balance the load. |
| Heavy articles are mixed with lighter items. •Mways try to wash articles of somewhat similar weight to allow the washer to evenly distribute the weight of the load for spinning. | |
| The load is out of balance. •Manually redistribute the load if articles have become tangled, preventing the automatic rebalancing from working properly. | |
| No water detected | The water level sensor is not working correctly. •Close the water faucets, unplug the washer. and call for service. |
| Motor error | A motor error has occurred. •Allow the washer to stand for 30 minutes and then restart the cycle. •If the error code is still displayed, all for service. |
| Water too high | Water level is too high due to a faulty water valve. •Close the water faucets, unplug the washer, and call for service. |
| Freeze error | Inlet hose, drain hose or drain pump is frozen. •See Care in Cold Oimates. |
| No temp detected | Control error. •Unplug the washer and wait 60 minutes. Reconnect power and try again. •If the error code is still displayed, call for service. |
| Vibration sensor | Vibration sensor malfunctions. •Call for service. |
| Turbidity sensor | Turbidity sensor malfunctions. •Call for service. |
| Steam error | The steam function did not work properly. •Call for service. |
| Verner failure | Power does not connected properly. •Press the Start/Pause button to restart the cycle |
| Over sudsing | Too much detergent was used. •Do not add more than the recommended amount of detergent |
| Too much sudsing detected. •The washer will operate the suds reduction cycle for about 2 hours. | |
| Voltage abnormality | Abnormal voltage detected. •Unplug the power plug. If error recurs, call for service. |
ezDispense Error MessagesProblem Possible Cause & Solution Check det Tank The amount of liquid detergent in the detergent reservoir did not decrease.
After putting the detergent into the detergent reservoir, it was left for a long time and the detergent hardened.
•Clean the detergent reservoir thoroughly, fill it with liquid detergent, install it in the drawer, and run a wash cycle. If the error is displayed continuously, call for service.No detergent The automatic detergent injection function does not work properly.
•Call for service.Chet-It softnank The amount of fabric softener in the softener reservoir did not decrease.
After putting the fabric softener into the softener reservoir, it was left for a long time and the fabric softener hardened.
•Clean the softener reservoir thoroughly, fill it with liquid fabric softener, install it in the
drawer, and run a wash cycle. If the error is displayed continuously, call for service.No softener The automatic softener injection function does not work properly.
•Call for service.ezDispensell error The ezDispense did not work properly.
•Call for service.Drawer open The washer was operated without completely closing the drawer. The drawer was opened during the washer operation.
Push the drawer completely closed. If the error is displayed continuously, call for service.
Wi-FiProblem Possible Cause & Solution Trouble connecting appliance and smartphone to Wi-Fi network The password for the Wi-Fi network was entered incorrectly.
•Delete your home Wi-Fi network and begin the connection process again.Mobile data for your smartphone is turned on.
•Turn off the Mobile data on your smartphone before connecting the appliance.The wireless network name (SSID) is set incorrectly.
•The wireless network name (SSID) should be a combination of English letters and numbers. (Do not use special characters.)The router frequency is not 2.4 GHz.
•Only a 2.4 GHz router frequency is supported. Set the wireless router to 2.4 GHz and connect the appliance to the wireless router. To check the router frequency, check with your Internet service provider or the router manufacturer.The appliance and the router are too far apart.
•If the appliance is too far from the router, the signal may be weak and the connection may not be configured correctly. Move the router closer to the appliance or purchase and install a Wi-Fi repeater.LG ThinQ is asking for a password to connect to the product.
•If you are asked to provide a password to connect to the product (not to your home network) during the Wi-Fi setup, enter the last 4 characters of the network name, repeated twice, with no spaces. For example, if the network name appears as LG)C00C8b92, then you would enter 8b928b92 as your password. The password is case sensitive and the last 4 characters are unique to your appliance.
USA
TERMS AND CONDITIONS
ARBITRATION NOTICE: THIS LIMITED WARRANTY CONTAINS AN ARBITRATION PROVISION THAT REQUIRES YOU AND LG ELECTRONICS (“LG”) TO RESOLVE DISPUTES BY BINDING ARBITRATION INSTEAD OF IN COURT, UNLESS YOU CHOOSE TO OPT OUT. IN ARBITRATION, CLASS ACTIONS AND JURY TRIALS ARE NOT PERMITTED. PLEASE SEE THE SECTION TITLED “PROCEDURE FOR RESOLVING DISPUTES” BELOW.
Should your LG Washer (“Product”) fail due to a defect in materials or workmanship under normal and proper use, during the warranty period set forth below, LG will, at its option, repair or replace the Product. This limited warranty is valid only to the original retail purchaser of the Product (“Youm) and applies only when purchased lawfully and used within the United States including U.S. Territories.
WARRANTY PERIODWasher Direct Drive Motor (Stator or Rotor) Stainless Steel Drum Parts (internal/ functional parts only) and Labor. One (1) year from the date of original retail purchase Parts Only Ten (10) years from the date of original retail purchase You are responsible for any applicable labor cost. Parts Only Three (3) years from the date of original retail purchase You are responsible for any applicable labor cost.
- Replacement Products and parts are warranted for the remaining portion of the original warranty period or ninety (90) days, whichever is greater.
- Replacement Products and parts may be new, reconditioned, refurbished, or otherwise factory re-manufactured.
- Replaced Product or part(s) will be the property of LG.
- Proof of original retail purchase specifying the Product model and date of purchase is required to obtain warranty service under this limited warranty. In the event of no proof of purchase, warranty start date will be ninety (90) days from the manufacture date.
EXCEPT TO THE EXTENT PROHIBITED BY APPLICABLE LAW, ANY IMPLIED WARRANTY OF MERCHANTABILITY OR FITNESS FORA PARTICULAR PURPOSE ON THE PRODUCT IS LIMITED IN DURATION TO THE DURATION OF THE ABOVE LIMITED WARRANTY. UNDER NO CIRCUMSTANCES SHALL LG OR ITS U.S. DISTRIBUTORS/DEALERS BE LIABLE FOR ANY INDIRECT, INCIDENTAL CONSEQUENTIAL SPECIAL, OR PUNITIVE DAMAGES, INCLUDING, WITHOUT LIMITATION, LOST GOODWILL LOST REVENUES OR PROFITS, WORK STOPPAGE, IMPAIRMENT OF OTHER GOODS, COST OF REMOVAL AND REINSTALLATION OF THE PRODUCT, LOSS OF USE, OR ANY OTHER DAMAGES WHETHER BASED IN CONTRACT, TORT, OR OTHERWISE. LG’S TOTAL LIABILITY, IF ANY, SHALL NOT EXCEED THE PURCHASE PRICE PAID BY YOU FOR THE PRODUCT.
SOME STATES DO NOT ALLOW THE EXCLUSION OR LIMITATION OF INCIDENTAL OR CONSEQUENTIAL DAMAGES OR LIMITATIONS ON HOW LONG AN IMPLIED WARRANTY LASTS, SO THE ABOVE EXCLUSIONS OR LIMITATIONS MAY NOT APPLY TO YOU. THIS LIMITED WARRANTY GIVES YOU SPECIFIC LEGAL RIGHTS AND YOU MAY ALSO HAVE OTHER RIGHTS THAT VARY FROM STATE TO STATE.
THIS LIMITED WARRANTY DOES NOT COVER:
- Service trips to i) deliver, pick up, or install, or; educate how to operate the Product;, ii) correct wiring;, or iii) correct unauthorized repairs or installations of the Product.
- Damage or failure of the Product to perform during power failures and interrupted or inadequate electrical service.
- Damage or failure of the Product caused by leaky or broken water pipes, frozen water pipes, restricted drain lines, inadequate or interrupted water supply, or inadequate supply of air.
- Damage or failure of the Product resulting from operating the Product in a corrosive atmosphere, in an unsuitable environment, or otherwise contrary to the Product owner’s manual.
- Damage or failure of the Product caused by accidents, pests and vermin, lightning, wind, fire, floods, pandemics, acts of nature, or any other causes beyond the control of LG.
- Damage or failure of the Product resulting from misuse, abuse, improper installation, repair, or maintenance, or service not approved by La Improper repair includes use of parts not authorized or specified by La Improper installation or maintenance includes installation or maintenance contrary to the Products owners manual.
- Damage or failure of the Product caused by unauthorized modification or alteration, any other property damage or failure resulting from any water leakage where the Product is not properly installed in accordance with the Product’s owners manual.
- Damage or failure of the Product caused by incorrect electrical current, voltage, or plumbing codes.
- Damage or failure of the Product caused by use of parts, accessories, components, consumable cleaning products, any other products, or service that are not authorized by LG.
- Replacement of light bulbs, filters, fuses, or any other consumable parts.
- Damage or failure of the Product caused by transportation, storage, and/or handling, including scratches, dents, chips, and/or other damage to the finish of your Product, unless such damage is reported within one (1) week of delivery.
- Damage or missing items to any display, open box, refurbished, or discounted Product.
- Refurbished Product or any Product sold “As Is”, ‘Where Is”, ‘With all Faults”, or similar disclaimer.
- Products with original serial numbers that have been removed, altered, or cannot be readily determined at the discretion of LG.
- Increases in utility costs and additional utility expenses in any way associated with the Product.
- Any noises associated with normal operation.
- Products used for other than normal and proper household use, including, without limitation, commercial or industrial use or, use in offices, and recreational facilities or vehicles, or as otherwise outlined in the Product owners manual.
- Costs associated with removal and/or reinstallation of your Product.
- The removal and reinstallation of the Product if it is installed in an inaccessible location or is not installed in accordance with the Product owners manual.
The cost of repair or replacement under the above excluded circumstances shall be borne by You.
TO OBTAIN WARRANTY SERVICE AND ADDITIONAL INFORMATION
Call 1-800-243-0000 and select the appropriate option from the menu.
Or visit our website at http://www.Ig.com
Or by mail: LG Electronics, P.O. Box 240007,
Huntsville, AL 35813 ATTN: Customer Service
PROCEDURE FOR RESOLVING DISPUTES:
ALL DISPUTES BETWEEN YOU AND LG ARISING OUT OF OR RELATING IN ANYWAY TO THIS LIMITED WARRANTY OR THE PRODUCT SHALL BE RESOLVED EXCLUSIVELY THROUGH BINDING ARBITRATION, AND NOT IN A COURT OF GENERAL JURISDICTION. BINDING ARBITRATION MEANS THAT YOU AND LG ARE EACH WAIVING THE RIGHT TO A JURY TRIAL AND TO BRING OR PARTICIPATE IN A CLASS ACTION.
Definitions. For the purposes of this section, references to “LG” mean LG Electronics U.S.A., Inc., its parents, subsidiaries and affiliates, and each of their officers, directors, employees, agents, beneficiaries, predecessors in interest, successors, assigns and suppliers; references to “dispute” or “claim” shall include any dispute, claim or controversy of any kind whatsoever (whether based in contract, tort, statute, regulation, ordinance, fraud, misrepresentation or any other legal or equitable theory) arising out of or relating in any way to the sale, condition or performance of the product or this Limited Warranty.
Notice of Dispute. In the event you intend to commence an arbitration proceeding, you must first notify LG in writing at least 30 days in advance of initiating the arbitration by sending a letter to LG at LG Electronics, USA, Inc. Attn: Legal Department-Arbitration 111 Sylvan Avenue, Englewood Cliffs, NJ 07632. You and LG agree to engage in good faith discussions in an attempt to amicably resolve your claim. The notice must provide your name, address, and telephone number; identify the product that is the subject of the claim; and describe the nature of the claim and the relief being sought. If you and LG are unable to resolve the dispute within 30 days, either party may proceed to file a claim for arbitration.
Agreement to Binding Arbitration and Class Action Waiver. Upon failure to resolve the dispute during the 30 day period after sending written notice to LG, you and LG agree to resolve any claims between us only by binding arbitration on an individual basis, unless you opt out as provided below. Any dispute between you and LG shall not be combined or consolidated with a dispute involving any other person’s or entity’s product or claim. More specifically, without limitation of the foregoing, any dispute between you and LG shall not under any circumstances proceed as part of a class or representative action. Instead of arbitration, either party may bring an individual action in small claims court, but that small claims court action may not be brought on a class or representative basis.
Arbitration Rules and Procedures. To begin arbitration of a claim, either you or LG must make a written demand for arbitration. The arbitration will be administered by the American Arbitration Association e’AAAI and will be conducted before a single arbitrator under the AM’s Consumer Arbitration Rules that are in effect at the time the arbitration is initiated (referred to as the “AAA Rules”) and under the procedures set forth in this section. The AM Rules are available online at www.adr.org/consumer. Send a copy of your written demand for arbitration, as well as a copy of this provision, to the AM in the manner described in the AM Rules. You must also send a copy of your written demand to LG at LG Electronics, USA, Inc. Attn: Legal Department-Arbitration 111 Sylvan Avenue, Englewood Cliffs, NJ 07632. If there is a conflict between the AAA Rules and the rules set forth in this section, the rules set forth in this section will govern. This arbitration provision is governed by the Federal Arbitration Act. Judgment may be entered on the arbitrators award in any court of competent jurisdiction. All issues are for the arbitrator to decide, except that issues relating to the scope and en forceability of the arbitration provision and to the arbitrability of the dispute are for the court to decide. The arbitrator is bound by the terms of this provision.
Governing Law. The law of the state of your residence shall govern this Limited Warranty and any disputes between us except to the extent that such law is preempted by or inconsistent with applicable federal law.
Fees/Costs. You do not need to pay any fee to begin an arbitration. Upon receipt of your written demand for arbitration, LG will promptly pay all arbitration filing fees to the AAA unless you seek more than $25,000 in damages, in which case the payment of these fees will be governed by the MA Rules. Except as otherwise provided for herein, LG will pay all MA filing, administration and arbitrator fees for any arbitration initiated in accordance with the AM Rules and this arbitration provision. If you prevail in the arbitration, LG will pay your attorneys fees and expenses as long as they are reasonable, by considering factors including, but not limited to, the purchase amount and claim amount. Notwithstanding the foregoing, if applicable law allows for an award of reasonable attorneys fees and expenses, an arbitrator can award them to the same extent that a court would. If the arbitrator finds either the substance of your claim or the relief sought in the demand is frivolous or brought for an improper purpose (as measured by the standards set forth in Federal Rule of Civil Procedure 11(b)), then the payment of all arbitration fees will be governed by the MA Rules. In such a situation, you agree to reimburse LG for all monies previously disbursed by it that are otherwise your obligation to pay under the AM Rules. Except as otherwise provided for, LG waives any rights it may have to seek attorneys’ fees and expenses from you if LG prevails in the arbitration.
Hearings and Location.
If your claim is for $25,000 or less, you may choose to have the arbitration conducted solely on the basis of (1) documents submitted to the arbitrator, (2) through a telephonic hearing, or (3) by an in-person hearing as established by the MA Rules. If your claim exceeds $25,000, the right to a hearing will be determined by the MA Rules. Any in-person arbitration hearings will be held at a location within the federal judicial district in which you reside unless we both agree to another location or we agree to a telephonic arbitration.
Opt Out. You may opt out of this dispute resolution procedure. If you opt out, neither you nor LG can require the other to participate in an arbitration proceeding. To opt out, you must send notice to LG no later than 30 calendar days from the date of the first consumer purchasers purchase of the product by either: (i) sending an e-mail to [email protected], with the subject line: °Arbitration Opt Out” or (ii) calling 1- 800-980-2973. You must include in the opt out e-mail or provide by telephone: (a) your name and address; (b) the date on which the product was purchased; (c) the product model name or model number; and (d) the serial number (the serial number can be found (i) on the product; or (ii) online by accessing https://www.Ig.com/us/support/repair-service/schedule-repair-continued and clicking on °Find My Model & Serial Numbers).
You may only opt out of the dispute resolution procedure in the manner described above (that is, by e-mail or telephone); no other form of notice will be effective to opt out of this dispute resolution procedure. Opting out of this dispute resolution procedure will not affect the coverage of the Limited Warranty in any way, and you will continue to enjoy the full benefits of the Limited Warranty. If you keep this product and do not opt out, then you accept all terms and conditions of the arbitration provision described above.
CANADA
TERMS AND CONDITIONS
ARBITRATION NOTICE: THIS LIMITED WARRANTY CONTAINS AN ARBITRATION PROVISION THAT REQUIRES YOU AND LG TO RESOLVE DISPUTES BY BINDING ARBITRATION INSTEAD OF IN COURT, UNLESS THE LAWS OF YOUR PROVINCE OR TERRITORY DO NOT PERMIT THAT, OR, IN OTHER JURISDICTIONS, IF YOU CHOOSE TO OPT OUT. IN ARBITRATION, CLASS ACTIONS AND JURY TRIALS ARE NOT PERMITTED. PLEASE SEE THE SECTION TITLED “PROCEDURE FOR RESOLVING DISPUTES” BELOW.
Should your LG Washer (“Product”) fail due to a defect in materials or workmanship under normal and proper use, during the warranty period set forth below, LG Electronics Canada, Inc. (“LGECI”) will, at its option, repair, replace or pro rate the Product upon receipt of proof of the original retail purchase. This limited warranty is valid only to the original retail purchaser of the Product and applies only to a Product distributed, purchased from an authorized retailer and used within Canada, as determined at the sole discretion of LGECI.WARRANTY PERIOD (Note: If the original date of purchase cannot be verified, the warranty will begin sixty (60) days from the date of manufacture) Washer Stainless Steel Drum Direct Drive Motor (Motor or Rotor) One (1) year from the date of original retail purchase Three (3) years from the date of original retail purchase Ten (10) years from the date of original retail purchase Parts and Labor (internal/ functional parts only) Parts only (Consumer will be charged for labor) Part only (Consumer will be charged for labor)
- Replacement products and parts are warranted for the remaining portion of the original warranty period or ninety (90) days, whichever is greater.
- Replacement products and parts may be new, reconditioned, refurbished, or otherwise factory remanufactured, all at the sole discretion of LGECI.
- Proof of original retail purchase specifying the Product model and date of purchase is required to obtain warranty service under this Limited Warranty.
LGECI’S SOLE LIABILITY IS LIMITED TO THE LIMITED WARRANTY SET OUT ABOVE. EXCEPT AS EXPRESSLY PROVIDED ABOVE, LGECI MAKES NO, AND HEREBY DISCLAIMS, ALL OTHER WARRANTIES AND CONDITIONS RESPECTING THE PRODUCT, WHETHER EXPRESS OR IMPLIED, INCLUDING BUT NOT LIMITED TO, ANY IMPLIED WARRANTY OR CONDITION OF MERCHANTABILITY OR FITNESS FOR A PARTICULAR PURPOSE, AND NO REPRESENTATIONS SHALL BE BINDING ON LGECI. LGECI DOES NOT AUTHORIZE ANY PERSON TO CREATE OR ASSUME FOR IT ANY OTHER WARRANTY OBLIGATION OR LIABILITY IN CONNECTION WITH THE PRODUCT. TO THE EXTENT THAT ANY WARRANTY OR CONDITION IS IMPLIED BY LAW, IT IS LIMITED TO THE WARRANTY PERIOD SET OUT ABOVE. UNDER NO CIRCUMSTANCES SHALL LGECI, THE MANUFACTURER OR DISTRIBUTOR OF THE PRODUCT, BE LIABLE FOR ANY INCIDENTAL CONSEQUENTIAL, SPECIAL DIRECT, INDIRECT, PUNITIVE OR EXEMPLARY DAMAGES, INCLUDING, WITHOUT LIMITATION, LOSS OF GOODWILL LOST PROFITS, LOSS OF ANTICIPATED PROFITS, LOST REVENUE, LOSS OF USE, OR ANY OTHER DAMAGE, WHETHER ARISING DIRECTLY OR INDIRECTLY FROM ANY CONTRACTUAL BREACH, FUNDAMENTAL BREACH, TORT OR OTHERWISE, OR FROM ANY ACTS OR OMISSIONS. LGECI’S TOTAL LIABILITY, IF ANY, SHALL NOT EXCEED THE PURCHASE PRICE PAID BY YOU FOR THE PRODUCT.
This Limited Warranty gives you specific legal rights. You may also have other rights that vary from province to province depending on applicable provincial laws. Any term of this Limited Warranty that negates or varies any implied condition or warranty under provincial law is severable where it conflicts with such provincial law without affecting the remainder of this warranty’s terms.
THIS LIMITED WARRANTY DOES NOT COVER:
- Service trips to i) deliver, pick up, or install or; educate on how to operate the Product; h) correct wiring or plumbing; or iii) correct unauthorized repairs or installations of the Product;
- Damage or failure of the Product to perform during power failures and interrupted or inadequate electrical service;
- Damage or failure caused by leaky or broken water pipes, frozen water pipes, restricted drain lines, inadequate or interrupted water supply or inadequate supply of air;
- Damage or failure resulting from operating the Product in a corrosive atmosphere or contrary to the instructions outlined in the Product’s owner’s manual;
- Damage or failure to the Product caused by accidents, pests and vermin, lightning, wind, fire, floods, acts of God, or any other causes beyond the control of LGECI or the manufacturer
- Damage or failure resulting from misuse, abuse, improper installation, repair, or maintenance of the Product Improper repair includes use of parts not authorized or specified by LGECI. Improper installation or maintenance includes installation or maintenance contrary to the Product’s owner’s manual;
- Damage or failure caused by unauthorized modification or alteration of the Product, or if used for other than the intended household purpose/use of the Product, or damage or failure resulting from any water leakage due to improper installation of the Product
- Damage or failure caused by incorrect electrical current, voltage or plumbing codes;
- Damage or failure caused by use that is other than normal household use, including, without limitation, commercial or industrial use, including use in commercial offices or recreational facilities, or as otherwise outlined in the Product’s owners manual;
- Damage or failure caused by the use of any accessories, components or cleaning products, including, without limitation, that are not approved/authorized by LGECI;
- Damage or failure caused by transportation and handling, including scratches, dents, chips and/or other damage to the finish of the Product, unless such damage results from defects in materials or workmanship and is reported to LGECI within one (1) week of delivery of the Products;
- Damage or missing items to any display, open box, refurbished or discounted Product
- Refurbished Product or any Product sold “As Is”, °Where Is”, “With all Faults”, or any similar disclaimer;
- Products with original serial numbers that have been removed, altered or cannot be readily determined at the discretion of LGECI;
- Increases in utility costs and additional utility expenses in any way associated with the Product
- Replacement of light bulbs, filters, fuses or any other consumable parts;
- Costs associated with removal and/or reinstallation of the Product for repairs;
- Noises associated with normal operation and failure to follow instructions found in the use and care and installation guides or operating the unit in an unsuitable environment will not be covered under this warranty.
- Coverage for ‘in Home” repairs, for products in-warranty, will be provided if the Product is within a 150 km radius from the nearest authorized service center (ASC), as determined by LG Canada. If your Product is located outside a 150 km radius from a MC, as determined by LG Canada, it will be your responsibility to bring the Product, at your sole expense, to the MC for in-warranty repair.
All costs and expenses associated with the above excluded circumstances, listed under the heading, This Limited Warranty Does Not Cover, shall be borne by the consumer.
TO OBTAIN WARRANTY SERVICE AND ADDITIONAL INFORMATION, PLEASE CALL OR VISIT OUR WEBSITE:
Call 1-888-542-2623 and select the appropriate option from the menu, or visit our website at http://www.ig.com
PROCEDURE FOR RESOLVING DISPUTES:
EXCEPT WHERE PROHIBITED AT LAW, ALL DISPUTES BETWEEN YOU AND LG ARISING OUT OF OR RELATING IN ANY WAY TO THIS LIMITED WARRANTY OR THE PRODUCT SHALL BE RESOLVED EXCLUSIVELY THROUGH BINDING ARBITRATION, AND NOT IN A COURT OF GENERAL JURISDICTION. EXCEPT WHERE PROHIBITED AT LAW, YOU AND LG BOTH IRREVOCABLY AGREE TO WAIVE THE RIGHT TO A JURY TRIAL AND TO BRING OR PARTICIPATE IN A CLASS ACTION.
Definitions. For the purposes of this section, references to “LG” mean LG Electronics Canada, Inc., its parents, subsidiaries and affiliates, and each of their officers, directors, employees, agents, beneficiaries, predecessors in interest, successors, assigns and suppliers; references to “dispute’ or “claim” shall include any dispute, claim or controversy of any kind whatsoever (whether based in contract, tort, statute, regulation, ordinance, fraud, misrepresentation or any other legal or equitable theory) arising out of or relating in any way to the sale, condition or performance of the product or this Limited Warranty.
Notice of Dispute. In the event you intend to commence an arbitration proceeding, you must first notify LG in writing at least 30 days in advance of initiating the arbitration by sending a letter to LGECI Legal Team at 20 Norelco Drive, North York, Ontario, Canada M9L 2X6 (the “Notice of Dispute”). You and LG agree to engage in good faith discussions in an attempt to amicably resolve your claim. The notice must provide your name, address, and telephone number; identify the product that is the subject of the claim; and describe the nature of the claim and the relief being sought. If you and LG are unable to resolve the dispute within 30 days of LG’s receipt of the Notice of Dispute, the dispute shall be resolved by binding arbitration in accordance with the procedure set out herein. You and LG both agree that, during the arbitration proceeding, the terms (including any amount) of any settlement offer made by either you or LG will not be disclosed to the arbitrator until the arbitrator determines the dispute.
Agreement to Binding Arbitration and Class Action Waiver.
Upon failure to resolve the dispute during the 30 day period after LG’s receipt of the Notice of Dispute, you and LG agree to resolve any claims between you and LG only by binding arbitration on an individual basis, unless you opt out as provided below, or you reside in a jurisdiction that prevents full application of this clause in the circumstances of the claims at issue (in which case if you are a consumer, this clause will only apply if you expressly agree to the arbitration). To the extent permitted by applicable law, any dispute between you and LG shall not be combined or consolidated with a dispute involving any other person’s or entity’s product or claim. More specifically, without limitation of the foregoing, except to the extent such a prohibition is not permitted at law, any dispute between you and LG shall not under any circumstances proceed as part of a class or representative action. Instead of arbitration, either party may bring an individual action in small claims court, but that small claims court action may not be brought on a class or representative basis except to the extent this prohibition is not permitted at law in your province or territory of jurisdiction as it relates to the claims at issue between you and LG. Arbitration Rules and Procedures.
To begin arbitration of a claim, either you or LG must make a written demand for arbitration. The arbitration will be private and confidential, and conducted on a simplified and expedited basis before a single arbitrator chosen by the parties under the provincial or territorial commercial arbitration law and rules of the province or territory of your residence. You must also send a copy of your written demand to LG at LG Electronics, Canada, Inc., Attn: Legal Department- Arbitration, 20 Norelco Drive, North York, Ontario M9L 2X6. This arbitration provision is governed by your applicable provincial or territorial commercial arbitration legislation. Judgment may be entered on the arbitrators award in any court of competent jurisdiction. All issues are for the arbitrator to decide, except that, issues relating to the scope and enforceability of the arbitration provision and to the arbitrability of the dispute are for the court to decide. The arbitrator is bound by the terms of this provision.
Governing Law.
The law of the province or territory of your purchase shall govern this Limited Warranty and any disputes between you and LG except to the extent that such law is preempted by or inconsistent with applicable federal or provincial/territorial law. Should arbitration not be permitted for any claim, action, dispute or controversy between you and LG, you and LG attorn to the exclusive jurisdiction of the courts of the province or territory of your purchase for the resolution of the claim, action, dispute or controversy between you and LG. Fees/Costs.
You do not need to pay any fee to begin an arbitration. Upon receipt of your written demand for arbitration, LG will promptly pay all arbitration filing fees unless you seek more than 825,000 in damages, in which case the payment of these fees will be governed by the applicable arbitration rules. Except as otherwise provided for herein, LG will pay all filing, administration and arbitrator fees for any arbitration initiated in accordance with the applicable arbitration rules and this arbitration provision. If you prevail in the arbitration, LG will pay your attorneys’ fees and expenses as long as they are reasonable, by considering factors including, but not limited to, the purchase amount and claim amount Notwithstanding the foregoing, if applicable law allows for an award of reasonable attorneys’ fees and expenses, an arbitrator can award them to the same extent that a court would. If the arbitrator finds either the substance of your claim or the relief sought in the demand is frivolous or brought for an improper purpose (as measured by the applicable laws), then the payment of all arbitration fees will be governed by the applicable arbitration rules. In such a situation, you agree to reimburse LG for all monies previously disbursed by it that are otherwise your obligation to pay under the applicable arbitration rules. Except as otherwise provided for, LG waives any rights it may have to seek attorneys’ fees and expenses from you if LG prevails in the arbitration.
Hearings and Location.
If your claim is for $25,000 or less, you may choose to have the arbitration conducted solely (1) on the basis of documents submitted to the arbitrator, (2) through a telephonic hearing, or (3) by an in-person hearing as established by the applicable arbitration rules. If your claim exceeds $25,000, the right to a hearing will be determined by the applicable arbitration rules. Any in-person arbitration hearings will be held at the nearest, most mutually-convenient arbitration location available within the province or territory in which you reside unless you and LG both agree to another location or agree to a telephonic arbitration.
Severability and Waiver.
If any portion of this Limited Warranty (including these arbitration procedures) is unenforceable, the remaining provisions will continue in full force and effect to the maximum extent permitted by applicable law. Should LG fail to enforce strict performance of any provision of this Limited Warranty (including these arbitration procedures), it does not mean that LG intends to waive or has waived any provision or part of this Limited Warranty.
Opt Out.You may opt out of this dispute resolution procedure. If you opt out, neither you nor LG can require the other to participate in an arbitration proceeding. To opt out, you must send notice to LG no later than 30 calendar days from the date of the first consumer purchaser’s purchase of the product by either (i) sending an e-mail to [email protected], with the subject line: “Arbitration Opt Out’ or (i) calling 1-800-980-2973. You must include in the opt out e-mail or provide by telephone: (a) your name and address; (b) the date on which the product was purchased; (c) the product model name or model numbei; and (d) the serial number (the serial number can be found (i) on the product or (ii) online by accessing https://www.Ig.conVca_en/support/repair-service/schedule -repair and clicking on “Find My Model & Serial Number).
In the event that you “Opt Out”, the law of the province or territory of your residence shall govern this Limited Warranty and any disputes between you and LG except to the extent that such law is preempted by or inconsistent with applicable federal or provincial/territorial law. Should arbitration not be permitted for any claim, action, dispute or controversy between you and LG, you and LG agree to attom to the exclusive jurisdiction of the courts of the province or territory of your residence for the resolution of the claim, action, dispute or controversy between you and LG.
You may only opt out of the dispute resolution procedure in the manner described above (that is, by e-mail or telephone); no other form of notice will be effective to opt out of this dispute resolution procedure. Opting out of this dispute resolution procedure will not affect the coverage of the Limited Warranty in any way, and you will continue to enjoy the full benefits of the Limited Warranty. If you keep this product and do not opt out, then you accept all terms and conditions of the arbitration provision described above. Conflict of Terms. In the event of a conflict or inconsistency between the terms of this Limited Warranty and the End User License Agreement (“EULA’) in regards to dispute resolution, the terms of this Limited Warranty shall control and govern the rights and obligations of the parties and shall take precedence over the EULA.

For inquiries or comments, visit www.lg.com or call:
1-800-243-0000 USA.
1-888-542-2623 CANADA
www.lg.com

2. Install the hole caps.









1. This side up
– Do not press down on items while stacking them in the drum.
1. Liquid fabric softener reservoir




1. Liquid chlorine bleach compartment


























