LG Electronics WT7400CW 5.5 cu.ft. Mega Capacity Top Load Washer Instruction Manual
Before Use
WARNING
To reduce the risk of fire, electric shock, or injury to persons, read the SAFETY INSTRUCTIONS before operating this appliance.
Operation Overview
- Sort laundry and load the washer.
- Sort laundry by fabric type, soil level, color and load size, as needed. Open the lid and load items into the washer.
- If using single-use detergent packs, or gel or tablet detergents, place them in the tub before loading the laundry.
- Add cleaning products.
- Add the proper amount of HE (HighEfficiency) detergent to the detergent dispenser.
- If desired, add bleach or fabric softener to the appropriate dispensers.
- Do not place liquid or powdered detergent packs, or gel or tablet detergents in the dispenser.
- Turn on the washer.
- Press the Power button to turn on the washer.
- The lights above the cycle buttons will illuminate and a chime will sound.
- Select a cycle.
- Turn the cycle selector knob or press the cycle buttons repeatedly until the desired cycle is selected.
- The preset wash temperature, spin speed,
soil level and option settings for the selected cycle are shown. - The Normal cycle must be selected in order to change its default settings.
- Pressing the Start/Pause button without selecting a cycle immediately starts the Normal cycle with the default settings.
- Adjust settings.
- Default settings for the selected cycle can be changed, if desired, using the cycle modifier and option buttons.
- Not all modifiers and options are available on all cycles. A different chime sounds and the LED does not light up if the selection is not allowed.
- Begin cycle.
- Press the Start/Pause button to begin the cycle. The lid locks, and the washer agitates briefly without water to measure the weight of the load.
- If the Start/Pause button is not pressed within a certain time, the washer shuts off and all settings are lost.
NOTE - You must press and hold the Power button when turning off the appliance. This helps prevent accidentally turning it off during a cycle.
- If necessary, add additional items to the tub while the Add Garments light is on.
- This light turns on at the beginning of the wash cycle to indicate when it is safe to add items to the tub.
- Press the Start/Pause button to pause the cycle and add items to the tub. Press the Start/Pause button to resume the cycle.
- Adding items after the Add Garments light turns off may result in poor wash performance.
- End of cycle.
- When the cycle is finished, a melody sounds. Immediately remove the clothing from the washer to reduce wrinkling.
- If the washer includes lint filters, remember to check lint filters after every 2 to 3 loads.
Sorting Laundry
Grouping Similar Items
For the best washing results, and to reduce the possibility of damage to clothing, sort clothing into loads made up of similar items.
Mixing different fabric types and/or soil levels can result in poor wash performance, color transfer, discoloration, fabric damage or linting. Fabrics should be sorted into groups as described below.
Colors
Sort articles by color. Wash dark clothes separately from light colors or whites. Mixing dark clothes with light clothes can result in dye transfer or discoloration of the lighter clothes.
Soil Level
Wash heavily soiled clothing together. Washing lightly soiled clothing in the same load with heavily soiled clothing could result in poor wash performance for the lightly soiled clothing.
Fabric Type
Delicate articles should not be mixed with heavy or sturdy fabric types. Washing heavy fabrics with delicates can result in poor wash performance for the heavy fabrics and possible damage to the delicates.
Lint Type
Some fabrics attract and bind lint to them while others give off lint in the laundry process. Avoid mixing these lint collectors and lint producers in the same load. Mixing these fabrics will result in pilling and linting on the lint collectors. (For example, lint collector – knit sweater; lint producer – terry cloth towels.)
How to Sort Laundry
| By Colors | By Soil | By Fabric | By Lint |
| Whites | Heavy | Delicates | Lint Producer |
| Lights | Normal | Easy Care | Lint Collector |
| Darks | Light | Sturdy |
CAUTION
- The washer can be fully loaded, but the tub should not be tightly packed with items. The lid of the washer should close easily.
- Use the Bedding cycle for buoyant or nonabsorbent items such as pillows or comforters. Failure to follow this caution can result in leakage.
- Clothing or articles that are waterproof or water resistant must be washed in the Waterproof cycle only. (Examples include water resistant clothing, mattress covers, outdoor clothes, and plastic mats.) Using another cycle may result in personal injury or damage to the washer, clothes, walls, floor, and surrounding objects due to abnormal vibration.
Fabric Care Labels
Many articles of clothing include a fabric care label. Using the chart below, adjust the cycle and option selections to care for your clothing according to
the manufacturer’s recommendations.
| Category | Label | Directions |
| Hand wash | ||
| Machine wash, Normal cycle | ||
| Perm Press/Wrinkle Resistant setting (which has a cool down or cold spray before the slower spin) | ||
| Gentle/Delicate setting (slow agitation and/or reduced wash time) | ||
| Do not wash | ||
| Do not wring | ||
| Water Temperature | … | Hot |
| .. | Warm | |
| . | Cold/Cool | |
Bleach Symbols | Any bleach (when needed) | |
| Only non-chlorine bleach (when needed) | ||
| Do not bleach |
Loading the Washer
General Tips
- Check and empty pockets. Paper clips, coins, matches, and other items can damage clothing and the washer.
- Close zippers and hooks, and tie drawstrings to prevent snagging or tangling of clothes.
- Pretreat heavily stained areas for best results.
- Brush off heavy soil, dust, and hair from items before washing. Excess dirt or sand can abrade other fabrics and lead to poor wash performance.
- Combine large and small items in the tub. Load large items first. Large items should not be more than half of total load.
- For best results, load dry items only. If washing very wet items, wring out excess water before loading, or run a Spin Only cycle to extract excess water before adding detergent and starting the desired cycle.
- The washer can be fully loaded, but the tub should not be tightly packed with items. The lid of the washer must close easily.

- The washer will not fill or operate with the lid open.
- Do not overload the tub. Clothes should fit loosely in the tub under the maximum fill line a. Loading clothes over the fill line may result in damage to clothing and the washer.
- Do not press down on items while stacking them in the tub.
- Load clothes loosely, and do not overfill the tub. Clothes need room to circulate in order to get clean.

Bulky Items
- Do not wash entire pillows or cushions. Remove pillow or cushion inserts and wash the covers only.
- Use the Bedding cycle for large or bulky items such as poly-filled jackets, comforters, pillows, etc. These items may not be as absorbent as other laundry items and should be sorted into a separate wash load for best performance.
- Bulky items should be placed as far down in the tub as possible for best performance. Always place buoyant items at the bottom of the tub. The washer will automatically detect the load size. Because of the high efficiency wash system, the water level may not completely cover the load.
Small Items
- Do not wash a single small item. Add enough similar items to the load to prevent an out-ofbalance load.
- Wash small, light items in a mesh bag. Small items can get caught in the impeller at the bottom of the tub, and brassiere hooks can damage other items or the tub.
General Tips for Models with an Impeller
If the appliance uses a low profile rotating hub in the drum, follow these instructions when loading the washer.
- For best performance, load clothes as shown.

- Wash thick, bulky items individually. Heavy blankets, comforters, bedspreads, or pet beds can get tangled or cause an unbalanced load if combined with other items.
Adding Cleaning Products
About Detergent Use
This washer is designed for use with only HE (High Efficiency) detergents.

- HE detergents produce fewer suds, dissolve more efficiently to improve washing and rinsing performance, and help to keep the interior of the washer clean. Using detergent that is not HE may cause oversudsing and unsatisfactory performance which could result in error codes, cycle failure, and washer damage.
- Detergents designated as HE-compatible may not provide optimal results.
- For proper wash performance, always measure detergent using the measuring device provided by the detergent manufacturer. For an average load, use less than half of the recommended maximum. Use less detergent for soft water, light soil, or smaller loads.
- Use extra care when measuring 2X and 3X concentrated detergents because even a small amount of extra detergent can lead to problems.
- Never use more than the maximum amount of detergent recommended by the manufacturer. Using too much detergent can lead to oversudsing, poor rinsing, detergent buildup in clothing, and residue buildup that can contribute to odors in the washer.
- Do not use more than one single-use detergent pack or detergent tablet in the washer. Using too much detergent may cause oversudsing and unsatisfactory performance. Reduce detergent amount or add an extra rinse if detergent residue is left on fabrics. To add an extra rinse, select the Extra Rinse option.

- Maximum fill line
- Average load fill line
- Liquid detergent
- Powdered detergent
Single-Use Detergent Packs / Gel or Tablet Detergents
Place liquid or powdered detergent packs, or gel or tablet detergents in the tub before loading laundry. Do not place these detergents in the dispenser.

About the Dispensers
The automatic dispenser consists of two compartments which hold:
- Liquid fabric softener
- Liquid or powdered detergent for main wash
CAUTION
Do not place or store laundry products, such as detergent, bleach, or liquid fabric softener, on top of your washer. These products can damage the washer’s finish and controls.
NOTE
Follow the manufacturer’s recommendations when adding cleaning products.
Using the Detergent and Softener Dispenser Drawer
To add detergent and fabric softener to the automatic dispenser drawer:
- Open the dispenser drawer.
- Load the laundry products into the appropriate compartments.
- Liquid fabric softener compartment
- Main wash liquid detergent cup
- Insert
- Main wash powdered detergent compartment

- Gently close the detergent dispenser drawer
before starting the cycle.- Slamming the drawer closed may result in the detergent overflowing into another compartment or dispensing into the drum earlier than programmed.
- Be careful not to get a hand caught in the drawer while closing.
- It is normal for a small amount of water to remain in the dispenser compartments at the end of the cycle.
Main Wash Detergent Compartment
This compartment holds laundry detergent for the main wash cycle. Either powdered or liquid detergent may be used in this compartment.
- The detergent is added to the load at the beginning of the cycle. Always use HE (High Efficiency) detergent with your washer.
- Do not exceed the maximum fill line. Using too much detergent can result in detergent buildup in clothing and the washer.
- Liquid or powdered color-safe bleach may be added to the main wash compartment with detergent of the same type. Do not mix liquids and powders.
- When using liquid detergent, make sure the liquid detergent cup and insert are in place.
- When using powdered detergent, remove the insert c and liquid detergent cup b from the dispenser. Powdered detergent will not dispense with the liquid detergent cup and insert in place.
- If you use a detergent that does not dissolve easily or a detergent with high viscosity, it will leave a residue and clog the dispenser.
Fabric Softener Compartment
This compartment holds liquid fabric softener, which is automatically dispensed during the final rinse cycle.
- Do not exceed the maximum fill line. Using too much fabric softener may stain clothes.
- Dilute concentrated fabric softeners with warm water.
- Never pour fabric softener directly onto the load or into the tub.
Using the Liquid Bleach Dispenser
The bleach dispenser is a separate compartment at the left front of the tub opening.
WARNING
Do not mix chlorine bleach with ammonia or acids such as vinegar or rust/scale remover. Mixing chemicals like these can produce a lethal gas, resulting in severe injury or death.
NOTE
- Do not add powdered bleach to this dispenser. The bleach dispenser is designed to dispense liquid bleach only. Powdered or liquid color-safe bleach will not dispense properly.
- Do not place laundry items on top of the bleach dispenser when loading and unloading the washer.
- Never add more than one cup of bleach and do not exceed the maximum fill line since this can cause the bleach to be dispensed immediately. Using too much bleach can damage fabrics.
- Never pour undiluted liquid chlorine bleach directly onto the load or into the tub. Fabric damage can occur.
- Do not use color-safe bleach or Oxi products in the same cycle with liquid chlorine bleach.
- Check clothing care labels for special instructions.
- Measure liquid bleach carefully, following the instructions on the bottle.
- HE (High-Efficiency) washers use less water, so less bleach is needed. One half cup is enough for most loads.
- Carefully pour the pre-measured amount of bleach directly into the bleach dispenser.
- If you are using powdered bleach of any kind, pour it directly into the tub before adding the laundry.
- Never add powdered bleach to the liquid bleach dispenser.
Automatic Bleach Dispenser
On some models, the bleach dispenser is connected to the inlet valve. The bleach is automatically diluted and dispensed at the proper time in the wash cycle.
The dispenser is activated twice to ensure complete dispensing of the bleach. Any liquid remaining in the dispenser at the end of the cycle is water, not bleach.
Immediate Bleach Dispenser
On some models, when you pour the bleach into the bleach dispenser, the bleach is immediately added to the tub as it fills with water, safely diluting the bleach.
The dispenser cover cannot be removed. To clean the cover, wipe it with a damp paper towel.
Control Panel
Control Panel Features

- Power On/Off Button
- Press this button to turn the washer on or off.
- Pressing this button during a cycle will cancel that cycle and any load settings will be lost.
- The door will unlock after a brief pause.
NOTE - If there is any water remaining in the drum after the washer shuts off, it will drain after a delay. The washer can be restarted at any time before the drain begins. However, once the water begins to drain, all functions will be suspended until the water has been completely drained and the washer shuts off.
- Cycle Selector Knob
- Turn this knob to select the desired cycle.
- Once the desired cycle has been selected, the standard presets will appear in the display. These settings can be adjusted using the Cycle Modifier buttons at any time before starting the cycle.
- Start/Pause Button
- Press this button to start the selected cycle.
- If the washer is running, use this button to pause the cycle without losing the current settings.
NOTE - If the Start/Pause button is not pressed to start the selected cycle, after a delay the washer automatically turns off and all cycle settings are lost. Any water remaining in the drum will be drained.
- Time and Status Display
- Cycle Modifier Buttons
- Use these buttons to adjust the wash temperature, spin speed and soil level settings for the selected cycle.
- The current settings are shown in the display.
- Press the button for that option to select other settings.
- Option and Extra Function Buttons
- These buttons allow you to select additional cycle options. Certain buttons also allow you to activate special functions by pressing and holding the button for 3 seconds.
Time and Status Display

- Estimated Time Remaining
- When a cycle is selected, the default time for that cycle is displayed. This time will change as modifiers or options are selected.
- If the display shows —, then the time will be displayed after the load sensing has detected the load size.
- The time shown is only an estimate. This time is based on normal operating conditions. Several external factors (load size, room temperature, incoming water temperature, etc.) can affect the actual time.
NOTE - Once the Start/Pause button is pressed, the washer will measure the size of the load. The estimated time may change once the load size has been measured.
- If the Delay Wash function is set, the remaining delay time counts down until the cycle begins.
- Cycle Status Indicators
- These LEDs will blink when a cycle is selected to indicate which stages will run.
- When a cycle is running, the LED for the active stage will blink, and the LEDs for the remaining stages will remain steady. Once a stage is complete, the LED will turn off. If a cycle is paused, the active stage LED will stop blinking.
- Door Lock Indicator
- This indicator lights up when the cycle starts and the door is locked.
- The indicator light stays on until the cycle is paused, stopped or has finished.
- Wi-Fi Indicator
- This indicator is lit when the product is connected to a home Wi-Fi network.
Wash Cycles
The wash cycles are designed for specific types of wash loads. Select the cycle that best matches the load contents for maximum wash performance and fabric care.
See the Sorting Laundry section for best results, and follow the fabric care labels on your garments. For a guide to fabric care symbols, see the Sorting Laundry section.
Cycle Guide
Turn the knob or press the button to select the desired cycle. When you select a wash cycle, the light for the corresponding wash cycle will turn on.
NOTE
Whenever load weights are mentioned, assume 1 lb (0.45 kg) = 1 thick bath towel (dry).
| Cycle | Normal | |
| Description | Use to wash all normal items such as cotton, linen, shirts, jeans or mixed loads, except delicate fabrics such as wool or silk. • Pressing the Start/Pause button without selecting a cycle will cause the Normal cycle to begin immediately, using the default settings. | |
| Wash Temp. | Default: Warm | Available: All |
| Spin Speed | Default: High | Available: Extra High, High, Medium, No Spin |
| Soil Level | Default: Normal | Available: All |
| Cycle | Heavy Duty | |
| Description | Suitable for washing heavily soiled laundry, such as cotton fabrics, using more powerful wash motions. When washing large loads, there will be brief periods of 2 minutes or more without agitation. These soak periods are part of the cycle’s design, and are normal. | |
| Wash Temp. | Default: Warm | Available: All |
| Spin Speed | Default: High | Available: All |
| Soil Level | Default: Heavy | Available: All |
| Cycle | Deep Wash | |
| Description | Provides additional water and washes heavily soiled mixed items, except delicate fabrics. | |
| Wash Temp. | Default: Warm | Available: All |
| Spin Speed | Default: Medium | Available: All |
| Soil Level | Default: Normal | Available: All |
| Cycle | Waterproof | |
| Description | Suitable for washing waterproof items such as water resistant clothing, mattress covers, outdoor clothes, and plastic mats. (less than 14 lb) NOTE Do not use any other wash cycle to wash waterproof items. Do not use this cycle to wash a mixed load of waterproof and non-waterproof items. Check the fabric care label on the garments before using this cycle. Do not wash other fabrics using this cycle. | |
| Wash Temp. | Default: Warm | Available: Warm, Semi Warm, Cold, Tap Cold |
| Spin Speed | Default: Low | Available: Low, No Spin |
| Soil Level | Default: Light | Available: All |
| Cycle | Pre Wash+Normal | |
| Description | Use this cycle to prewash stains without needing to hand wash. Prompt treatment helps to prevent stains from setting or odors from developing. NOTE When chime sounds, press Start/Pause to unlock lid, add main detergent to dispenser, and insert remainder of laundry. If Start/Pause is not pressed within about 3 minutes, the cycle continues. (If Signal is turned off, the chime won’t sound.) | |
| Wash Temp. | Default: Warm | Available: All |
| Spin Speed | Default: High | Available: All |
| Soil Level | Default: Normal | Available: Normal, Light |
| Cycle | Delicates | |
| Description | Suitable for washing dress shirts/blouses, nylons, lingerie, or sheer and lacy clothes which can easily be damaged. (less than 8 lb) | |
| Wash Temp. | Default: Tap Cold | Available: Warm, Semi Warm, Cold, Tap Cold |
| Spin Speed | Default: Low | Available: Low, No Spin |
| Soil Level | Default: Light | Available: All |
| Cycle | Bedding | |
| Description | Suitable for washing blankets or bulky items which have difficulty absorbing water, such as pillows, blankets, comforters, sheets or pet bedding. Do not use this cycle to wash a mixed load of bedding and non-bedding items. Do not mix large/bulky items with smaller articles of clothing. Do not wash excessively large items. If large/bulky items do not fit easily into the tub, there may not be enough room for them to move during washing. | |
| Wash Temp. | Default: Warm | Available: All |
| Spin Speed | Default: Low | Available: Medium, Low, No Spin |
| Soil Level | Default: Normal | Available: All |
| Cycle | Downloaded (Small Load) | |
| Description | You can use a smartphone to download a specialized cycle to this cycle position. The default cycle is Small Load, used for normally soiled loads with a few items. This cycle is also available for download. Refer to the LG ThinQ application to see the cycles available for download. | |
| Wash Temp. | Default: Warm | Available: All |
| Spin Speed | Default: Medium | Available: Extra High, High, Medium, No Spin |
| Soil Level | Default: Light | Available: All |
Available Options
† This option is automatically included in the cycle and cannot be deselected.
NOTE
- The Delay Wash and Extra Rinse can be selected for every cycle in this table.
- The Soak option is available for every cycle in this table except for the Waterproof cycle.
- The Water Plus option is available for every cycle in this table except for the Bedding cycle.
Cycle | Stain Care | Cold WashTM | Turbo WashTM |
Normal |
|
|
|
Heavy Duty |
|
| |
Deep Wash | |||
Waterproof | |||
Pre Wash+Normal |
| ||
Delicates | |||
Bedding |
| ||
Downloaded |
|
|
|
Cycle Modifiers
About Modifier Buttons
Each cycle has default settings that are selected automatically. You may also customize these settings using the cycle modifier buttons.
- Repeatedly press the button for the desired modifier until the indicator light for the desired setting is lit.
- The washer automatically adjusts the water level for the type and size of wash load for best results and maximum efficiency.
- This is a high-efficiency washer, and the water levels may be much lower than you expect. This is normal, and cleaning/rinsing performance will not be compromised.

NOTE
- The LED next to the setting lights up when the setting is selected.
- To protect your garments, not every wash temperature, spin speed, soil level, or option is available with every cycle.
- A chime will sound twice and the LED will not light if the desired setting is not allowed for the selected cycle.
- Follow the fabric care labels on the garment for best results.
Temp
Make sure the water temperature is suitable for the type of load you are washing.
- Press the Temp. button repeatedly to select the wash and rinse temperature combination for the selected cycle.
- All rinses use unheated cold water.
- Cold rinses use less energy. The actual cold rinse temperature depends on the temperature of the cold water at the faucet.
Spin
Higher spin speeds extract more water from clothes, reducing drying time and saving energy.
- Press the Spin button repeatedly until the desired speed is selected.
- Some fabrics, such as delicates, require a slower spin speed. To protect your clothing, not all spin speeds are available for all cycles.
Soil
Adjusting the soil level setting will modify the cycle times and/or wash actions.
- Press the Soil button repeatedly until the desired soil level is selected.
- The Heavy soil setting may increase cycle times. The Light soil setting may decrease cycle times.
Special Care Features
Using Special Care Features
Press the Special Care button to to select additional features, such as Soak, Stain Care, Speed Wash, and Rinse+Spin. Press the button repeatedly to move through the available features.
NOTE
- Pressing the Special Care button before selecting a cycle will automatically default to the Normal cycle with the Soak feature selected.
- To protect your garments, not every feature is available with every cycle.
- If the Start/Pause button is not pressed within 60 minutes to start the cycle, the washer will shut off and all settings will be lost.
Soak
This option provides a 30-minute presoak prior to the start of the selected cycle. Use this option to presoak garments to help remove difficult spots or stains on fabrics. At the end of the presoak time, the selected cycle will begin with the same water used for soaking.
Stain Care
Use this option for heavily soiled loads that need improved stain treatment. When Stain Care is selected, the wash cycle will begin with warm water to help prevent the setting of certain types of stains. Then, as the cycle progresses, hot water will be added to gradually increase the water temperature to help remove stains that require treatment at higher temperatures.
NOTE
Best results are obtained with smaller loads (less than 6 lb.)
Speed Wash
Use this option to quickly wash lightly soiled clothing and small loads. For high wash and rinse efficiency, wash small loads of 2-3 lightly soiled garments.
NOTE
Use very little detergent in this cycle. To add an extra rinse, use the Extra Rinse button.
Rinse+Spin
Select this option to rinse and spin a load separately from a regular cycle. This can be helpful in preventing fresh stains from setting in fabrics.
- Press the Power button to turn on the washer.
- Press the Special Care button repeatedly until Rinse+Spin is selected.
- Press the Start/Pause button to begin.
Add Garments
If you’ve forgotten to add an item or need to remove foreign objects like coins or keys after the cycle has started, the best time to do so is while
the Add Garments indicator is on.
Once the indicator turns off, adding garments may affect the cycle time or wash performance.
- Press the Start/Pause button. The cycle pauses and the lid (door) unlocks.
- Open the lid, add garments or remove foreign objects, and close the lid.
- Press the Start/Pause button to resume the cycle. The cycle continues automatically.
NOTE
This washer is equipped with a special drain feature that is designed to make your washer as safe as possible. If the washer is paused or shut off while there is still water in the tub, the water will drain automatically after several minutes of inactivity. This helps keep children safe by reducing the possibility of water remaining in the tub.
Any water remaining in the tub will automatically drain 4 minutes after the washer has shut off. If the washer is paused and the Start/Pause button is not pressed within 60 minutes, the washer will shut off and all cycle settings will be lost. Any water remaining in the tub will be drained.
The washer can be turned on or restarted any time before the drain begins. However, once the washer begins to drain, all controls and functions will be disabled until the water has been completely drained and the washer shuts off.
Options and Extra Functions
Your washer includes several additional cycle options to customize cycles to meet your individual needs.
Select the desired option after selecting the desired cycle and settings.
NOTE
- The LED for the option will light when the option is selected.
- To protect your garments, not every option is available with every cycle.
- A chime will sound twice and the LED will not light if the selected option is not allowed for the selected cycle.
Spin Only
Use this option to spin clothes and drain the water from the tub.
Use this option to drain water if the wash cycle is interrupted by a power failure or to spin dry hand-washed items.
- Press the Power button to turn on the washer.
- Do not select a cycle.
- Press and hold the Spin button for 3 seconds.
- You can change the spin speed by pressing the Spin button.
- Press the Start/Pause button to begin.
Cold Wash
Use this option to save energy by using cooler water while increasing the wash and rinse times to maintain wash performance.
- Wash time will increase up to several minutes with this option.
- For best wash results, only wash small loads (less than 8 lb) with this option.
Delay Wash
Once you have selected the cycle and other settings, press this button to delay the start of the wash cycle.
- Each press of the button increases the delay time by 1 hour, for up to 19 hours.
- Once the desired delay time is set, press the Start/Pause button to start the delay time.
NOTE
If the Start/Pause button is not pressed to begin the delay time, the washer automatically turns off after a certain time and all cycle settings are lost.
Water Plus
Use this option to add extra water to the wash cycle for better wash performance with large or bulky items.
NOTE
- If the washer reaches its maximum water level, this button will have no effect.
- To add more water while a cycle is running, pause the cycle and select this option.
- When you select Normal cycle and Water Plus option, the cycle will be changed to Deep Wash cycle before starting.
Signal
The washer plays a melody when the wash cycle is finished. The buttons make a sound each time they are pressed.
- Press the Signal button to turn the sounds on or off.
- When no signal is heard, the signal is off. The signal can be turned on at any time as long as the washer is turned on.
Extra Rinse
This option adds an extra rinse to the selected cycle. Use this option to help ensure the removal of detergent or bleach residue from fabrics.
- Pressing the Extra Rinse button twice will add two additional rinses to the cycle.
- If a liquid fabric softener is used, it is always dispensed in the final rinse.
NOTE
- You cannot select this option with the Spin Only option and Tub Clean cycle.
- Selecting the Extra Rinse option with the Normal cycle automatically changes the cycle to the Deep Wash cycle.
Tub Clean
This is a special function to clean inside the drum of your appliance.
To use this function, refer to the MAINTENANCE for details.
Turbo Wash
Adding this option reduces the cycle time while still providing similar wash performance to the same cycle without Turbo Wash.
NOTE
This option cannot be used with all cycles.
Control Lock
Use this function to disable the controls. This function can prevent children from changing cycles or operating this washer.
NOTE
- The function does not lock the door.
- Once this function is set, all buttons are locked except the Power button.
- When the controls are locked, CL and the remaining time are alternately shown on the display during the wash cycle.
- Turning off the power will not reset this function. You must deactivate this function before you can access any other options and functions.
Locking the Control Panel
- Turn on the power.
- Press and hold the Signal button for 3 seconds to activate this function
Unlocking the Control Panel
- Turn on the power.
- Press and hold the Signal button for 3 seconds to deactivate this function.
- When this function is deactivated, a chime will sound and the remaining time for the current cycle will reappear on the display.
SMART FUNCTIONS
LG ThinQ Application
The LG ThinQ application allows you to communicate with the appliance using a smartphone.
LG ThinQ Application Features
For the product that contains the Wireless LAN module.
- Remote Start
- Control the appliance remotely from the LG ThinQ application.
- Downloaded
- Download new and specialized cycles that are not included in the standard cycles on the appliance.
- Tub Clean Coach
- This function shows how many cycles remain before running the Tub Clean cycle.
- Energy Monitoring
- This feature keeps track of how the washer’s power consumption is affected by selected washing cycles and options.
- Smart DiagnosisTM
- This function provides useful information for diagnosing and solving issues with the appliance based on the pattern of use.
- Settings
- Allows you to set various options on the appliance and in the application.
- Push Alerts
- When the cycle is complete or the appliance has problems, you will receive a push message.
NOTE
- If you change your wireless router, Internet service provider, or password, delete the connected appliance from the LG ThinQ application and connect it again.
- This information is current at the time of publication. The application is subject to change for product improvement purposes without notice to users.
Before Using LG ThinQ Application
- Use a smartphone to check the strength of the wireless router (Wi-Fi network) near the appliance.
- If the appliance is too far from the router, the signal becomes weak. It may take a long time to register or fail to install the application.
- Turn off the Mobile data or Cellular Data on your smartphone.

- Connect your smartphone to the wireless router.

NOTE
- To verify the Wi-Fi connection, check that the
icon on the control panel is lit. - The appliance supports 2.4 GHz Wi-Fi networks only. To check your network frequency, contact your Internet service provider or refer to your wireless router manual.
- LG ThinQ is not responsible for any network connection problems or any faults, malfunctions, or errors caused by network connection.
- The surrounding wireless environment can make the wireless network service run slowly.
- If the appliance is having trouble connecting to the Wi-Fi network, it may be too far from the router. Purchase a Wi-Fi repeater (range extender) to improve the Wi-Fi signal strength.
- The network connection may not work properly depending on the Internet service provider.
- The Wi-Fi may not connect or the connection may be interrupted because of the home network environment.
NOTE
- If the appliance cannot be connected due to problems with the wireless signal transmission, unplug the appliance and wait about a minute before trying again.
- If the firewall on your wireless router is enabled, disable the firewall or add an exception to it.
- The wireless network name (SSID) should be a combination of English letters and numbers. (Do not use special characters.)
- Smartphone user interface (UI) may vary depending on the mobile operating system (OS) and the manufacturer.
- If the security protocol of the router is set to WEP, network setup may fail. Change the security protocol (WPA2 is recommended), and connect the product again.
Installing the LG ThinQ Application
Search for the LG ThinQ application from the Google Play Store or Apple App Store on a smartphone. Follow instructions to download and install the application.
Using the Appliance Remotely
Remote Start
Use a smartphone to control your appliance remotely. You can also monitor your cycle operation so you know how much time is left in the
cycle
Using Remote Start
- Put the laundry in the drum and add detergent to the detergent dispenser drawer.
- If desired, add bleach or fabric softener to the appropriate areas of the dispenser.
- Press the Power button.
- Press and hold the Remote Start button for 3 seconds to enable the remote control function.
- Start a cycle from the LG ThinQ application on your smartphone.
NOTE
- Once this function is enabled, you can only start a cycle from the LG ThinQ smartphone application. If the cycle is not started, the appliance will wait to start the cycle until it is turned off remotely from the application or this function is disabled.
- If the door has been opened, you cannot start a cycle remotely.
Disabling Remote Start Manually
When the function is activated, press and hold the Remote Start button for 3 seconds.
Download Cycle
You can download new and specialized cycles that are not included in the standard cycles on the appliance.
Appliances that have been successfully connected can download a variety of specialty cycles specific to the appliance.
Once cycle download is completed in the appliance, the product keeps the downloaded cycle until a new cycle is downloaded.
NOTE
Only one downloaded cycle can be stored on the appliance at a time.
Wireless LAN Module Specifications
| Frequency Range | 2412 – 2462 MHz |
| Output Power (Max) | < 30 dBm |
FCC Notice
The following notice covers the transmitter module contained in this product.
This equipment has been tested and found to comply with the limits for a Class B digital device, pursuant to Part 15 of the FCC Rules. These limits are designed to provide reasonable protection against harmful interference in a residential installation. This equipment generates, uses, and can radiate radio frequency energy and, if not installed and used in accordance with the instructions, may cause harmful interference to radio communications. However, there is no guarantee that interference will not occur in aparticular installation. If this equipment does cause harmful interference to radio or television reception, which can be determined by turning the equipment off and on, the user is encouraged to try to correct the interference by one or more of the following measures:
- Reorient or relocate the receiving antenna.
- Increase the separation between the equipment and the receiver.
- Connect the equipment to an outlet on a circuit different from that to which the receiver is connected.
- Consult the dealer or an experienced radio/TV technician for help.
This device complies with part 15 of the FCC Rules. Operation is subject to the following two conditions:
- This device may not cause harmful interference and
- This device must accept any interference received, including interference that may cause undesired operation.
Any changes or modifications in construction of this device which are not expressly approved by the party responsible for compliance could void the user’s authority to operate the equipment.
FCC RF Radiation Exposure Statement
This equipment complies with FCC radiation exposure limits set forth for an uncontrolled environment. This transmitter must not be colocated or operating in conjunction with any other antenna or transmitter.
This equipment should be installed and operated with a minimum distance of 20 cm (7.8 inches) between the antenna and your body. Users must follow the specific operating instructions for satisfying RF exposure compliance.
Industry Canada Statement
This device contains licence-exempt transmitter(s)/ receiver(s) that comply with Innovation, Science and Economic Development Canada’s licenceexempt RSS(s). Operation is subject to the following two conditions:
- This device may not cause interference.
- This device must accept any interference, including interference that may cause undesired operation of the device.
IC Radiation Exposure Statement
This equipment complies with IC radiation exposure limits set forth for an uncontrolled environment.
This equipment should be installed and operated with a minimum distance of 20 cm (7.8 inches) between the antenna and your body.
NOTE
THE MANUFACTURER IS NOT RESPONSIBLE FOR ANY RADIO OR TV INTERFERENCE CAUSED BY UNAUTHORIZED MODIFICATIONS TO THIS EQUIPMENT. SUCH MODIFICATIONS COULD VOID THE USER’S AUTHORITY TO OPERATE THE EQUIPMENT.
Open Source Software Notice Information
To obtain the source code under GPL, LGPL, MPL, and other open source licenses, that is contained in this product, please visit http://opensource.lge.com. In addition to the source code, all referred license terms, warranty disclaimers and copyright notices are available for download.
LG Electronics will also provide open source code to you on CD-ROM for a charge covering the cost of performing such distribution (such as the cost of media, shipping, and handling) upon email request to [email protected]. This offer is valid for a period of three years after our last shipment of this product. This offer is valid to anyone in receipt of this information.
Smart Diagnosis Function
Use this feature to help you diagnose and solve problems with your appliance.
NOTE
- For reasons not attributable to LGE’s negligence, the service may not operate due to external factors such as, but not limited to, Wi-Fi unavailability, Wi-Fi disconnection, local app store policy, or app unavailability.
- The feature may be subject to change without prior notice and may have a different form depending on where you are located.
Using LG ThinQ to Diagnose Issues
If you experience a problem with your Wi-Fi equipped appliance, it can transmit troubleshooting data to a smartphone using the LG ThinQ application.
Launch the LG ThinQ application and select the Smart DiagnosisTM feature in the menu. Follow the instructions provided in the LG ThinQ application.
Using Audible Diagnosis to Diagnose Issues
Follow the instructions below to use the audible diagnosis method.
Launch the LG ThinQ application and select the Smart DiagnosisTM feature in the menu. Follow the instructions for audible diagnosis provided
in the LG ThinQ application.
- Press the Power button to turn on the appliance.
- Do not press any other buttons.
- Hold the mouthpiece of your phone close to Power button.

- Press and hold the Temp. button for 3 seconds or longer while continuing to hold your phone near the Power button.
- Keep the phone in place until the tone transmission has finished. The display will count down the time. Once the countdown is over and the tones have stopped, the diagnosis will be displayed in the application.
NOTE
For best results, do not move the phone while the tones are being transmitted.
MAINTENANCE
WARNING
- To reduce the risk of fire, electric shock, or injury to persons, read this entire owner’s manual, including the SAFETY INSTRUCTIONS, before operating this appliance.
- Unplug the appliance before cleaning to avoid the risk of electric shock. Failure to follow this warning can cause serious injury, fire, electric shock, or death.
- Do not use volatile substances (benzene, paint thinner, alcohol, acetone, etc.), abrasive cleaners, or detergents with strong chemical components when cleaning the appliance. Doing so may cause discoloration or damage to the appliance, or may cause a fire.
- Certain internal parts are intentionally not grounded and may present a risk of electric shock only during servicing. Service personnel – Do not contact the following parts while the appliance is energized: pump, motor, noise filter cover, and heater (on applicable models).
Regular Cleaning
Care after Wash
- Always remove items from the washer as soon as the cycle is complete. Leaving damp items in the washer can cause wrinkling, color transfer, and odor.
- After the cycle is finished, wipe the lid and the inside of the lid seal to remove any moisture.
- Wipe the body of the washer with a dry cloth to remove any moisture.
- Leave the lid open to dry the tub interior.
NOTE
Make sure children and pets do not climb into the tub. Engage the Control Lock feature if needed to prevent children from accidentally starting a wash cycle.
Cleaning the Exterior
Proper care of your washer can extend its life.
Lid:
Wash with a damp cloth on the outside and inside and then dry with a soft cloth.
Exterior:
- Immediately wipe off any spills.
- Wipe with a damp cloth.
- Do not touch the surface or the display with sharp objects.
Periodic Maintenance
Cleaning the Tub
Over time, residue may build up in the tub, leading to mildew or a musty odor. Run the Tub Clean cycle monthly to remove residue and prevent odor.
NOTE
- Make sure to run the Tub Clean cycle only when the tub is empty. Never load laundry while using this cycle. The laundry may be damaged or contaminated with cleaning products.
- Run the cycle more often under heavy use conditions or if odor is already present.
- If mildew or musty smell already exists, run this cycle once a week for three consecutive weeks.
- Remove any clothing from the tub.
- Adding cleaning agents.
Cleaner Instructions Tub cleaner Follow manufacturer’s recommendations. Lime scale remover Liquid chlorine bleach Add to main wash liquid detergent dispenser. Powdered cleaner Follow manufacturer’s recommendations. Cleaning tablets Place directly into the washer tub. - For other tub cleaning products, follow the cleaner manufacturer’s instructions and recommendations.
- Do not exceed the maximum fill line when adding bleach or powdered cleaners. Powdered cleaners may remain in the tub after cleaning.
- Close the lid and press the Power button to turn on the washer.
- Turn the knob or press the cycle buttons to select the Tub Clean cycle then press the Start/Pause button to begin the cycle.
- After the cycle ends, open the lid and allow the tub interior to dry completely.
WARNING
Make sure children and pets do not climb into the tub. Engage the Control Lock feature if needed to prevent children from accidentally starting a wash cycle.
NOTE
If you use a descaler or tub cleaner during the Tub Clean cycle, use the Rinse+Spin option to rinse the washer tub before running your next wash cycle.
Removing Mineral Buildup
In areas with hard water, mineral scale can form on internal components of the washer. Periodically clean the mineral buildup on the internal components to extend the lifespan of the washer.
Use of a water softener is recommended in areas with hard water.
- Use a descaler to remove visible mineral buildup on the washer tub.
- After descaling, always run the Tub Clean cycle before washing clothing.
- Mineral scale and other spots may be removed from the stainless steel tub using a soft cloth soaked in stainless steel cleaner.
- Do not use steel wool or abrasive cleaners.
Leaving the Lid Open
After you finish using the washer, leave the lid open overnight to allow air to circulate and dry the tub. This helps prevent odors.
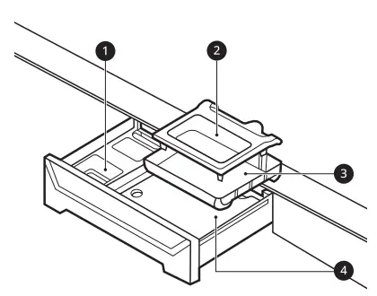
Cleaning the Dispenser Drawer
Detergent and fabric softener may build up in the dispenser drawer. Remove the drawer and inserts and check for buildup once or twice a month.
WARNING
Do not spray water inside the washer. Doing so may cause fire or electric shock.
- Turn off the washer, and unplug the power cord.
- Remove the drawer by pulling it straight out until it stops. Lift the front of the drawer upwards and pull it completely out.

- Remove the inserts from the two compartments.

- Clean the inserts and drawer with warm water.
- Use a soft cloth or brush to clean and remove any residue.
- Do not use soap when cleaning the drawer and inserts.
- Wipe off any moisture with a dry towel or cloth after cleaning.
- To clean the drawer opening, use a small, non-metal brush to clean the recess. Remove all residue from the upper and lower parts of the recess.
- Return the inserts to the proper compartments and replace the drawer.
- Set the drawer into the opening at an angle, then lower it and slide it into place.
Cleaning the Bleach Dispenser
Bleach may build up on the bleach dispenser cover. Check for buildup and clean the cover once or twice a month.
Automatic Bleach Dispenser
Remove the cover from the bleach dispenser.
Clean the cover and the opening with warm water.

Immediate Bleach Dispenser
The cover cannot be separated from the dispenser.
Clean the cover using a brush and warm water.

Cleaning the Water Inlet Filters
If the washer does not fill properly, an error message will appear on the display. The inlet valve filter screens could be clogged by hard water scale,
sediment in the water supply, or other debris.
WARNING
The inlet screens protect the delicate parts of the inlet valve from being damaged by particles that could enter the valves with the water supply. Operating the washer with these filters removed could cause a valve to open continuously, resulting in flooding and/or property damage.
CAUTION
- Do not use the washer without the inlet filters. Doing so it will cause leaks and malfunction.
- If you use the washer in an area with hard water, the inlet filter may clog due to lime buildup and require more frequent cleaning.
- Turn off the washer, and unplug the power cord.
- Turn off hot and cold water faucets.
- nscrew the hot and cold water hoses from the back of the washer.
- Remove the filters from the water valves carefully.
- Use pliers to pull out the filters from the water valves.

- Use pliers to pull out the filters from the water valves.
- Remove foreign objects and soak the filters in white vinegar or a lime scale remover.
- If using a lime scale remover, follow the manufacturer’s instructions. Be careful not to damage the filters while cleaning them.
- Rinse filters thoroughly and press them back into place.
- Flush then reattach the water hoses.
- Before reattaching the water inlet hoses, flush them by running several gallons of water through them into a bucket or drain, preferably with the faucets wide open for maximum flow.
NOTE
An IE error message may blink on the display when the water pressure is low or an inlet filter is clogged with dirt. Clean the inlet filter.
Care in Cold Climates
Storing the Washer
If the washer will not be used for an extended period of time and is in an area that could be exposed to freezing temperatures,follow these steps to protect the washer from damage.
NOTE
Make sure the tub is empty before following these steps.
- Turn off the washer, and unplug the power cord.
- Turn off the water faucets.
- Disconnect hoses from water supply and drain water from hoses.

- Plug the power cord into a properly grounded electrical outlet.
- Add 1 gallon of nontoxic recreational vehicle (RV) antifreeze to the empty tub and close the lid.
- Never use automotive antifreeze.
- Turn on the washer and select the Spin cycle.
- Press the Start/Pause button to start the drain pump for 1 minute.
- This will expel some of the antifreeze, leaving enough to protect the washer from damage.
- Turn off the washer and unplug the power cord.
- Dry the tub interior with a soft cloth, and close the lid.
- Store the washer in an upright position.
- Remove the inserts from the dispenser. Drain any water in the compartments and let them dry.
- To remove the antifreeze from the washer after storage, run a Speed Wash cycle using detergent.
- Do not add laundry to this cycle.
When the Water Inlet Hoses are Frozen
- Turn off the washer, and unplug the power cord.
- Turn off the faucets connected to the water inlet hoses.
- Pour hot water on the frozen faucets to thaw the water inlet hoses and remove the water inlet hoses.
- Immerse the water inlet hoses in hot water to thaw them.
- Reconnect the water inlet hoses to the water inlets of the washer and to the faucets.
- See Connecting the Water Inlet Hoses for details.
- Turn on the faucets.
- Press the Power button to turn on the washer.





























