SCHUBERTH Prime Box Pico

Prime Box Pico
PBI1100ED_044_00 / PBI1100ED_044_01
Also observe the operating instructions! Please download here:
www.schubert-system-elektronik.de/de/dokumente.html
| Ambient temperature range (with natural convection) | -10 … +45 °C |
| Ambient temperature range (with air flow ≥ 0.4 m/s) | -10 … +501) °C |
| Air humidity, non-condensing | 10 % – 90 % |
| Altitude of operation | ≤ 2000 m |
| Degree of pollution | 2 |
| Overvoltage category | II |
Safety information
WARNING: Danger to life due to electric shock if unsuitable power supply is used! Electrical connection is to be made by trained electrical specialists only. Installation and commissioning is to be made by qualified personnel only.
WARNING: Products from Schubert System Elektronik GmbH may only be used for the purposes intended in the operating instructions and only in conjunction with third-party devices and components recommended or approved by us. Commissioning is prohibited until it has been established that the machine in which this component is to be installed complies with the provisions of Directive 2006/42/EC. Correct and safe operation of the product is subject to proper transport, storage, installation and assembly as well as careful operation and maintenance.
Scope of delivery

Installation conditions & Mounting
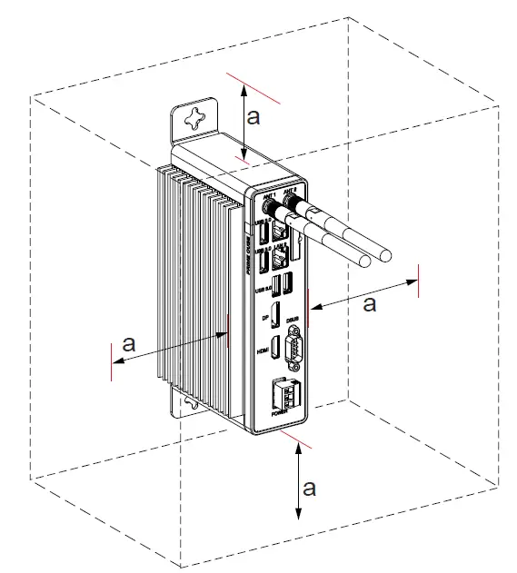
The device is designed for vertical installation in control cabinets and must not be installed and operated upside down!
Alternatively, a vertical or horizontal installation at the rear of the housing is possible, using the two mounting plates. Pay attention to the correct orientation during installation; install the device vertically (antennas on top) or horizontally (heat sink on top).
min. distance inside for convection a > 50 mm
Connection

Observe the grounding concept ð operating instructions
www.schubert-system-elektronik.de
Schubert System Elektronik GmbH, take-off Gewerbepark 36, D-78579 Neuhausen ob Eck
T: +49 7467 9497 0
E: [email protected]
www.schubert-system-elektronik.de























