iebelong M SERIES KINETIC SWITCH

Product Description
The M series switch is a push button style kinetic energy switch that uses micro-energy acquisition technology without battery. It can be paired with EBELONG controllers to work. If it is paired with a dimmable controller,you can turn on/off /dim the lights.
- Product Parameters
| Product Series | M Series |
| Number of keys: | 4, 6 buttons |
| Working Frequency: | RF 433MHz |
| Working Temperature: | -20°C-+55°C |
| Control Distance: | 80m (outdoor) 25m (indoor) |
| Executive Standard: | Q/EBL01-2018 |
| Use Method: | Pairing with EBELONG Wireless Receiving Controller |
Note: The effective distence data is measured by EBELONG Lab and it will vary due to the changes of the environmentintheactualuse
Switch Installation
Method 1: Use the Velcro in the package to attach the switch to a stable and clean surface such as glass, marble, and tile.
- StriptheVelcrofilmonthebackcfthe switch

- paste tha switch on a clean surface

- If necessary, remove the switch from the Velcro and use the switch as a mobile switch
(Note: Take care when removing it. If it is stuck on an unstable wall, do not remove it.)
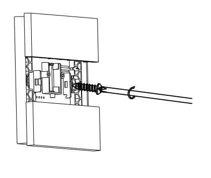
Method 2: Open the button of the switch as shown below, and use the self-tapping screw to lock the base of the switch to the wall by expandsion rubber or 86 type wire box, then press firmly to put the button back on the base.
- Open the button carefully
- The switch base is locked in the wall expansion rubber or type 86 box

- Press the button to replace it on the base

Pair with Controller
The M series switches need to be paired with EBELONG wireless controller. The ordinary pairing method is to press and hold the contro lller “pairing key” for about 3 seconds, release the “pairing key”button when the indicator light flashes, and then press a button of the M switch once. The indicator light goes off, which means that the pairing is successful. Then you can control the wireless controller by this button . (More detailed steps, please refer to the receiving controller instruction) If the controller is dimabele and the dimming mode is open , long press on the paired button to dim the brightness circularly and remember the brightness when you turn on the light again.
Directional Pairing with Controller
In order to meet the user’s habits of the switch and to ensure that the multiple controllers can be turned on and off at the same time in the one-to-multiple mode, we design the di rec
-tional pairing mode .Directional pairing mode is a group of two horizontal buttons, and there are three groups of 6-button switch.
The ordinary pairing method is to press and hold the “pairing key” on the controller about 3 seconds and release when the light is flashing.Then press one of the group button four times (within 1 seconds), the indicator light goes off.which means pairing is successful.
After directional pairing is successful, the left button can only turn off and the right button can only turn on .Long press the left button can only dim, long press the right button can only brighten.
CERTIFICATE INSPECTED
Statement: Wireless kinetic energy switch is a product of Shenzhen EBELONG Technology Co. Ltd. The product specification and information is for reference only. Update of content will not be further notified. Except for special agreement, information from th1is manual shall not constitute any form of responsibility. Without written approval from Shenzhen EBELONG Technology Co., Ltd, no unit is allowed to copy, translate any content from this manual, and shall not in any forms or by any means ( electronic, mechanical photocopying, recording etc) diffuse product information for commercial profit purpose.
Shenzhen EBELONG Technology Co., Ltd
Address: #607, Block A, Shenzhen Wisdom Innovation Center, QianJin 2nd Road, BaoAn District, Shenzhen, P.R.China
Website: www.iebelong.com
Tel: +86-755-27888758























