
EMERSON INSINK E101CORD Food Waste Disposer Instruction Manual



www.insinkerator.com
©2016 InSinkErator, a business unit of
Emerson Electric Co. All Rights Reserved.
220-240V, 50-60Hz
for Australia/New Zealand

1. CHECK INSTALLATION DIMENSIONS
- Disposer height.
- Distance from bottom of sink bowl to centerline of discharge outlet. (Add 12 mm when stainless steel sink is used.)
- Distance from centerline of the discharge outlet to end of discharge tube.
- Disposer width.
- Distance from disposer vertical centerline to centerline of trap connection.
To properly drain and prevent standing water in the disposer, the waste pipe entering the wall must be lower than the disposer discharge outlet.

2. DISCONNECT AND CLEAN SINK DRAIN
PERSONAL INJURY
Wearing safety glasses is recommended during the installation of the food waste disposer.
DISCONNECT SINK DRAIN
- Loosen nuts (1) at top of trap (4) with pipe wrench. Remove trap. (See Figure 2.1)
- Loosen nut (2) at top of extension pipe. Remove extension pipe.
- Remove nut (3) at base of sink flange.
- Push strainer up through sink hole and remove it. (See Figure 2.2)
- Clean sink flange area of any putty or other debris.
NOTE: The sink hole may have to be enlarged to accept the disposer sink flange. Sink hole enlargement tools are available from your InSinkErator dealer.
CLEAN SINK DRAIN
Failure to clean sink waste pipe line may result in waste pipe blockage.
With drain auger, clear away all hardened waste material in horizontal drain line running from drain trap to main pipe.
When installing in new construction, cleaning the sink waste pipe line is not necessary.
IF REPLACING AN EXISTING DISPOSER, CONTINUE WITH INSTRUCTION 3.
IF THIS IS A FIRST TIME INSTALLATION, SKIP AHEAD TO INSTRUCTION 4.


3. REMOVE EXISTING DISPOSER
CAUTION
PERSONAL INJURY
To avoid personal injury, do not position your head or body under disposer; the unit could fall during installation.
WARNING
ELECTRICAL SHOCK
- To avoid electrical shock, disconnect power before removing any existing disposer. Turn off electrical power at fuse box or circuit breaker or if equipped unplug disposer electrical power plug from wall outlet.
- Improper connection of equipment earth (grounded) conductor can result in electric shock.
- If your disposer is equipped with an electric plug and cord connection, unplug power plug from electrical wall outlet.
If your disposer is not equipped with an electrical plug and cord connection, contact an electrician to disconnect the old disposer plus install an earth (grounded) electrical wall outlet for the new disposer connection that must be compliant to all local electrical codes. - Disconnect drain trap from disposer waste discharge tube with adjustable pliers (see Figure 3.1). Also disconnect dishwasher drain connection, if applicable.
- Support disposer with one hand and insert end of wrenchette or screwdriver into right side of one mounting lug on lower mounting ring (see Figure 3.2). Lift disposer slightly and remove from mounting by pushing or pulling wrenchette or screwdriver to left (disposer may be heavy; provide support).
- Loosen three mounting screws, pry snap ring off with screwdriver, and remove old mounting assembly (see Figure 3.3). Some mounting assembly removal requires additional tools.
- Push old sink flange up through sink hole (see Figure 3.4).

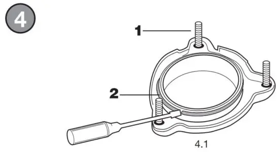
4. DISASSEMBLE NEW DISPOSER MOUNTING ASSEMBLY
- Turn mounting assembly over (see Figure 4.1) and loosen three mounting screws (1) until you can access snap ring (2).
- Use screwdriver to pry snap ring off of sink flange. Mounting assembly can now be disassembled.

5. ATTACH UPPER MOUNTING ASSEMBLY TO SINK
Reference Figure 5.1.
- Place one of two rubber gaskets (2) under sink flange (1). Ensure sink hole area is clear of debris and place sink flange/gasket into sink hole. You may wish to place a weighted object in the sink to hold the sink flange in place. (Place a towel under object to prevent scratching.)
- Working from under the sink, slip second rubber gasket (2), fiber gasket (optional) (3) and metal backup flange (4) (flat side up) over the sink flange. Holding second rubber gasket, fiber gasket (optional) and metal backup flange in place, slip mounting ring (5) over sink flange so it seats against backup flange.
- With the rubber gasket, fiber gasket (optional), backup flange, and mounting ring tight against sink bottom, slide snap ring (7) onto sink flange until it pops into groove on flange.
- Tighten three mounting screws (6) up to sink until mounting assembly is seated tightly and evenly against sink.
IF YOU ARE NOT CONNECTING A DISHWASHER TO DISPOSER, SKIP AHEAD TO INSTRUCTION 7.

6. REMOVAL OF KNOCKOUT PLUG
FOR DISHWASHER CONNECTION
In Australia, removal of knockout plug does not apply. It is suggested that the dishwasher units be connected to IPLEX/ COROMA dishwasher spigot for maximum efficiency.
Wastewater from a dishwasher can be plumbed into the disposer through the inlet access on the upper part of the disposer. There is a plug on the inside of the inlet tube on all models. Once removed, the knockout plug cannot be replaced.
NOTICE
PROPERTY DAMAGE
If the dishwasher connection is made without removing the plug, the dishwasher may overflow. (Connections must comply with local plumbing codes.)
REMOVE KNOCKOUT PLUG
- Lay disposer on its side and insert slotted screwdriver into dishwasher inlet so tip rests on outer edge of knockout plug.
- Tap end of screwdriver handle with hammer until molded plug breaks loose. (See Figure 6.1)
- Remove loose knockout plug from inside disposer. (See Figure 6.2)

7. ATTACH DISCHARGE TUBE TO WASTE DRAIN PIPE
NOTICE
PROPERTY DAMAGE
- All Evolution 200 and Evolution 100 models must be connected to the supplied tailpipe with the supplied spring type hose clamp (See Figure 7.1). In Australia it is required to use the supplied straight discharge tube with supplied spring type hose clamp. (See Figure 7.2) Failure to use the supplied tubes and spring type hose clamp will void the guarantee and possibly cause premature failure of the Anti-Vibration Tailpipe Mount™.
- Do not use plumber’s putty on any other disposer connection. Do not use thread sealants or pipe dope. These may harm disposer and cause property damage.
- Regularly inspect disposer and plumbing fittings for water leaks, as water leaks can cause property damage. Manufacturer cannot be held responsible for property damage as a result of water leaks.
DISCHARGE TUBE INSTALLATION (EVOLUTION 200 AND EVOLUTION 100)
Place discharge tube (2 or 3) into Anti-Vibration Tailpipe Mount™. Secure with spring type hose clamp (1). (See Figure 7.1)
DISCHARGE TUBE INSTALLATION (MODELS 66, 56, 46)
- Place metal flange (5) over discharge tube (7 or 8). Insert rubber gasket (4) with gasket lip facing the metal flange into discharge tube. (See Figure 7.2)
- Secure metal flange and discharge tube to disposer with two 13 mm bolts 6).

8. CONNECT DISPOSER TO MOUNTING ASSEMBLY
CAUTION
To avoid personal injury, do not position your head or body under disposer; the unit could fall during installation.
Clear any objects from inside the disposer grind chamber before mounting
the disposer to the sink.
- This product must be installed so that the red motor reset button, power supply cord plug and earth ground receptacle are readily accessible. Keep this space clear of all objects.
- Prior to connecting disposer to mounting assembly, detach the perforated portion of the specification label found at the base of the disposer, and set aside for Instruction 9. (See Figure 8.1)
- Lift disposer, insert top end (mounting gasket) into mounting assembly. Position disposer with three mounting tabs (1) aligned in position to slide over mounting tracks (2) (see Figure 8.2).
- Turn lower mounting ring to right (with wrenchette or adjustable pliers) until mounting tabs lock over ridges (3) on mounting ring tracks (see Figure 8.3). Make sure all three mounting tabs are locked over ridges. Disposer will now hang by itself.
- For Evolution Models and Model 66, Insert sound baffle into sink opening, with flat side upward. (See Figure 8.4)
- Rotate disposer so that discharge tube is aligned with drain trap. (To prevent leaks, do not pull or bend discharge tube to drain trap.) If discharge
tube is too short, you can purchase an extension from hardware store. (Disposer must remain in vertical position to prevent vibration.) - Place nut, then ferrule on discharge tube and tighten on drain trap. (If you have a double sink, use separate drain traps for both sides of sink.)
- Ensure lower mounting ring is still securely locked over ridges on mounting flange. (See Figure 8.3)

9. ATTACH SPECIFICATION LABEL
This specification label contains important information the owner will need to know in the event service is required. Place the portion of the specification label removed in Step 8.1 somewhere easily visible to the user.
IF YOU ARE NOT CONNECTING A DISHWASHER
TO DISPOSER, SKIP AHEAD TO INSTRUCTION 11.

10. DISHWASHER ATTACHMENT AND OVERFLOW CONNECTION
In Australia, dishwasher attachment and over flow connection does not apply. It is suggested that the dishwasher units be connected to IPLEX/ COROMA dishwasher spigot for maximum efficiency.
If you have a sink overflow, it should be connected to the overflow inlet on the tailpipe (see Figure 10.1).
To connect the overflow, remove the plug in the tailpipe by unscrewing the overflow connector cap (see Figure 10.2).
FOR NEW ZEALAND ONLY Connect the hose from the dishwasher to the disposer inlet using a dishwasher drain connection kit with a hose clamp (not provided).
NOTE: The straight discharge tube for use in Australia does not have an overflow connection tube.
Food waste disposers can provide an environmentally responsible alternative to transporting food waste to landfills. And they can help reduce greenhouse gas
emissions. At capable wastewater treatment plants, food waste can be recycled to produce renewable energy. Additionally, capable wastewater treatment plants
can process food waste into fertilizer. (Check the plant in your area).
Read through the entire installation manual before installing the disposer. Determine which of the tools, materials, and accessories you will need before
you begin. Make sure you have all necessary disposer parts before installing the disposer.
NOTE: The Evolution models grind much finer than any other disposer. For this reason you may notice that it takes a little longer to grind some food waste. Due to the Evolution 200 model’s microprocessor, users will experience a fractional second delay when starting on all Evolution 200 models. This is completely normal.
NOTE: In Australia, all plumbing and electrical work must be completed by a qualified tradesperson. This product may require approval of the relevant regulator and/or the sewerage system operator. Disposer must be installed to AS/NZS 3500.2 standard requirements.
NOTE: Make sure that the installation of this appliance is allowed by the authorities.
TOOLS & MATERIALS YOU WILL NEED:
Slotted Screwdriver, Adjustable Pliers, Safety Glasses
TOOLS, MATERIALS, AND ACCESSORIES YOU MAY NEED:
Phillips Screwdriver, Drain Auger, 9.5 mm Electrical Clamp, 38 mm Drain Trap, 33 mm Hole Drill, Hammer, Hacksaw, Water Hose Clamp, Pipe Wrench, Copper Earth Wire, Dishwasher Drain Connection Kit, Electrical On/Off Switch, Drain Tube Extension
PARTS LIST
(May vary depending on model)
MOUNTING ASSEMBLY
1a. Strainer Basket and Plug
(Evolution models)
1b. Stopper (Models 66, 56, 46)
2. Sink Flange
3. Rubber Gaskets (2)
4. Fiber Gasket (optional)
5. Backup Flange
6. Mounting Ring
7. Screws (3)
8. Snap Ring
DISPOSER
9. Sound Baffle
(Evolution Models, Model 66)
10. Mounting Gasket
11. Lower Mounting Ring
12. Dishwasher Inlet
13. Discharge Outlet
14. Wrenchette
DISCHARGE ASSEMBLY #1
(Evolution models)
15. Hose Clamp
16. Elbow Discharge Tube (38 mm diameter)
17. Straight Discharge Tube (optional)
DISCHARGE ASSEMBLY #2
(Models 66, 56, 46)
17. Straight Discharge
Tube (optional)
18. Bolts (2) 13 mm 1/4-20 UNC
19. Rubber Gasket
20. Metal Flange
21. Elbow Discharge Tube
(38 mm diameter)
AIR SWITCH
(Evolution models,
Model 66, Model 56)
22. Air Switch Assembly
23. Tube
Read all safety messages before proceeding
SAFETY SYMBOLS
Warning indicates a potentially hazardous situation which, if not avoided, could result in death or serious injury.
Caution indicates a hazardous situation which, if not avoided, could result in minor or moderate injury.
Notice is used to address practices not related to personal injury.
InSinkErator
471 Mountain Highway
Bayswater Vic 3153, Australia
Sales Tel: 61 03 9720 5599
Service Tel: 1 300 136 205
www.insinkerator.com.au
Parex Industries Ltd.
5 Tolich Place, Henderson
P.O. Box 21-102
Auckland, New Zealand 0610
Sales Tel: 64 9 836 6566
Service Tel: 0800 200 510
www.parex.co.nz
InSinkErator
Emerson Electric Co.
4700 21st Street
Racine, WI 53406-5093
USA
Sales/Service Tel:
262-554-3652
www.insinkerator.com/worldmap.html

11. CONNECT DISPOSER TO ELECTRICAL SUPPLY
WARNING
ELECTRICAL SHOCK
- If three-prong, earth (grounded) plug is used, plug must be inserted into three-hole, earth (grounded) receptacle.
- Do not modify plug provided with unit (if applicable).
- Improper connection of equipment earth (grounded) conductor can result in electric shock.
- All wiring must comply with local electrical codes.
- Do not attach earth wire (ground wire) to gas supply pipe.
- Do not reconnect electrical current at main service panel until proper earth (grounded) outlets are installed by a qualified electrician.
- If the supply cord is damaged, it must be replaced by the manufacturer, its service agent or similarly qualified-persons in order to avoid a hazard.
CAUTION
PERSONAL INJURY
Install and route tubing for air switch as such to reliably reduce likelihood of mechanical damage or stress, allowing proper on/off operation of the air switch.
NOTE: You must have access to a separate circuit wall socket that is earth (grounded) to main service panel. Any additional socket should be fitted by a qualified electrician and properly earthed (grounded). The disposer is fitted with a power supply cord plug. ON/OFF CONTROL
There are two types of controls for continuous-feed disposers: a double-pole switch and an air switch (built in for Evolution 200, Evolution 100, Model 66 and Model 56; available as an accessory on all other models).
DOUBLE POLE SWITCH (1):
If a wall switch (not supplied) is required for your installation, it must have on/off markings and be installed by a qualified tradeperson. It should be located in a convenient position above the work surface with a minimum of 3 mm contact separation between each pole. In New Zealand, please refer to AS/NZS 3000:2007 for electrical installation. Connect to a 20 amp earth (grounded) wall socket (2) using a 20 amp cable. (See Figure 11.1) See instructions for DISABLING THE AIR SWITCH.
AIR SWITCH (EVOLUTION 200, EVOLUTION 100, MODELS 66 AND 56)
The Evolution 200, Evolution 100, Model 66 and Model 56 disposers include a built-in air switch. An air switch activates/turns off the unit by sending a pulse of air to the control box.
AIR SWITCH INSTALLATION
If you wish to change the button finish (optional), simply pry off the existing button and snap the other button finish onto the bellows. (See Figure 11.2)
- Drill a 33 mm wide hole into the kitchen work top, or the corner of the sink unit, at the most convenient point for use. Some sink units may already have a suitable hole in them which can be exposed by removing the cap.
- Remove the nut from the push button bellows, while keeping the stainless steel washer and rubber gasket in place. Push one end of the PVC tubing onto the spout of the push button bellows, feed the other end of the tube through the hole in the work top and through the nut underneath the work top. (See Figure 11.3)
- Fit the push button bellows in the hole and then thread the nut underneath the work top until it is hand tight. Do not use a wrench to tighten the nut. (See Figure 11.4)
- Take the other end of the air tube and firmly push it over the spout of the air switch, which is located on the underside of the waste disposer (See Figure 11.5).
DISABLING THE AIR SWITCH
The air switch can be disabled if wall switch operation is preferred.
The disposer is shipped with the switch in the “off ” position.
- Push one end of the PVC tubing provided onto the spout of the push button bellows. (See Figure 11.3)
- Take the other end of the air tube and firmly push it over the spout of the air switch, which is located on the underside of the waste disposer (See Figure 11.5).
- Depress the air switch one time until you hear the switch “click.” Remove and discard the push button bellows and PVC tubing. The disposer may now be activated by a wall switch.
The disposer installation is complete. Read all operating and safety instructions in Instruction 12 before operating the disposer.
Lastly, place stopper in sink in close position. Fill sink with water, remove stopper, turn disposer on and check for leaks.


12. IMPORTANT SAFETY INFORMATION
WARNING
When using electronic appliances, basic precautions are always to be followed, including:
- In Australia, product may require approval of the relevant regulator and/or the sewerage system operator.
- If the air switch or wall switch fails to shut off or turn on disposer, unplug power cord plug and contact your qualified trade person.
- This product is designed to dispose of normal household food waste; inserting materials other than food waste into disposer could cause personal injury and/or property damage. To reduce the risk of injury, do not use the sink containing the disposer for purposes other than food preparation (such as baby bathing or washing hair).
- This appliance can be used by children aged from 8 years and above and persons with reduced physical, sensory or mental capabilities or lack of experience and knowledge if they have been given supervision or instruction concerning use of the appliance in a safe way and under
stand the hazards involved. Children shall not play with the appliance. Cleaning and user maintenance shall not be made by children without supervision. - When attempting to loosen a jam in the food waste disposer, switch off or unplug the appliance before attempting to free a jammed rotor. Use a self service wrenchette as described in the Releasing Disposer Jam section.
- Use long-handled tongs or pliers to remove objects from disposer.
- To reduce the risk of injury by materials that are expellable by a waste disposer, do not operate Evolution disposers without the sound baffle in place (see Figure 8.4). Place stopper in sink opening as shown in Figure 12.2 or 12.4. Do not put the following into a disposer: clam or oyster shells, caustic drain cleaners or similar products, glass, china, or plastic, large (whole) bones, metal (such as bottle caps, steel shot, tin cans, or utensils), hot grease or other hot liquids.
- Replace sound baffle/mounting gasket/ splash baffle when worn to help prevent entry or ejection of material and water.
- When not using disposer, leave stopper in place to reduce risk of objects falling into disposer. Make sure disposer power switch is turned off.
- Before pressing reset button, attempting to clear jam, or removing objects from inside disposer, make sure disposer power switch is turned off.
- Do not insert hands or fingers into disposer.
- FIRE HAZARD: Do not store flammable items such as rags, paper, or aerosol cans near disposer. Do not store or use gasoline or other flammable vapors and liquids in vicinity of disposer.
- LEAK HAZARD: Regularly inspect disposer and plumbing fittings for leaks, which can cause property damage and could result in personal injury.
- Do not dispose of the following in the disposer: paints, solvents, household cleaners and chemicals, automotive fluids, plastic wrap.
OPERATING INSTRUCTIONS
(EVOLUTION MODELS AND MODEL 66)
- Remove strainer basket and plug from sink opening and run cold water.
- Turn on wall switch or press air switch (see Figure 12.1) to start disposer.
- Slowly insert food waste into disposer and position strainer basket and plug in upright position (allowing water to run through) to minimize noise and possible ejection of material while grinding (See Figure 12.2).
- After grinding is complete, turn disposer off and run water for a few seconds to flush drain line.
- Strainer basket and plug also acts as a stopper in the lower position. (See Figure 12.3)
OPERATING INSTRUCTIONS
(MODELS 56, 46)
- Remove stopper from sink opening and run cold water.
- Turn on wall switch or press air switch (see Figure 12.1) to start disposer.
- Slowly insert food waste into disposer and position stopper to minimize possible ejection of material while grinding. (See Figure 12.4)
- After grinding is complete, turn disposer off and run water for a few seconds to flush drain line.
DO…
- First turn on cold water and then turn on the disposer. Continue running cold water for a few seconds after grinding is completed to flush the drain line.
- Grind small amounts of hard material such as bones, fruit pits, and ice. A scouring action is created by the particles inside the grind chamber.
- Grind peelings from citrus fruits to freshen up drain smells.
- Grind food waste with minimum cold water flow of 6 liters per minute.
- Grind common food waste, such as fruits, vegetables, meats, bones, coffee grounds, etc.
- Switch off or unplug the appliance before attempting to free a jammed disposer with the wrenchette.
- Maintain the area around the disposer free of any objects to be sure you have access to the disposer reset button.
DON’T…
- DON’T POUR GREASE, OIL OR FAT DOWN YOUR DISPOSER OR ANY DRAIN. It can build up in pipes and cause drain blockages. Put grease in a jar or can and dispose in the trash.
- DON’T use hot water when grinding food waste. It is OK to drain hot water into the disposer between grinding periods.
- DON’T turn off water or disposer until grinding is completed and only sound of motor and water running is heard.
- DON’T grind fibrous materials like corn husks, artichokes, etc., in any Model 66, 56 or 46 to avoid possible pipe blockage. Also avoid grinding animal skins in these models.
- DON’T grind raw chicken or duck feet in any disposer.
- DON’T grind non-food waste of any kind.
- DON’T use this appliance to dispose of hard materials such as glass and metal.
- DON’T fill disposer with a lot of food waste all at once. Instead, turn the water and disposer on first and then feed the food waste in gradually.
- DON’T waste food. Nearly a quarter of the food we buy is thrown away untouched: salad, bread and cakes and fruit head the list. Three tips to stop waste and save you money: only buy, or cook, the portions you need for the meal; check the fridge and cupboard for food you haven’t eaten – make it your next snack or freeze it; and make sure you leave that food off your next shopping list!
CLEANING DISPOSER
Over time, grease/food particles may accumulate in the grind chamber and baffle, causing an unpleasant odor. To clean the disposer:
- Turn off disposer and disconnect power supply.
- Reach through sink opening and clean underside of splash baffle and inside upper lip of grind chamber with scouring pad.
- Place stopper in sink opening and fill sink halfway with warm water.
- Mix 60 ml baking soda with water. Turn disposer on and remove stopper from sink at same time to wash away loose particles.
RELEASING DISPOSER JAM
If the motor stops while the disposer is operating, the disposer may be jammed.
To release jam:
- Turn disposer power and water off.
- Insert one end of the self-service wrenchette into the center hole on the underside of the disposer (see Figure 12.5). Work the wrenchette back and forth until it turns one full revolution. Remove wrenchette.
- Reach into the disposer with tongs and remove object(s). Allow the disposer motor to cool for 3 – 5 minutes and lightly push red reset button on the underside of the disposer (see Figure 12.6). (If the motor remains inoperative, check the service panel for tripped circuit breakers or blown fuses.)
IN-HOME FULL SERVICE GUARANTEE
Warranty is determined by the unit serial number and the date of installation.
Purchase or installation receipt may be required to verify warranty status.
Evolution 200-3B: 6 years
Model 66-3, -10: 4 years
Model 46-3, -10: 2 years
Evolution 100-3B: 5 years
Model 56-3, -10: 3 years
SERVICE
If service is required, contact an InSinkErator Authorized Service Center or your dealer. Guarantees are void if you remove your disposer after installation and attempt to repair it, or if the disposer is used for commercial purposes.
Read More About This Manual & Download PDF:


















