INSTRUCTION MANUAL
Infrared Temperature Sensor
RD-715-HA
RD-715-HA Infrared Temperature Sensor
Preface
Thank you for purchasing our Infrared Temperature Sensor RD-715-HA. This manual contains instructions for mounting, functions, operations, and notes when operating the RD-715-HA. To ensure safe and correct use, thoroughly read and understand this manual before using this sensor. To prevent accidents arising from the misuse of this sensor, please ensure the operator receives this manual.
Caution
- This sensor should be used in accordance with the specifications described in the manual. If it is not used according to the specifications, it may malfunction or cause a fire.
- Be sure to follow all of the warnings, cautions, and notices. If they are not observed, serious injury or malfunction may occur.
- The contents of this instruction manual are subject to change without notice.
- Care has been taken to ensure that the contents of this instruction manual are correct, but if there are any doubts, mistakes or questions, please inform our sales department.
- This instrument is designed to be used in close proximity to the target object. Measures must be taken to ensure that the operator cannot touch power terminals or other high-voltage sections.
- Any unauthorized transfer or copying of this document, in part or in whole, is prohibited.
- Shinko Technos Co., Ltd. is not liable for any damage or secondary damage(s) incurred as a result of using this product, including any indirect damage.
Safety Precautions (Be sure to read these precautions before using our products.)
The safety precautions are classified into categories: “Warning” and “Caution”. Depending on the circumstances, procedures indicated by
Caution may result in serious consequences, so be sure to follow the directions for usage.
Warning Procedures that may lead to dangerous conditions and cause death or serious injury, if not carried out properly.
Caution Procedures that may lead to dangerous conditions and cause superficial to medium injury or physical damage or may degrade or damage the product, if not carried out properly.
Warning
- To prevent an electrical shock or fire, only Shinko or other qualified service personnel may handle the inner assembly.
- To prevent an electrical shock, fire or damage to the instrument, parts replacement may only be undertaken by Shinko or other qualified service personnel.
Safety Precautions
- To ensure safe and correct use, thoroughly read and understand this manual before using this instrument
- This instrument is intended to be used for industrial machinery, machine tools, and measuring equipment. Verify correct usage after purpose-of-use consultation with our agency or main office. (Never use this instrument for medical purposes with which human lives are involved.)
- External protection devices such as protective equipment against excessive temperature rise, etc. must be installed, as a malfunction of this product could result in serious damage to the system or injury to personnel. Proper periodic maintenance is also required.
- This instrument must be used under the conditions and environment described in this manual. Shinko Technos Co., Ltd. does not accept liability for any injury, loss of life, or damage occurring due to the instrument being used under conditions not otherwise stated in this manual.
Caution with Respect to Export Trade Control Ordinance
To avoid this instrument from being used as a component in, or as being utilized in the manufacture of weapons of mass destruction (i.e. military applications, military equipment, etc.), please investigate the end users and the final use of this instrument. In the case of resale, ensure that this instrument is not illegally exported.
Model
1.1 Model
| R D – 7 | – | |||
| Field of View | 15 | 15:1 | ||
| Temperature Range | H | 0 to 500 | ||
| Output | A | Direct current: 4 to 20 mA DC (2-wire type) | ||
1.2 How to Read the Model Label
The model label is attached to the surface of the electronics (Status indicator side).
Lot No. the label is attached to the reverse side of the electronics.
| Electronics surface (Status indicator side) | Electronics reverse side |
Target Objects
- Non-problematic objects
Food, paper, plastics, cloth, leather, cigarettes, medicine, chemicals, rubber, asphalt, coal, etc. - Difficult objects
Plated lustrous metals, uncoated or unpainted metals, etc. - Slightly problematic objects
Low lustrous metals, thin transparent plastics, etc.
If the measurement is difficult, black body tape can be used to raise emissivity.
Installation
Ensure the installation location corresponds to the following conditions.
- The sensing head should be kept as close as possible to the object.
- The ambient temperature of the sensing head should not exceed 120 (248 ).
- The ambient temperature of the electronics should not exceed 80 (176 ).
- The sensor lens should be protected from being covered with powder, dust, etc.
- Use an air purge collar (ASAP, sold separately) when using this sensor in a place where a lot of fumes, dust, or moisture is present. (Airflow: 2 to 10 liter/sec)
- Install this sensor away from electrical noise, motors, or generators.
For the mounting method of the mounting bracket (TFB, sold separately), see pages 3, and 4.
For the mounting method of the Air purge collar (ASAP, sold separately), see pages 4, and 5.
3.1 Target Spot Size versus Distance from Sensing Head
(Fig. 3.1-1) shows the relationship between the target spot size and distance from the sensing head.
(Fig. 3.1-1 is not to scale.)
Take these values into consideration when installing the sensor.
Field of view D:S = 15:1

3.2 Mounting
There are 3 methods for mounting the sensing head.
- Direct mounting
- Mounting when the mounting bracket (TFB, sold separately) is used
- Mounting when the air purge collar (ASAP, sold separately) is used
3.2.1 Direct Mounting
The sensing head is threaded (M12 x 1) for direct mounting. Sensing head dimensions (Scale: mm)

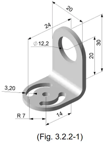
3.2.2 Mounting When the Mounting Bracket (TFB, sold separately) is Used
If the mounting bracket is used, the sensing head can be easily adjusted.
Mounting bracket (TFB) dimensions (Scale: mm)

The mounting procedures are shown below.
- Fix the mounting bracket at the desired site using a screw (M3 size – not included).
- Remove the hexagonal nut (SW 14) from the sensing head, and pass the sensing head through the mounting bracket. Secure it using the hexagonal nut.

3.2.3 Mounting When the Air Purge Collar (ASAP, sold separately) is Used
The air purge collar is used to suppress rises in temperature of the sensing head, and to keep fumes, dust, gases, and other contaminants away from the lens. The mounting bracket (TFB, sold separately) is also necessary.
- Airflow: 2 to 10 liters/minute
- Use clean, oil-free compressed air.

Air purge collar (ASAP) dimensions (Scale: mm)

Mounting procedures are shown below.
- Remove the hexagonal nut, and install the air purge collar.

- Fix the mounting bracket (TFB) at the desired site using a screw (M3 size – not included).
- Pass the air purge collar through the mounting bracket, and secure it using the hexagonal nut.

- Attach the tube and air pump to the air purge collar.
Refer to the tube size and air pump specifications recommended below.
Recommended tube size: Inside diameter: 4 mm; Outside diameter: 6 mm
Recommended air pump: The air pump should fit tube size and deliver a discharge air flow rate corresponding to the air purge collar (2 to 10 liters/minute).
Wiring
Warning
Turn OFF the power supply to the indicator/controller before wiring.
Working on or touching the terminal with the power switched ON may result in severe injury or death due to electrical shock.
Caution
When using the sensor in an environment where electrical noise is present, use a shielded wire, and connect it to the ground terminal of the indicator/controller. If the indicator/controller does not have a ground terminal, connect to the ground terminal of the control panel.
4.1 Wiring Example
The wiring example for the RD-715-HA, power supply (RDP-24), and digital indicating controller (ACS-13A-
/A) is shown below.

White: Power supply Loop current (+ side)
Brown: Power supply Loop current (- side)
Black: Shielded wire
Green: Not used (Do not connect anything.)
Yellow: Not used (Do not connect anything.)
- Emissivity can be set on the ACS-13A- /A Digital Indicating Controller.
For details, refer to the Instruction Manual for the ACS-13A- /A. - If a fixed emissivity of 0.950 is used, any indicator/controller can be used.
(Fig. 4.1-1)
Measurement
Attention
- If the ambient temperature is rapidly changing, leave the sensor for more than 20 minutes as it is, then measures the temperature.
- Do not measure temperature near a large magnetic field (example: Arc welding machine, induction heater, etc.). Measurement errors will be caused due to electromagnetic disturbance.
After completing the installation for the target object and wiring, start operation following the procedures below.
- Turn the power to the sensor ON (RDP-24).
- Turn ON the power to the indicator/controller (ACS-13A- /A).
- Measure the temperature.
Status indicator of the electronics
The status indicator flashes as follows depending on sensor status.
| Sensor Status | Indication of Status Indicator | |
| Normal | Flashes irregularly. (lit – short, unlit – long) |
|
| Sensing head high temperature (*1) | Flashes regularly. | |
| Out of measurement range (*2) | Flashes regularly. (lit and unlit – longer) | |
| Sensing head error | Flashes irregularly. (lit – long, unlit – short) |
(*1) When sensing head ambient temperature is 120 or higher.
(*2) -40C° or lower, or 1030 or higher
Specifications
6.1 Name, Model
| Name | Infrared temperature sensor |
| Model | RD-715-HA |
6.2 Rating
| Temperature Range | 0 to 500 |
| Power Supply | 2-wire type, 5 to 30 V DC,4 to 20 mA External shunt resistor: Max.1000 |
6.3 General Structure
| External Dimensions | Sensing head: 14 x 31 mm (diameter x length), M12 x 1 Electronics: 35 x 12 mm |
| Mounting | Fixed using a mounting bracket (The mounting bracket is sold separately.) |
| Material | Sensing head: Stainless steel The cable between sensing head and electronics: FEP, Cable diameter: 2.8 mm Cable between electronics and cable end: PVC, Cable diameter: 4.3 mm |
| Drip-proof/Dust-proof | IP65 |
| Cable Length | 6 m (Between sensing head and electronics: 3 m Between electronics and cable end: 3 m) |
6.4 Performance
| System Accuracy (*1) | 1% of temperature span |
| Spectral Range | 8 to 14 m |
| Field of View | 15:1 |
| Repeatability (*1) | 0.75% of temperature span |
| Temperature Coefficient (*2) | 0.05 %/ |
| Temperature Resolution | 0.1 |
| Response Time | 14 ms (90% response) |
| Warm-up Time | 10 minutes |
| Emissivity | Fixed at 0.950 0.200 to 1.000 [When digital indicating controller (ACS-13A- /A, sold separately) is used] |
| Transmissivity | Fixed at 1.000 |
(*1) Ambient temperature: 23 5
(*2) Ambient temperature (sensing head) is lower than 18 and higher than 28.
6.5 Output
| Analog Output | Direct current 4 to 20 mA DC Load impedance (loop impedance): 1000 or less |
6.6 Other
| Ambient Temperature | Sensing head: -20 to 120 Electronics: -20 to 80 |
| Storage Temperature | -40 to 85 |
| Ambient Humidity | 10 to 95 %RH (non-condensing) |
| Vibration | IEC 68-2-6: 3 G, 11-200 Hz, x,y,z directional |
| Shock | IEC 68-2-27: 50 G, 11 ms, x,y,z directional |
| Weight | 152 g |
| Accessories Included | Instruction manual: 1 copy, Nut: 1 piece |
| Accessories Sold Separately | • Mounting bracket (TFB) • Air purge collar (ASAP • Digital indicating controller (ACS-13A- • Power supply for the RD (RDP-24) ![]() |
| Safety Standards | RoHS directive compliant CE marking compliant |
External Dimensions (Scale: mm)

Cable end
Troubleshooting
If problems arise, please check the following content.
| Problem | Possible Cause and Solution |
| No output | • No power. Ensure that the power is being supplied properly. |
| Abnormal temperature | • Wiring may be incorrect. Check the wiring. • Sensor may be disconnected or burnt out. Check if the sensor is conducting properly. • Sensor lens may be dirty. Remove any dirt on the lens. Always keep the lens clean. Foreign particles on the lens affect measurement accuracy. |
***** Inquiries *****
For any inquiries about this unit, please contact our agency or the vendor where you purchased the unit after checking the model and lot number.
- Model: RD-715-HA
- Lot No.: 072013
In addition to the above, please let us know the details of the malfunction, or discrepancy, and the operating conditions.
SHINKO TECHNOS CO., LTD.
OVERSEAS DIVISION
Head Office: 2-5-1, Senbahigashi, Minoo, Osaka, 562-0035, Japan
[URL] https://shinko-technos.co.jp/e/
Tel: +81-72-727-6100
[E-mail] [email protected]
Fax: +81-72-727-7006




• Digital indicating controller (ACS-13A- 



















