CLIPPER CREEK CS 3-Phase Amp EV Charging Station
IMPORTANT SAFETY INSTRUCTIONS
Carefully read these instructions and the charging instructions in the vehicle owner’s handbook before charging the electric vehicle.
The following symbols may be found in this manual or on labels affixed to the EVSE:
This means pay particular attention. Notes contain helpful suggestions.
CAUTION: This symbol means be careful. There is potential of doing something that might result in damage to the equipment.
WARNING: This symbol means danger. This is a situation that could cause bodily injury. Before working on any electrical equipment, be aware of the hazards involved with electrical circuitry and standard practices for preventing accidents.
ClipperCreek Electric Vehicle Supply Equipment (EVSE) is designed with the safety concerns of the end user as an utmost priority; however, the following safety precautions must be read and followed:
Safety Guidelines
- Use this EVSE to charge electric vehicles equipped with a conductive charge port only. See the vehicle’s owner’s handbook to determine if the vehicle is equipped with a conductive charge port.
- Make certain the EVSEs supply cable is positioned so it will not be stepped on, tripped over, or otherwise subjected to damage or stress.
- There are no user-serviceable parts inside. Refer to the Customer Support section in this manual for service information. Do not attempt to repair or service the EVSE yourself.
- Do not operate the EVSE with a visibly damaged supply cable or EVSE. Refer to the Customer Support section
in this manual for information on contacting a Service Representative.
WARNING: Turn off input power to the EVSE at the circuit breaker panel before servicing or cleaning the unit.
FCC INFORMATION
This device complies with Part 15 of the FCC rules. Operation
is subject to the following two conditions: (1) This device may not cause harmful interference, and (2) This device must accept any interference received, including interference that may cause undesired operation.
This product has been designed to protect against Radio Frequency Interference (RFI). However, there are some instances where high powered radio signals or nearby RF-producing equipment (such as digital phones, RF communications equipment, etc.) could affect operation.
If interference with the EVSE is suspected, we suggest the following steps be taken before consulting a ClipperCreek Sales and Service Representative for assistance:
- Reorient or relocate nearby electrical appliances or equipment during charging.
- Turn off nearby electrical appliances or equipment during charging.
CAUTION: Changes or modifications to this product by other than an authorized service facility may void FCC compliance.
OPERATION
The CS 3-Phase EVSE is a conductive EVSE that provides the Electric Vehicle (EV) user with a safe and manageable link between the power grid and the electric vehicle.
Figure 1. The CS 3-Phase Front Panel
Remove the charging connector from its holder and plug it into the vehicle’s charge port. If there is a mechanical latch that holds the connector firmly while charging, be sure the latch has “clicked” into place. Normally, the vehicle will immediately request a charge, the green CHARGING light will turn on, and charging will begin. Charging overnight is the most convenient way to ensure the vehicle’s full range will be available for the next day.
If the vehicle has stopped charging, the green “Charging” light will turn off. Remove the cable and the vehicle is ready to use. If the charging is still in progress, first push the button on the CS 3-Phase front panel. The charging light will start blinking. Now remove the connector.
Front Panel
The front panel has one GREEN and one RED light to indicate the status of the CS 3-Phase. Please refer to Table 1 to check the status of the EVSE.
Table 1. Front Panel Indicators
In Case of Difficulty
ClipperCreek recognizes that this EVSE will be heavily relied upon to charge the electric vehicle for daily transportation needs. Therefore, every effort will be made to restore service should problems arise.
In the event of a problem, charging will stop and the Red PROTECTION light will turn on. If this happens, please try the two simple steps below before calling a Service Representative.
- Remove the connector from the vehicle socket. The Red PROTECTION light may turn off. If it does turn off, plug the connector back into the vehicle socket, and verify that charging begins normally.
- If the Red PROTECTION light does not turn off when the connector is removed, be sure the connector is removed from the vehicle socket and switch off power at the circuit breaker to the CS 3-Phase. Wait a few seconds and switch the circuit breaker back on. Reconnect the cable to the vehicle. Charging should begin normally.
If charging does not begin, or if the Red PROTECTION light turns on, call a Service Representative at 1-877-694-4194. The information gained by the above steps will help the Service Representative diagnose the problem and get the CS 3-Phase operational again as quickly as possible.
FEATURES
The following features are supported by the CS 3-Phase:
Personal Protection System: Ground Fault protection with Self-Testing and Auto-Reclosure, no manual resetting or testing is necessary.
Ground Monitoring Circuit: Continuously checks for the presence of a Safety Ground connection.
Auto-Reclosure: If a problem occurs that interrupts charging, the unit will automatically clear all error indications after 5 minutes, and attempt to begin charging again. This feature helps ensure that the vehicle will be charged and ready for use when needed. If the problem is immediately sensed a second time, the unit will wait another 5 minutes and try again. This process will repeat several times, at which point power will be removed and no further attempt will be made. The Red PROTECTION light on the front panel will turn on. Temporary problem indications such as ground-faults or utility power surges can be overcome automatically without the need for the user to manually re-initiate charging.
Off-Peak Charging: For this feature, an external timer needs to be installed (purchased separately). The local utility may install a special Time of Use meter. Many utilities plan to give very low rates to those EV owners who charge in the late evening. If a timer is installed, it is unnecessary to wait until the late evening to plug the CS 3-Phase’s connector into the vehicle. Even though the vehicle may immediately request a charge, the timer will cause the CS 3-Phase to delay energizing the cable until the off-peak hours when most electric utilities have light demand. With this feature, the Green CHARGING light will blink while the vehicle is waiting for the timer to allow charging. If this feature is desired, please call the local utility to be sure the Time of Use meter is available before having the timer installed. Technical information to help connect the timer to the CS 3-Phase can be found in the section titled Load Management Inputs on page 19 in this manual.
Cold Load Pickup: This feature is built-in to the CS 3-Phase, but will only be apparent when the utility power fails during charging. If the charging connector is still plugged into the vehicle when utility power is restored, the Green CHARGING light will blink and the unit will not energize the cable for a random time between 2 and 12 minutes. This is to prevent the utility’s grid from experiencing a large surge at turn-on, allowing EV’s in the area to begin drawing current at random times rather than all at once.
NOTE: The vehicle does not require the operator’s attention after a power outage. The CS 3-Phase will automatically resume charging when power is restored.
External Error Indication: Whenever the Red PROTECTION light turns on, a relay on the board will provide a contact closure that can be used to remotely indicate that a problem exists. A fleet vehicle yard, for example, could use this feature to light a lamp or ring a bell in the main office, indicating that a vehicle has a charging problem. This early warning helps assure that each vehicle will be properly charged and ready for use when needed.
Maintenance Current: If the unit is set up for Off-Peak Charging as described above, normal charging current cannot be drawn by the vehicle until the Off-Peak hours. However, the CS 3-Phase can be set up to allow a minimum amount of current while waiting for the timer to allow full-rate charging. This is known as Maintenance Current, used for all power needs on the vehicle except charging the main battery pack. An example would be preheating the cab, or keeping the auxiliary battery topped off. As in the Off-Peak mode above, the Green CHARGING light will flash if the vehicle is connected and waiting for the timer to allow charging. The contactor will close immediately to supply this small amount of power, but the main battery pack will not be allowed to charge.
The Maintenance Current feature can be selected by connecting the Timer’s control wire to the High/Low Pin on the 4-terminal Terminal Block.
Connecting to the High/Off Pin will remove all power from the vehicle until the Off-Peak Charging time arrives. The correct Pin can be identified using the wiring diagram for the CS 3-Phase on page 17 of this manual. The other two pins on the terminal block are the relay contacts for the External Indicator.
In summary, making the best use of the Maintenance Current feature will require the following:
- Installation of a Time-Of-Use meter by the electric utility.
- Installation of a clock/timer to allow the CS 3-Phase to charge only during Off-Peak hours.
- Connecting the timer’s control wire to the High/Low Pin on the Terminal Block.
MOUNTING PROCEDURES
- Remove the applicable knock-out in the CS EVSE, The power leads may have to be pushed through the hole to accurately position the EVSE.
- Locate the wall mounting position of the CS EVSE:
- Position the bottom of the charge station 38 inches above the ground.
- The mounting holes are spaced 16” apart to accommodate wall studs.
- If you do not have solid structural framing on those centers, you must provide an adequate alternative mounting surface for the EVSE.
Figure 2. CS 3-Phase Installation Template
- Attach the charge station to the wall studs using (4) ¼ x 2 ½” lag screws.
- Use a multi-set or equivalent if mounting on a concrete wall.
- After mounting, continue the installation using the Service Wiring Instructions beginning on Page 14.
Figure 3. Wall Mounting of CS 3-Phase
INSTALLATION – SERVICE WIRING
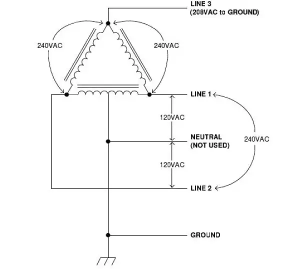
Delta Service Connections
NOTE: Motiv drivetrain vehicles cannot use a Delta Service Connection.
This EVSE is configured for use with 3-phase AC power. Either Delta or Wye service connections can be used in most cases; the exception is that Motiv drivetrain vehicles will have to use a WYE supply transformer. Delta-feed service connections to the EVSE must be made in a specific manner, adhering to the following requirements:
- One winding MUST BE CENTER TAPPED. This center tap must be connected to EARTH GROUND at some point in the system.
- LINE 1 and LINE 2 must be drawn from the phases at each end of the center-tapped winding. This provides 120VAC to EARTH GROUND for both LINE 1 and
LINE 2. - LINE 3 is drawn from the 208VAC “Stinger” phase. See Figure 4.
Figure 4. Delta Service Connections (Motiv drivetrain vehicles cannot use a Delta Service Connection)
Wye Service Connections
NOTE: Motiv drivetrain vehicles must use a Wye Service Connection.
Wye transformer service connections require that the NEUTRAL leg be connected to EARTH GROUND somewhere in the system. The LINE 1, LINE 2, and LINE 3 phases should all measure 120VAC with respect to EARTH GROUND. See Figure 5.
Figure 5. Wye Service Connections (Motiv drivetrain vehicles must use a Wye Service Connection)
To open the enclosure, perform the following:
- Unfasten the two (2) machine screws on the left edge of the enclosure lid.
- Unlatch the hidden latch located underneath the enclosure inside of the connector compartment.
Figure 6. Front Door Hidden Latch
NOTE: A T15 or T20 Torx driver is needed to open the door.
Service Connections
Figure 7. Service Cable Wiring Diagram for 3-Phase AC Charging
- The GROUND conductor should connect to the Service Ground terminal lug located at the bottom left corner of the chassis.
- The LINE 1 120VAC conductor should connect to the left-most contactor input terminal labeled “2T1.”
- The LINE 3 120V AC or 208V AC “Stinger” conductor should connect to the central contactor input terminal labeled “4T2.”
- The LINE 2 120VAC conductor should connect to the right-most contactor input terminal labeled “6T3.”
- The CS 3-Phase requires a dedicated 208/240V AC 50/60Hz, three-phase circuit, with its own dedicated three-phase circuit breaker.
- Do not use a GFCI breaker with the CS 3-Phase. The CS-3 Phase contains a Personnel Protection circuit that is the equivalent and specifically designed for use with electric vehicles.
- Only four wires are needed to wire the CS 3-Phase (Line 1, Line 2, Line 3, and Service Ground), as shown in Figure 7. Wire the unit from the breaker panel using wire sized according to local electrical codes. The circuit breaker should be rated to the appropriate size for the current draw. Derating a three phase breaker 20% for continuous duty allows for 80% of continuous current. For example, derating an 80A three phase breaker 20%for continuous duty allows 64A of continuous current.
- The three phases (Line 1, Line 2, & Line 3) are terminated on the input side of the contactor itself, as shown in Figure 7. The Service Ground is terminated on the Ground Terminal at the bottom of the inner chassis.
- Be careful not to damage the PC Board when removing the power-entry knockout, attaching the conduit, or when wiring the service conductors to the contactor.
Testing After Installation
- Apply utility power, and observe that only the Diagnostic LED flashes on the circuit board. If it does not flash, the board may be defective.
- The Charge Test buttons on the PC board simulate connection to a vehicle. Push and hold the two Charge Test buttons at the same time. The contactor should close, and the large Green CHARGING light should turn on.
- If a vehicle is available, connect the CS 3-Phase to the vehicle and verify that the contactor closes and the Green CHARGING light turns on.
OPTIONAL SERVICE CONNECTIONS
Load Management Inputs:
If the unit has been configured for Off-Peak Charging, the Green CHARGING light may blink after plugging the cable in, and the contactor may not close. This means that a timer, or other device, has been connected to the Load Management input, and charging will not occur until a specified time, possibly later in the evening when electrical rates are better. To override this feature and begin charging immediately, push the Start/Stop button.
Pressing the Start/Stop button will alternately Stop and Re-Start charging. The button will not initiate charging unless the cable is connected, and the vehicle requests a charge.
There are two Load Management inputs, labeled High/Low and High/Off, on a terminal block as shown in Figure 8 below. Grounding High/Off will completely inhibit charging until it is released. Grounding High/Low will tell the CS 3-Phase to send a signal to the vehicle instructing it not to charge, but instead to draw only a minimum amount of current for auxiliary uses such as cooling down the battery pack, or pre-heating the cab in the early morning.
Figure 8. Four-Position Terminal Block
Relay Output:
The two terminals labeled Relay 1 & 2 are dry contacts that are normally open. If the Protection light comes on, or if other internal problem is sensed by the CS 3-Phase’s computer, these contacts will close. This can be used to power a remote indicator to warn the user that a problem exists, giving them the opportunity to correct the problem and help ensure the vehicle will be charged when needed.
FOR THE SERVICE T$ECHNICIAN
There are four small LEDs on the PC board to help diagnose problems:
Diagnostic: This is the “heartbeat” of the system. When only this LED is slowly flashing, the system has not detected any failures. If it is on but not flashing, the board is defective. If the LED is not slowly flashing, either no power is applied or the board is defective.
To test the system, press and hold the two Charge Test buttons simultaneously. If the contactor closes, the CS 3-Phase is operating normally. If a vehicle is available, connect the charging cable. The contactor should close. If not, the charging cable or vehicle socket may be defective, or the vehicle is not requesting a charge.
If the CS 3-Phase detects an internal failure, the Diagnostic LED will blink at a faster rate. One of the other LEDs may also turn on and indicate the nature of the problem, such as an inoperative Ground Fault circuitry, or a missing Service Ground.
Load Management Disable: Turns on, in conjunction with a slow-blinking Diagnostic LED, when either the Cold Load Pickup or External Timer mode are active. This is not a failure mode, merely a status indicator. The front panel green Charge LED will blink. The CS 3-Phase’s cable must be connected to a vehicle for this LED to blink. The front panel light will be off when the cable is not connected.
GFCI Trip: Turns on when the unit has detected a ground fault. When a fault has occurred, the contactor will open, the front panel Red PROTECTION light will also turn on, and the Diagnostic LED will be flashing at a faster rate. The system waits 5 minutes after sensing a fault, then automatically attempts recovery. After several such attempts, it will stay in the Protection mode.
If a ground fault error or an EV connection error has been detected:
- Remove the EV connector from the vehicle.
- Inspect the connector and the vehicle charge port. Be sure they are clean and undamaged.
- Reconnect to the vehicle. If the fault condition persists, a problem may exist on the vehicle.
- Refer to the vehicle owner’s manual for instructions on inspecting and cleaning the charge port.
- Plug the EV connector back into the vehicle.
- If the ground fault error is still detected, contact a Customer Service Representative for assistance.
Ground Missing: Turns on when the unit has detected a missing Service Ground. CS 3-Phase will not close the contactor until a proper Service Ground has been connected. The front panel Red PROTECTION light will turn on, and the Diagnostic LED will flash at a faster rate.
NOTE If a missing ground is discovered, power should be turned off before re-connecting the ground. If ground is reconnected without turning off the power, it will be necessary to wait 5 minutes for the CS 3-Phase to clear the Ground Missing error. Table 2 below illustrates the information that can be obtained from the 4 LEDs on the PC board.
Table 2. PC Board Diagnostics LEDs
Note: A (–) symbol indicates the LED is off.
Figure 9. Vehicle Cable Wiring Diagram for 3-Phase AC Charging
Cable Changes or Replacement:
- When connecting the output cable, verify that both of the 120V AC (LINE 1 and LINE 2) conductors and the LINE 3 conductor all pass through the CCID sense coil, as shown in Figure 9.
- The GROUND conductor should go to the Vehicle Ground terminal lug located near the rear wall of the chassis, and should NOT pass through the CCID coil.
- Connect the PILOT line to the small gauge blue Anderson connector. The pilot line must not pass through the CCID sense coil.
When the conductors are connected, the circuit breaker can be turned on to power the unit. When power is first applied, the unit will go through an initial self-testing sequence when it will check the CCID, Ground Monitor, and other internal circuitry. The Diagnostic LED in the lower left corner of the board will then blink. The unit is ready for use. Plugging the vehicle charging connector into a vehicle should initiate a sequence that will close the contactor, and charging will begin. The unit may be tested without plugging it into a vehicle. Simply press and hold the CHARGE TEST buttons simultaneously and measure the charging connector output with a DVM.
MAINTENANCE
The CS 3-Phase requires no periodic maintenance other than occasional cleaning.
WARNING: To reduce the risk of electrical shock or equipment damage, do not allow liquid to enter unit while cleaning it.
- Turn off the EVSE at the circuit breaker before cleaning.
- Clean the EVSE using a soft cloth lightly moistened with a mild detergent solution. Never use any type of abrasive pad, scouring powder, or flammable solvents such as alcohol or benzene.
CUSTOMER SUPPORT
Call a ClipperCreek Service Representative at any time, 24 hours a day, at the number below. PLEASE HAVE THE MODEL NUMBER AND SERIAL NUMBER AVAILABLE WHEN CALLING. This information is printed on the label on the side of the enclosure. If a call is made after business hours or on weekends, please leave a name, telephone number, the unit serial number, and a brief description of the problem. A Service Representative will call back at the earliest opportunity.
TO CONTACT CLIPPERCREEK DIRECTLY FOR SERVICE, CALL (877) 694-4194 MONDAY THROUGH FRIDAY BETWEEN 8:00AM AND 5:00PM PACIFIC TIME.
SPECIFICATIONS FOR CS 3-PHASE
Line Input Power – Service Entrance
Voltage & Wiring: 208V AC 3-phase, Wye-Connected – Use all three phases and Safety Ground.
240V AC 3-phase, Delta-Connected – With a center tap on one leg, contactor L1 and L2, the “Stinger” must connect to the contactor center position. L1 and L2 must measure 120V AC to the ground; the “Stinger” must measure 208V AC to ground.
Voltage Range: 185V AC to 264V AC
Frequency: 50/60 Hz
CCID: 20mA
Current and Output Power: at 240V
Dimensions:
- Height 304 mm (12in)
- Width 457 mm (18in)
- Depth 203 mm (8in)
- Color: Gray
- Cable Length: approximately 7.6mm (25ft)
- Weight (without cable) 16.5 kg (36 lbs)
Environment
Operating Temp. -30°C (-22°F) to +40°C (+104°F)
NEMA Rating: NEMA 4 – outdoor use, watertight
Timer Connection: Ground to disable charging, leave open to charge. 12 volts with 1K source resistance when open circuit, 12mA sink current when grounded.
Error Relay Contacts: Dry contact, 24V AC/DC max, 5A current max, closed if error present.
Agency Approvals: ETL, ETL Listed, FCC Part 15 Class B
LIMITED WARRANTY – ELECTRIC VEHICLE SUPPLY
EQUIPMENT and ACCESSORIES
Enphase Energy, Inc. through its ClipperCreek division
11850 Kemper Road
Auburn, California 95603
Phone: 877-694-4194
Email: [email protected]
Subject to the terms and conditions below, Enphase Energy, Inc. (“Enphase”) provides the following limited warranty to the original purchaser of the products (“Covered Owner” or “you”):
Product 1-year parts, 1-year factory labor:
Subject to the terms and conditions below, Enphase warrants the product to be free from defects in material and workmanship for a period of 1 year commencing on the date of installation (first use) (the “Warranty Period”). Except where prohibited by applicable law, the product installation date must be evidenced and communicated to Enphase by way of the product registration card (or its equivalent). The product registration card must be filled out completely and accurately and returned to Enphase within 30 days after installation, and the product installation date shall be within 6 months after the purchase date. If a Product installation date is not communicated to Enphase as described above, the product purchase date indicated in the Covered Owner’s proof of purchase for the product shall serve as the start date of the Warranty Period.
If Enphase confirms the existence of a defect that is covered by this Limited Warranty, Enphase will, at its option, repair or replace the product, or refund the actual purchase price for the product less reasonable depreciation based on use at the time that Enphase is notified of the defect. Enphase will not elect to issue a refund unless (i) Enphase is unable to provide a replacement and repair is not commercially practicable or cannot be timely made, or (ii) the Covered Owner is willing to accept such a refund. If a defect in material or workmanship exists in the product, to the extent permitted by law, these are the sole and exclusive remedies. Repair parts and/or replacement products may be either new or reconditioned at Enphase’s discretion. This limited warranty does not cover defects caused by improper installation or use, including but not limited to improper connections with peripherals, external electrical faults, accident, disaster, misuse, abuse, or modifications to the product not approved in writing by Enphase. Any service repair outside the scope of this limited warranty shall be at applicable rates and terms then in effect. This warranty covers factory parts and factory labor only; it does not cover field service or removal and replacement of the product or any other costs.
All other express and implied warranties for this product including the warranties of merchantability, fitness for a particular purpose, and non-infringement are hereby disclaimed. Some states do not allow the exclusion of implied warranties or limitations on how long an implied warranty lasts, so the above limitation may not apply to you. In no event will Enphase, any of its authorized sales and service representatives, or its parent company be liable to the Covered Owner or any third party for any damages in excess of the purchase price of the product. This limitation applies to damages of any kind including any direct or indirect damages, lost profits, lost saving or other special, incidental, exemplary or consequential damages whether for breach of contract, tort or otherwise or whether arising out of the use of or inability to use the product, even if Enphase or an authorized Enphase representative or dealer has been advised of the possibility of such damages or of any claim by any other party. Some states do not allow the exclusion or limitation of incidental damages for some products, so the above limitation or exclusion may not apply to you. This warranty gives you specific legal rights, and you may also have other rights which may vary from state to state.
To obtain warranty service:
Call your nearest authorized Service Representative or the ClipperCreek division of Enphase at the above number. You will receive information as to how service for the product will be provided. If you mail or ship the product in for service, you must ensure the product, prepay all shipping charges, and properly pack it for shipment in its original shipping container or its equivalent. You are responsible for all loss or damage that may occur in transit. You must provide proof of purchase for the product and the purchase date before any warranty service can be performed.
www.clippercreek.com
877-694-4194
IMPORTANT SAFETY INSTRUCTIONS



















