DAEWOO RC45160 Remote Control

Product Information:
The product is a TV with remote control. It has various input sources such as antenna, satellite dish, external devices, aerial/cable TV, and HDMI connection. It requires a 220-240V AC, 50 Hz power supply. The TV can also access the internet through a wired or wireless connection. The remote control has various buttons that allow the user to navigate through menus and control the TV functions.
Product Usage Instructions:
- Insert batteries into the remote control.
- Connect the antenna cable/s to your TV. For other external devices, use the proper cable to connect them to the TV.
- Plug the power cable to the mains socket outlet.
- Switch on the TV using either the power button on the TV or the standby/on button on the remote control.
- If you want to connect to the internet, refer to the full user manual for detailed instructions on how to set up a wired or wireless connection.
- To select an input source, press the source button on the remote control and choose the desired input source from the list.
- Use the directional buttons on the remote control to navigate through menus and setting options.
- To adjust the volume, press the volume +/- button on the remote control.
- To change channels, press the numeric buttons on the remote control.
- To access additional functions such as teletext, electronic programme guide, and media playback controls, use the corresponding buttons on the remote control.
Inserting the batteries into the remote
The remote may have a screw that secures the battery compartment cover onto the remote control (or this may be in a separate bag). Remove the screw, if the cover is screwed on previously. Then remove the battery compartment cover to reveal the battery compartment. Insert two 1.5V – size AAA batteries. Make sure the (+) and (-) signs match (observing correct polarity). Do not mix old and new batteries. Replace only with same or equivalent type. Place the cover back on. Secure the cover again with the screw, if any.
A message will be displayed on the screen when the batteries are low and must be replaced. Note that when the batteries are low, the performance of the remote control may be impaired.
Batteries should not be exposed to excessive heat such as sunshine, fire or the like. -or- Remove the back cover to reveal the battery compartment. You need to do the followings in order to do that:
- Place the tip of a pen or some other pointed object in the hole above the cover and press it down.
- Then press firmly on the cover and slide in the direction of the arrow.
Insert two 1.5V – size AAA batteries. Make sure the (+) and (-) signs match (observe correct polarity). Do not mix old and new batteries. Replace only with same or equivalent type. Place the cover back on.
Connections
Antenna
Connect the antenna cable/s to your TV.
External Devices
- PLEASE ENSURE BOTH UNITS ARE SWITCHED OFF BEFORE CONNECTING
- Use the proper cable to connect two units together.
- To select the desired input source, press the Source button on the remote control.
HDMI connection
rear side or rear-left side of TV
Power
After unpacking, allow the TV set to reach the ambient room temperature before you connect the set to the mains. Plug the power cable to the mains socket outlet.
IMPORTANT: The TV set is designed to operate on a 220-24OV AC, 50 Hz supply.

Switching on the TV
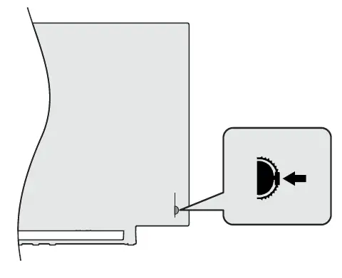
- In order to turn the TV on from standby mode
- Press the Standby button on the remote control
- Press the centre of the control switch inwards, located at the rear left-hand side of the TV
In order to turn the TV on from standby mode:
- Press the Standby button on the remote control
- Press the control button on the TV
Internet connection
You can set up your TV so that it can access the Internet through your local area network (LAN) using a wired or wireless connection. Refer to the full user manual for detailed instructions.
Wired
Wireless
Note: The figures are for representation only
Remote control
RC45160
- 1. Standby: Quick Standby / Standby / On
- Numeric buttons: Switches the channel in Live TV mode, enters a number or a letter in the text box on the screen
- Language: Switches among sound modes (analogue TV), displays and changes audio language (digital TV, where available)
- Volume +
- Microphone: Activates the microphone on the remote
- Home: Opens the Home Screen
- Guide: Displays the electronic program guide in Live TV mode
- OK: Confirms selections, enters to sub-menus, views channel list (in Live TV mode)
- Back/Return: Returns to the previous menu screen, goes one step back, closes open windows, closes teletext (in Live TV-Teletext mode)
- Netflix: Launches the Netflix application
- Prime Video: Launches the Amazon Prime Video application
- Menu: Displays Live TV Settings menu (in Live TV mode), displays available setting options such as sound and picture
- Rewind: Moves frames backward in media such as movies
- Stop: Stops the media being played
- Record: Records programs in Live TV mode(**)
- Colored Buttons: Follow the on-screen instructions for colored button functions
- Pause: Pauses the media being played, and starts timeshift recording in Live TV mode Play: Starts to play selected media
- Text: Opens and closes Teletext (where available in Live TV mode)
- Fast forward: Moves frames forward in media such as movies
- Source: Shows all available broadcast and content sources, closes the Home Screen and switches to last set source, is also used in pairing process of the remote.
- Google Play: Launches the Google Play Store ap- plication
- YouTube: Launches the YouTube application
- Exit: Closes and exits from Live TV Settings menus, closes the Home Screen, exits from any running application or menu or OSD banner, switches to last set source
- Directional buttons: Navigates menus, setting options, moves the focus or cursor etc. and displays the subpages in Live TV-Teletext mode when pressed Right or Left. Follow the on-screen instructions
- Info: Displays information about on-screen content
- Programme +/-: Increases/Decreases channel number in Live TV mode
- Mute: Completely turns off the volume of the TVV
- Subtitles: Turns subtitles on and off (where available) Standby Button Press and hold the Standby button on the remote control. Power off dialogue will appear on the screen. Highlight OK and press the OK button. The TV will switch into standby mode. Press briefly and release to switch the TV into quick standby mode or to switch on the TV when in quick standby or standby mode.
RC43157
- Standby: Quick Standby / Standby / On
- Numeric buttons: Switches the channel in Live TV mode enters a number or a letter in the text box on the screen
- Language: Switches among sound modes (analog TV), displays and changes audio language (digital TV, where available)
- Home: Opens the Home Screen
- Mute: Completely turn off the volume of the TV
- Volume +/-
- Guide: Displays the electronic program guide in Live TV mode
- Directional buttons: Navigate menus, set options, moves the focus or cursor, etc., set the record time, and display the subpages in Live TV-Teletext mode when pressed Right or Left. Follow the on-screen instructions.
- OK: Confirms selections, enters sub-menus, views channel list (in Live TV mode)
- Back/Return: Returns to the previous menu screen, goes one step back, closes open windows, closes Teletext (in Live TV-Teletext mode)
- Netflix: Launches the Netflix application
- Menu: Displays Live TV Settings menu in Live TVmode, displays available setting options such as sound and picture
- Stop: Stops the media being played
- Rewind: Moves frames backward in media such as movies
- Record: Records programs in Live TV mode (**)
- Colored Buttons: Follow the on-screen instructions for colored button functions
- Text: Opens and closes Teletext (where available in Live TV mode)
- Pause: Pauses the media being played, and starts timeshift recording in Live TV mode Play: Starts to play selected media
- Fast forward: Moves frames forward in media such as movies
- MyButton1: Opens the picture mode setting menu on available sources
- YouTube: Launches the YouTube application
- Exit: Closes and exits from displayed Live TVSettings menus, closes running applications and/or the Home Screen and switches to last set source
- Info: Displays information about on-screen content
- Source: Shows all available broadcast and content sources, closes the Home Screen, and switches to the last set source
- Program +/ Increases/Decreases channel number in Live TV mode
- Subtitles: Turns subtitles on and off (where available)
RC45157
- Standby: Quick Standby/ Standby/ On
- Numeric buttons: Switches the channel in Live TV mode, enters a number or a letter in the text box on the screen
- Language: Switches among sound modes (analogue TV), displays and changes audio language (digital TV, where available)
- Mute: Completely turns off the volume of the TV
- Volume +/
- Guide: Displays the electronic program guide in Live TV mode
- Directional buttons: Navigates menus, setting options, moves the focus or cursor, etc. sets record time and displays the subpages in Live TV-Teletext mode when pressed Right or Left. Follow the on- screen instructions.
- OK: Confirms selections, enters sub-menus, views channel list (in Live TV mode)
- Back/Return: Returns to the previous menu screen, goes one step back closes open windows, closes Teletext (in Live TV-Teletext mode)
- Netflix: Launches the Netflix application
- Google Play: Launches the Google Play Store application
- Menu: Displays Live TV Settings menu (in Live TV mode), displays available setting options such as sound and picture
- Rewind: Moves frames backwards in media such as movies
- Stop: Stops the media being played
- Record: Records programmes in Live TV mode()
- Coloured Buttons: Follow the on-screen instructions for coloured button functions
- Pause: Pauses the media being played, starts timeshift recording in Live TV mode Play: Starts to play selected media
- Text: Opens and closes teletext (where available in Live TV mode)
- Fast forward: Moves frames forward in media such as movies
- MyButton1: Opens the picture mode setting menu on available sources
- Prime Video: Launches the Amazon Prime Video application
- YouTube: Launches the YouTube application
- Exit: Closes and exits from Live TV Settings menus,closes the Home Screen, exits from any running application or menu or OSD banner, switches to last set source
- Info: Displays information about on-screen content
- Source: Shows all available broadcast and content sources, closes the Home Screen and switches to last set source
- Programme +/-: Increases/ Decreases channel number in Live TV mode
- Home: Opens the Home Screen
- Subtitles: Turns subtitles on and off (where available)
Initial setup wizard
When turned on for the first time, a search for accessories will be performed before the initial setup starts. Follow the on-screen instructions to pair your remote control (depending on the model of the remote control) and other wireless accessories with your 1TV. To pair your remote press and hold the Source button for about 5 seconds. Press Back/Return to end add accessories and start the setup. After that welcome screen will be displayed. Select your language and press OK. Follow the on-screen instructions to set your TV and install channels. The installation wizard will guide you through the setup process. You can perform the initial setup anytime using the Reset option in the Settings>Device Preferences menu. You can access the Settings menu from the Home Screen or from the TV options menu in Live TV mode.
Accessories Included
- Remote Control
- Batteries: 2 xAAA
- Quick Start Guide
Feature Overview
- Multi Media Player
Browse the media content stored on USB devices that are connected to your TV or on mobile devices that are connected to the same network as your TV using the MMP app - Common Interface
Decode encrypted digital TV channels with a Conditional Access Module(CAM) and a card provided by a digital TV service operator - USB Recording(*)
Record your favourite TV programmes - Electronic Programme Guide
Display the scheduled digital TV programmes - CEC
Control basic functions of the connected HDMI-CECcompatible audio/video devices with the remote control of the TV - HbbTV
Access to HbbTV services (services are dependant on broadcast) - Apps
Access the applications installed on your TV, add more from the market - Google Cast
With the built-in Google Cast technology you can cast the content from your mobile device straight to your TV. - Voice Search (*)
You can start a voice search using your remote’s built-in microphone - Bluetooth°(*)
Connect audio devices or remote controllers wirelessly to your TV.
Limited Models Only
High Dynamic Range (HDR) / Hybrid Log-Gamma (HLG)
Using this feature the TV can reproduce a greater dynamic range of luminosity by capturing and then combining several different exposures. HDR/HLG promises better picture quality thanks to brighter, more realistic highlights, more realistic color, and other improvements. It delivers the look that filmmakers intended to achieve, showing the hidden areas of dark shadows and sunlight with full clarity, color, and detail. HDR/HLG contents are supported via native and market applications, HDMI, USB inputs, and over DVB broadcasts.
Safety Information
CAUTION
RISK OF ELECTRIC SHOCK DO NOT OPEN
CAUTION: TO REDUCE THE RISK OF ELECTRIC SHOCK DO NOT REMOVE THE COVER (OR BACK). NO USER-SERVICEABLE PARTS INSIDE. REFER SERVICING TO QUALIFIED SERVICE PERSONNEL
In extreme weather (storms, lightning) and long inactivity periods (going on holiday) disconnect the TV set from the mains.
The mains plug is used to disconnect the TV set from the mains and therefore it must remain readily operable. If the TV set is not disconnected electrically from the mains, the device will still draw power for all situations even if the TV is in standby mode or switched off.
Note: Follow the on-screen instructions for operating the related features.
IMPORTANT Please read these instructions fully before installing or operating used by persons (including children) who are capable /l experienced of operating such a device unsupervised, unless they have been given supervision or instruction concerning the use of the device by a person responsible for their safety.
WARNING: This device is intended to be Use this TV set at an altitude of less than 5000 meters above the sea level, in dry locations and in regions with moderate or tropical climates.
- The TV set is intended for household and similar indoor use but may also be used in public places.
- For ventilation purposes, leave at least 5cm of free space around the TV.
- The ventilation should not be impeded by covering or blocking the ventilation openings with items, such as newspapers, table-cloths, curtains, etc.
- The power cord plug should be easily accessible. Do not place the TV, furniture, etc. on the power cord.
- A damaged power cord/plug can cause fire or give you an electric shock. Handle the power cord by thee plug, do not unplug the TV by pulling the power cord.
- Never touch the power cord/plug with wet hands as this could cause a short circuit or electric shock.
- Never make a knot in the power cord or tie it with other cords. When damaged it must be replaced, this should only be done by qualified personnel.
- Do not expose the TV to dripping or splashing of liquids and do not place objects filled with liquids, such as vases, cups, etc. on or over the TV (e.g., on shelves above the unit).
- Do not expose the TV to direct sunlight or do not place open flames such as lit candles on the top of or near the TV.
- Do not place any heat sources such as electric heaters, radiators, etc. near the TV set.
- Do not place the TV on the floor and inclined surfaces.
- To avoid the danger of suffocation, keep plastic bags out of the reach of babies, children and domestic animals.
- Carefully attach the stand to the TV. If the stand is provided with screws, tighten the screws firmly to prevent the TV from tilting. Do not over-tighten the news and mount the stand rubbers properly.
- Do not dispose of the batteries in fire or with hazardous or flammable materials.
WARNING
- Batteries must not be exposed to excessive heat such as sunshine, fire or the like.
- Excessive sound pressure from earphones or headphones can cause hearing loss.
ABOVE ALL – NEVER let anyone, especially chil- dren, push or hit the screen, push anything into holes, slots or any other openings in the case
- Caution Serious injury or death risk
- Risk of electric shock Dangerous voltage risk
- Maintenance Important maintenance component
Markings on the Product
The following symbols are used on the product as a marker for restrictions and precautions and safety instructions. Each explanation shall be considered where the product bears related marking only. Note such information for security reasons.
- Class II Equipment: This appliance is designed in such a way that it does not require a safety connection to the electrical earth.
- Hazardous Live Terminal: The marked terminal(s) is/are hazardous life under normal operating conditions.
- Caution, See Operating Instructions: The marked area(s) contain(s) user-replaceable coin or button cell batteries.
- Class 1 Laser Product: This product contains a Class 1 laser source that is safe under reasonably foreseeable conditions of operation.
WARNING
- Do not ingest the battery, Chemical Burn Hazard
- This product or the accessories supplied with the product may contain a coin/button cell battery. If the coin/button cell battery is swallowed, it can cause severe internal burns in just 2 hours and can lead to death.
- Keep new and used batteries away from children.
- If the battery compartment does not close secu- rely, stop using the product and keep it away from children.
- If you think batteries might have been swallowed or placed inside any part of the body, seek imme- diate medical attention.
A television may fall, causing serious personal injury | or death. Many injuries, particularly to children, can be avoided by taking simple precautions such as:
- ALWAYS use cabinets or stands or mounting methods recommended by the manufacturer of the television set.
- ALWAYS use furniture that can safely support the television set.
- ALWAYS ensure the television set is not overhang- ing the edge of the supporting furniture.
- ALWAYS educate children about the dangers of climbing on furniture to reach the television set or its controls.
- ALWAYS route cords and cables connected to your television so they cannot be tripped over, pulled or grabbed.
- NEVER place a television set in an unstable location.
- NEVER place the television set on tall furniture for example, cupboards or bookcases) without anchoring both the furniture and the television set to a suitable support.
- NEVER place the television set on cloth or other materials that may be located between the television set and supporting furniture.
- NEVER place items that might tempt children to climb, such as toys and remote controls, on the top of the television or furniture on which the television is placed.
- The equipment is only suitable for mounting at heights s2 m.
If the existing television set is going to be retained and relocated, the same considerations as above should be applied.
Apparatus connected to the protective earthing of the building installation through the MAINS connection or through other apparatus with a connection to protective earthing – and to a television distribution system using coaxial cable, may in some circumstances create a fire hazard. Connection to a television distribution system has therefore to be provided through a device providing electrical iso- lation below a certain frequency range (galvanic isolator)
Using the special functions to change the size of the displayed image (i.e. changing the height/width ratio) for the purposes of public display or commercial gain may infringe on copyright laws.
The LCD display panels are manufactured using an extremely high level of precision technology; however, sometimes some parts of the screen may be missing picture elements or have luminous spots. This is not a sign of a malfunction.
The set should be operated only from a 220-240 AC 50 Hz outlet. Ensure that the television is not standing on the mains lead. Do not cut off the mains plug from this equipment, this incorporates a special
Radio Interference Filter, the removal of which will impair its performance. It should only be replaced by a correctly rated and approved type. IF IN DOUBT
PLEASE CONSULTACOMPETENT ELECTRICIAN.
WALL MOUNTING WARNINGS
- Read the instructions before mounting your TV on the wall.
- The wall mount kit is optional. You can obtain it from your local dealer, if not supplied with your TV.
- Do not install the TV on a ceiling or on an inclined wall.
- Use the specified wall mounting screws and other accessories.
- Tighten the wall mounting screws firmly to prevent the TV from fall. Do not over-tighten the screws.
Figures and illustrations in this user manual are provided for reference only and may differ from the actual product appearance. Product design and specifications may be changed without notice.
Licenses
The terms HDMI, HDMI High-Definition Multimedia Interface, and the HDMI Logo are trademarks or registered trademarks of HDMI Licensing Administrator, Inc.
HIGH-DEFINITION MULTIMEDIA INTERFACE
Manufactured under license from Dolby Laboratories. Dolby, Dolby Audio, and the double-D symbol are trademarks of Dolby Laboratories Licensing Corporation.
DIDolby Audio
- Google, Android, Android TV, Chromecast, Google Play and YouTube are trademarks of Google LLC.
- The Bluetooth® word mark and logos are registered trademarks owned by the Bluetooth SIG, Inc. and any use of such marks by Vestel Elektronik Sanayi ve Ticaret A.S. is under license. Other trademarks and trade names are those of their respective owners. DVB is a registered trademark of the DVB Project.
- EIA/CEA-861-D compliance covers the transmission of uncompressed digital video with high- bandwidth digital content protection, which is being standardized for reception of high-definition video signals. Because this is an evolving technology, it is possible that some devices may not operate properly with the television.
- This product contains technology subject to certain intellectual property rights of Microsoft. Use or distribution of this technology outside of this product is prohibited without the appropriate license(s) from Microsoft.
- Content owners use Microsoft PlayReady TM content access technology to protect their intellectual property, including copyrighted content. This device uses PlayReady technology to access PlayReady protected content and/or WMDRM-protected content.
- If the device fails to properly enforce restrictions on content usage, content owners may require Microsoft to revoke the device’s ability to consume PlayReady- protected content. Revocation should not affectunprotected content or content protected by other content access technologies. Content owners may require you to upgrade PlayReady to access their content. If you decline an upgrade, you will not be able to access content that requires the upgrade.
- The “CI Plus” Logo is a trademark of Ci Plus LLP
- This product is protected by certain intellectual property rights of Microsoft Corporation. Use or distribution of such technology outside of this product is prohibited without a license from Microsoft or an authorized Microsoft subsidiary.
Wireless LAN Transmitter Specifications
| Frequency Ranges | Max Output Power |
| 2400 – 2483,5 MHz (CH1-CH13) | < 100 mW |
| 5150 – 5250 MHz (CH36 – CH48) | < 200 mW |
| 5250 – 5350 MHz (CH52 – CH64) | < 200 mW |
| 5470 – 5725 MHz (CH100 – CH140) | < 200 mW |
Country Restrictions
This device is intended for home and office use in all EU countries (and other countries following the relevant EU directive) without any limitation except for the countries mentioned below.
| Country | Restriction |
| Bulgaria | General authorization required for outdoor use and public service |
| Italy | If used outside of own premises, general authorization is required |
| Greece | In-door use only for 5470 MHz to 5725 MHz band |
| Luxembourg | General authorization required for network and service supply(not for spectrum) |
| Norway | Radio transmission is prohibited for the geographical area within a radius of 20 km from the centre of Ny-Ålesund |
| Russian Federation | In-door use only |
| Israel | 5 GHz band only for 5180 MHz – 5320 MHz range |
The requirements for any country may change at any time. It’s recommended that user checks with local authorities for the current status of their national regulations for 5 GHz wireless LAN’s.
Disposal Information
European Union
These symbols indicate that the electrical and electronic equipment and the battery with this symbol should not be disposed of as general household waste at its end-of-life. Instead, the products should be handed over to the applicable collection points for the recycling of electrical and electronic equipment as well as batteries for proper treatment, recovery and recycling in accordance with your national legislation and the Directive 2012/19/EU and 2013/56/EU.
By disposing of these products correctly, you will help to conserve natural resources and will help to prevent potential negative effects on the environment and human health which could otherwise be caused by inappropriate waste handling of these products. For more information about collection points and recycling of these products, please contact your local municipal office, your household waste disposal service or the shop where you purchased the product. Penalties may be applicable for incorrect disposal ofthis waste, in accordance with national legislation.
Business users
If you wish to dispose of this product, please contact your supplier and check the terms and conditions of the purchase contract.
Other Countries outside the European Union
- These symbols are only valid in the European Union.
- Contact your local authority to learn about disposal and recycling.
- The product and packaging should be taken to your local collection point for recycling.
- Some collection points accept products free of charge.
Note: The sign Pb below the symbol for batteries indicates that this battery contains lead.- Products
- Battery


















