FORTE LUCCA Under Cabinet Range Hood

WARNINGS
CAUTION: Automatically Operated Device – To Reduce The Risk Of Injury Disconnect From Power Supply Before Servicing.
WARNING: To Reduce The Risk Of Fire Or Electric Shock, Do Not Use This Fan With Any Solid-State Speed Control Device.
PAY ATTENTION TO:
- THE NEED FOR FREQUENT CLEANING OF ALL GREASE FROM THE FAN AND FROM ALL OTHER GREASE-LADEN SURFACES;
- THE NEED FOR FREQUENT REMOVAL AND CLEANING OF ANY FILTER UNIT PROVIDED; AND
- THE NEED TO EXERCISE CARE WHEN USING CLEANING AGENTS OR DETERGENTS
WARNING: To provide protection against electric shock, connect to properly grounded outlets only.
For Residential Use Only
WARNING: GROUNDING INSTRUCTIONS
This appliance must be grounded. In the event of an electrical short circuit, grounding reduces the risk of electric shock by providing an escape wire for the electric current. This appliance is equipped with a cord having a grounding wire with a grounding plug. The plug must be plugged into an outlet that is properly installed and grounded.
WARNING – Improper grounding can result in a risk of electric shock.
Consult a qualified electrician if the grounding instructions are not completely understood, or if doubt exists as to whether the appliance is properly grounded. Do not use an extension cord. If the power supply cord is too short, have a qualified electrician install an outlet near the appliance.
WARNING – TO REDUCE THE RISK OF FIRE, USE ONLY METAL DUCTWORK.
WARNING – TO REDUCE THE RISK OF A RANGE TOP GREASE FIRE:
- Never leave surface units unattended at high settings. Boilovers cause smoking and greasy spillovers that may ignite. Heat oils slowly on low or medium settings.
- Always turn hood ON when cooking at high heat or when flambeing food (i.e. Crepes Suzette, Cherries Jubilee, Peppercorn Beef Flambe’).
- Clean ventilating fans frequently. Grease should not be allowed to accumulate on fan or filter.
- Use proper pan size. Always use cookware appropriate for the size of the surface element.
WARNING – TO REDUCE THE RISK OF INJURY TO PERSONS IN THE EVENT OF A RANGE TOP GREASE FIRE, OBSERVE THE FOLLOWING:
- SMOTHER FLAMES with a close-fitting lid, cookie sheet, or metal tray, then turn off the burner. BE CAREFUL TO PREVENT BURNS. If the flames do not go out immediately, EVACUATE AND CALL THE FIRE DEPARTMENT.
- NEVER PICK UP A FLAMING PAN – You may be burned.
- DO NOT USE WATER, including wet dishcloths or towels – a violent steam explosion will result.
- Use an extinguisher ONLY if:
- You know you have a Class ABC extinguisher, and you already know how to operate it.
- The fire is small and contained in the area where it started.
- The fire department is being called.
- You can fight the fire with your back to an exit.
SUITABLE FOR USE IN A HOUSEHOLD COOKING AREA
CONVIENT À L’EMPLOI DANS UNE ZONE DE CUISSON MÉNAGÈRE
THE MINIMUM DISTANCE BETWEEN THE SUPPORTING SURFACE OF THE COOKING HOB AND THE LOWEST PART OF THE RANGE HOOD MUST BE NOT LESS THAN 26IN (65 CM) WITH A GAS HOB.
WARNING: TO PROVIDE PROTECTION AGAINST ELECTRIC SHOCK, CONNECT TO PROPERLY GROUNDED OUTLETS ONLY AVERTISSEMENT: POUR ASSURER LA PROTECTION CONTRE LES CHOCS ÉLECTRIQUES, BRANCHER SUR UNE PRISE CORRECTEMENT MISE À LA TERRE
WARNING: GROUNDING INSTRUCTIONS
This appliance must be grounded. In the event of an electrical short-circuit, grounding reduces the risk of electric shock by providing an escape wire for the electric current. This appliance is equipped with a cord having a grounding wire with a grounding plug. The plug must be plugged into an outlet that is properly installed and grounded.
WARNING – Improper grounding can result in a risk of electric shock.
Consult a qualified electrician if the grounding instructions are not completely understood, or if doubt exists as to whether the appliance is properly grounded. Do not use an extension cord. If the power supply cord is too short, have a qualified electrician install an outlet near the appliance.
The present instruction manual is an integral part of the appliance itself, therefore it must be carefully kept and ALWAYS accompany it, even in case of its assignment to another owner or user or in case the cooker hood is moved to another installation plant.
Make sure that the voltage (V) and frequency (Hz) indicated on the data plate inside the unit match those available at the installation site. Any eventual adjustment to the electrical system, which may be necessary to install the cooker hood, must be carried out only by competent people.
Any repair carried out by no competent people may cause damages.
For any repair or needed technical action make reference to a Technical Assistance Centre, which is authorized to carry out the replacement of the spare parts. Always make sure that all the electrical parts (lights, exhaustion unit) are disconnected when the appliance is not in use. By storms take off the main switch of the house electrical system or if the device is equipped with a plug, simply unplug it from the mains socket
The using of the cooker hood must not be other than the use of exhausting units for cooking damps on domestic kitchens.
The manufacturer does not accept any liability for damages caused by people, animals or things, by installation and maintenance mistakes or by any illegitimate use.
We remind that the use of products functioning with electrical energy implies the observance of some essential security rules, as follows:
- This equipment is not intended for people (children included) with reduced mental or motor capacities, with lack of experience or knowledge, unless they are supervised or unless a person responsible for their security, gives them instructions regarding the use of the equipment. Children must be supervised in order to be sure that they do not play with the equipment.
- Any cleaning action is forbidden if the appliance hasn’t been disconnected from the main power supply and if the main switch of the house electrical system is not off or if the device is equipped with a plug, simply unplug it from the mains socket. If cleaning is not carried out according to these instructions, a fire may break out.
- Do not pull, take off or twist the cable coming out from the appliance, even though this has been disconnected from the main power supply.
- Do not sprinkle or throw any water directly on the appliance.
- Do not stick any sharp tool inside the exhausting holes and into the air discharge.
- Do not take out the filters in order to reach the internal sides of the appliance in case the main switch of the house electrical system is not off.
- Do not singe or flambé directly underneath the cooker hood. Take particular care when frying to ensure that the oil does not catch fire.
- CAUTION: Accessible parts may become hot when used with cooking appliances.
- It is forbidden to use the hood as a support surface unless it is expressly indicated.
- Only use the fixing screws supplied with the product for installation.
USE
This cooker hood can be employed as exhausting or filtering.
Exhausting (external evacuation – Fig. 1A). Remove any activated carbon filters if present. Kitchen smokes are driven outside through a flue (not provided with the hood) joined to the exhaust pipe flue connector. This pipe must not under any circumstances be connected to cooker, boiler or burner exhaust pipes, etc.
The use of pipes and holes on the wall with a smaller diameter than the output of the motor will cause a decrease in suction performance and an increase of the noise level. Use as short as possible tubes and with few curves. Use pipes with smooth internal surfaces.
Filtering (inside recycling – Fig. 1F). The fumes pass through activated carbon filters (available as an accessory) to be purified and recycled into the kitchen.

INSTALLATION
Read the instruction manual before installing and/or using the hood. The minimum distance between the supporting surface of the cooking hob and the lowest part of the range hood must be not less than 26in (65cm) with a gas hob. If the mounting instructions of the gas hob indicate a wider distance, respect it. It must not be superimposed on stoves with an upper radiating plate. Respect all the air discharge regulations.
The air must not be discharged in a pipe used to discharge exhaust fumes produced by gas-fed equipment or fuel-fed equipment (this does not apply to filtering hoods). The room must be adequately ventilated when the hoods is used together with other gas or fuel equipment.
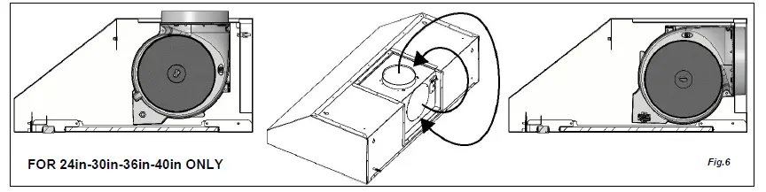
The hood placed above an induction hob can cause condensation, this is a normal phenomenon and not due to malfunctioning of the product. For an easy access, it is advisable to move possible furniture under the installation area. The hood is equipped with all the necessary fastenings for its installation, which are suitable for most surfaces. Verify that the installation surface is strong. Installation must be carried out by qualified installers according to present regulations. Sizes 24in – 30in – 36in – 40in can vent out of the top or of the back.
Choose the vent option before the installation. To change the vent position, disconnect the blower power, disassemble the blower and the metal cover and switch to the desired position (Fig. 6).

Then re-connect the power cord. Sizes 48in – 60in can vent out of the top ONLY. Follow the hood assembly instructions indicated below: Turn the main switch of the system to “off”.
Prepare the furniture for the hood installation verifying the hole position (Fig. 4 and Fig. 4.1).

Remove the metal filters (Fig. 2)
to be able to act inside the hood. The hood can be fixed directly on the cabinet or on the wall (Fig. 5).
Place the hood under the cabinet. Fix it from the inside onto the furniture, or on the wall, with the supplied screws (A). Secure the hood definitively with the safety screws (A). Connect the hood electrically. Reinstall the metal filters.
ELECTRICAL CONNECTION
This equipment must be connected to a grounding plant. Two types of electrical connection can be used:
- Using a standard plug to be connected to the power cable and inserted in a mains socket which must be accessible (so that the plug can be disconnected when servicing is carried out). Make sure that the plug is accessible also after the complete installation of the equipment.
- By means of a fixed mains connection, fitting a bipolar switch, which ensures the disconnection, with an opening distance of the contacts allowing a complete disconnection on the conditions of the overvoltage III category, according to installation regulations. The ground connection (yellow-green wire) must not be interrupted.
Refer to the plate inside the hood for the mains voltage and frequency ratings. If the power cable is damaged, it must be replaced by the manufacturer or by its service agent or a qualified person in order to avoid any risk.
OPERATION
The hood is supplied with a multispeed blower. The hood should be run at low speed under normal conditions and at higher speeds only when there is a heavy build-up of fumes or odours.
Ideally, the hood should be switched on as soon as cooking is started and then kept on until all odours have been eliminated.
Hood controls operation (Fig. 3):

- TL button: illumination on and off.
- T1 button: switching on the hood, selecting the first speed, switching off the blower.
- T2-T3-T4 button: selection of the second, third and fourth speed of the blower The LED of the key in operation remains lit steadily.
To turn the blower off when you are not at the first speed, press T1 twice
Adjustable and delayed self-switching off
Causes total shutdown of lights and blower.
With the hood in operation, select the desired speed, then keep the TL button pressed for a few seconds until the speed LEDs (L1, L2, L3, L4) start flashing indefinitely until the hood auto-off setting. By pressing one of the keys (T1, T2, T3, T4) the delayed auto-off time can be programmed, as follows:
- T1 corresponds to 5 minutes; T2 corresponds to 10 minutes; T3 corresponds to 15 minutes; T4 is 20 minutes.
- During automatic shut-off operation, the set speed can be changed. If the choice of the switch-off time corresponds to the set speed, the speed
- LED flashes; if the choice is different, the speed LED remains fixed.
- During operation with auto-switch-off it is possible to deactivate the delayed switch-off by keeping the hood in operation, keeping the button corresponding to the selected delayed time pressed.
- During the auto-off function it is however possible to switch off the hood by pressing T1 twice.
Maintenance warning for grease filters
Every 30 hours of operation of the hood, when it is switched off, all the LEDs of the hood speed buttons will light up for 30 seconds to alert the necessary cleaning of the metal grease filter. To reset the timer simply press and hold the T4 button with the fan off. If the timer is not reset, all the LEDs will light up again each time the hood is switched off again. You can reset the timer at any time.
Charcoal filters maintenance alert (for hoods in the filtering version)
Every 120 hours of operation of the hood, when it is switched off, all the LEDs of the hood speed buttons will light up for 30 seconds to remind the cleaning of the metal grease filters and, if the hood is in the filtering version, it is necessary to replace the carbon filters. To reset the timer, simply press the T4 button with the fan off, otherwise the LEDs will flash again after each time the hood is switched off. You can reset the timer at any time.
MAINTENANCE
Always disconnect the hood from the mains before carrying out any maintenance or cleaning operation.
Particular attention should be paid to the metallic anti-grease filters that are designed to trap particles of fat contained in the fumes. The metallic anti-grease filters must be washed at least once a month or, if present in this model, when indicated by the electronic notice, with detergent in hot water (or in the dish-washer). The filters may discolour after a few washes. This is normal and does not mean they have to be replaced. To remove the metal grease filters, use the handle (Fig. 2).

It is recommended to refit the metal grease filters only if perfectly dry.
ATTENTION: the grease collected in the filters can easily catch fire and it is therefore extremely important to clean the metallic filters on a regular basis as per instructions.
The activated charcoal filters, if present, are designed to collect unpleasant odours in the cooking fumes. The purified air is recycled into the room. The charcoal filters must not be washed, but replaced 2 or 3 times a year, depending on how much the hood is used.
To replace the activated carbon filters, first remove the metal anti grease filters (Fig. 2).

At this point the activated carbon filters can be removed by rotating them about 90° from their position to release them from the interlocking tabs, then accompanying the filter downwards, without the use of tools. To reinstall the new activated carbon filters, reverse operations. The hood features a LED light that, in addition to offering a good lighting and a significant energy savings, are guaranteed to last on average 10 times more than traditional lights. Replacement filters and spare-parts are available through your local dealer. In order to remove the remaining glue or any impurity, the cooker hood must be cleaned immediately after installation and after having removed the protective film. The cooker hood must be cleaned frequently both internally and externally (at least once a month). Do not let dirt gather on the inner and outer surfaces of the hood. To clean the exterior of the hood do not use either acid or basic products, or abrasive sponges. Clean the hood with a sponge dampen in warm water and a little quantity of neutral detergent (for example dishwasher detergent), in order to remove possible particles of grease. Rinse with a damp cloth, removing all the detergent carefully, following the satin finish direction on the steel surface. Drying is very important, especially in areas where water is particularly hard and leaves limestone. All the ordinary and extraordinary maintenance can be performed without having to remove the hood.
Range Hood Warranty
All warranty service Is provided by our Factory Service centers, or an authorized Customer Care technician. lo schedule service online, visit us at www.rorteapPpliances.com, or call Forte Appliances at 718.249.1217. Please have your serial number and your model number available when calling for service. Servicing your appliance may require the use of the onboard data port for diagnostics. This gives a Forte Appliances factory service technician the ability to quickly diagnose any Issue With your appliance and helps Forte Appliances improve its products by proViding information on your appliance. If you do not want your appliance data to be sent to Forte Appliances, please advice your technician not to submit the data at the time of service. Your Range Hood has been inspected and tested and is warranted subject to following for a period of 24 months from the date of purchase against directs in workmanship and materials. During this period, we undertake to repair or replace any defective part which was originally defective in our opinion. This warranty is null and void if the appliance is used for commercial purposes.
What Forte Appliances will not cover
- Service trips to your home to teach you how to use the product.
- Improper Installation, delivery, or maintenance.
- Failure of the product if it is abused, misused, bodied, or used tor other ennead purpose or used
- Replacement of house fuses or resetting or circuit breakers.
- Damage to the product caused by accident, fire, floods, or acts of God.
- Damage to finish such as surface rust, tarnish, or small blemishes not reported within 48 hours of delivery
- Incidental or consequential damage caused by possible defects with this appliance Dorr every. accessible to provide required service
- Service to repair or replace light bulbs, except for LED lamps.
EXCLUSlON OF IMPLIED WARRANTIES
Your sole and exclusive remedy is product repair as provided in this Limited Warranty. Any implied warranties, including the implied warranties of merchantability or fitness for a particular purpose, are limited to two years or the shortest period allowed by law. This warranty is extended to the original purchaser and any succeeding owner for products Purchase or none use twin tne Ate products Coded in an arid were service to brine the product to an Authorized Forté Appliances Service location for service. In Alaska, the warranty excludes the cost of shipping or service calls to your home. Some states do not allow the exclusion or limitation of incidental or consequential damages. This warranty gives you specific legal rights, and you may also have other rights which vary Tromp state to state. lo know what your tealights are, consult your local or state consumer affairs office or your state’s Attorney General.




















