Duplex Standing Desk EF1S-4824N

Installation Guide
Specifications

Accessory Package
Figures shown are for reference only. Please contact customer service if there are any accessory or tools missing.

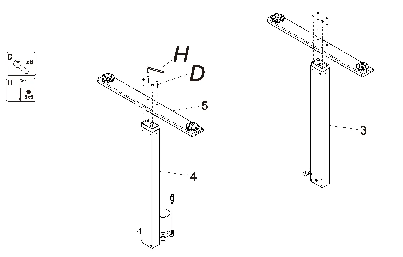
Parts Included

Diagram of Components

Step 1: Install Desk Feet

Step 2: Install Transmission Rod
Insert the end of the drives haft (13) into lifting column 1 (3) all the way to the shaft stopper, then attach the other end to the motor on lifting column 2 (4), rotating it slightly if needed. Tighten down the locking bolt on the motor with 2.5×2.5 hex key (H).

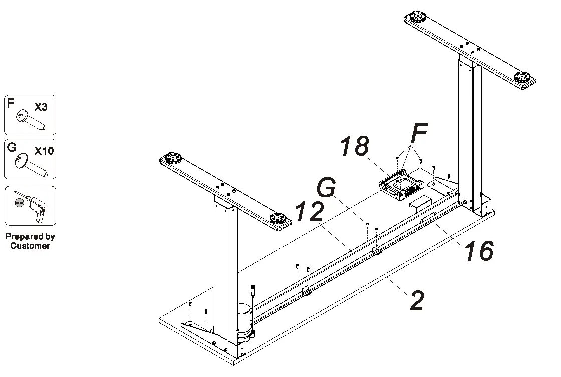
Step 3: Install Crossbeam
Attach the crossbeam (12) to the lifting columns (3 & 4) with the MB bolts (E) and tighten them down with the 5×5 hex key (H).

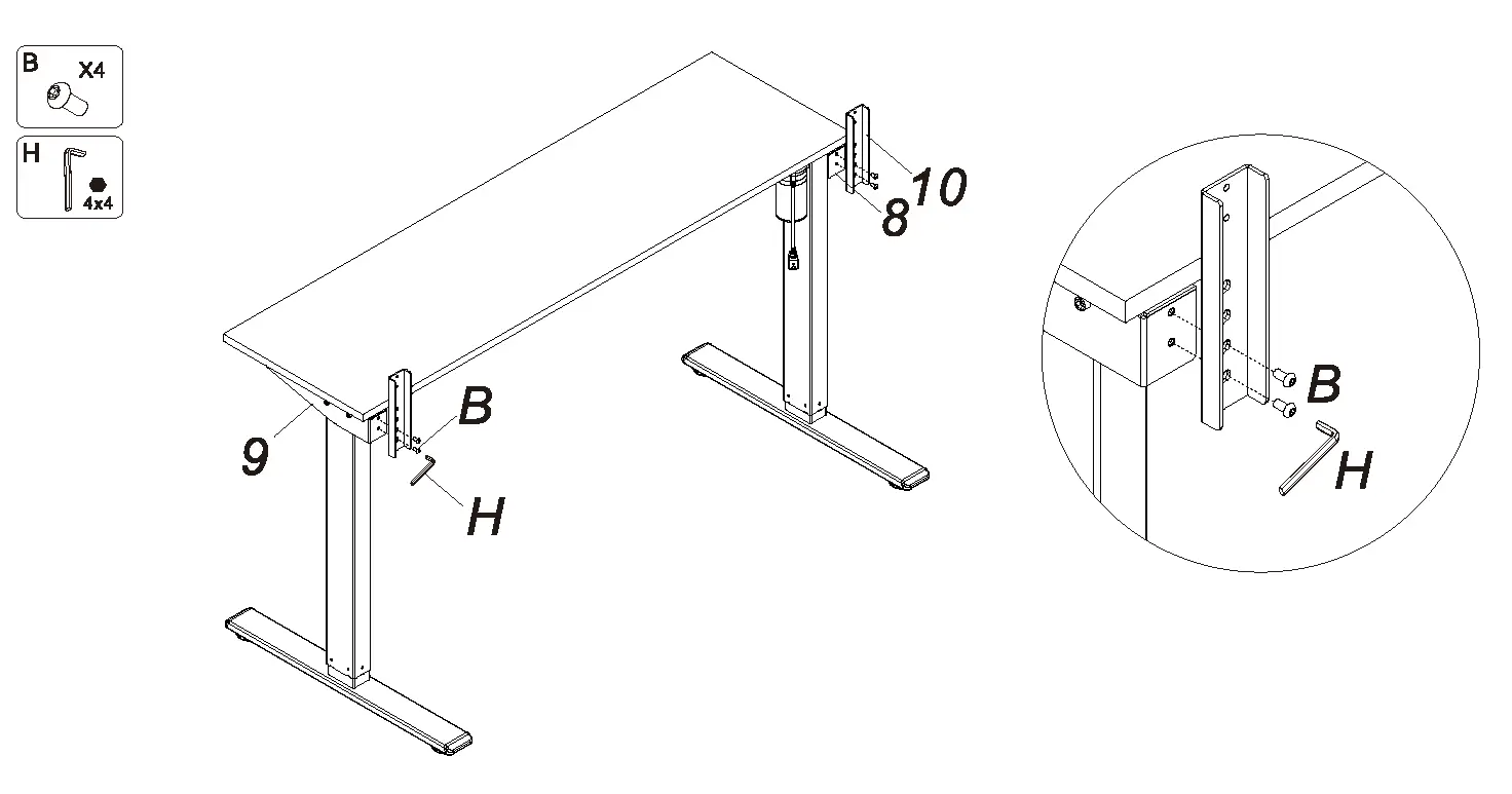
Step 4: Install Support Plates {Front Board)
Attach the support plate (8 & 9) to the lifting columns (3 & 4) using medium M6 bolts (C). Tighten with 5×5 hex key (H).

Step 5: Install Adapter Holder, Front Board, and Keypad
Put the frame upside down on the underside of the front board. Attach the adapter holder (16) to the crossbeam (12). Attach the frame to the front board using St4.2 screws(Type 2) (G), and attach the keypad(18) to the front board using St4.2 screws(Type 1) (F).
Note: the holes in the adaptor holder (16) are not for screws. The pre-drilled holes are just for your reference.

Step 6: Install Baffles and Adapter
Attach the baffle (14) to the crossbeam using short M4 bolts (A) and tighten with 2.5×2.5 hex key (H).

Step 7: Install and Manage Power Cord

Step 8: Install Layer-adjust Plates
Attach the Layer-adjust Plate (10) to the back side of support plate (8 & 9) using short M6 bolts (B). Tighten with 4×4 hex key (H).

Step 9: Install Support Plates(Rear Board} and Reinforced Beam(Rear Board}

Step 10: Install the Rear Board Part
Untight four short M6 bolts (8) to two layer-adjust plates (10) first, then buckle the rear board assembly into the hoist hole supporting the layer-adjust plate (10), slide it down, and finally tighten these bolts (B) with a 4×4 hex key (H).

Step 11: Adjust the Height of Rear Board
Use a 4×4 hex key (H) to loosen the bolt (B) first, slide the bolt along the track on the layeradjust plate (10), adjust it to a suitable height, and tighten it with the 4×4 hex key (H).

Keypad Instruction

Operation Instruction
- Press the” Δ ” button to raise the desk; long press for continuous movement. The LED screen will show “top” when the desk reaches its highest position.
- Press the” ∇ ” button to lower the desk; long press for continuous movement. The LED screen will show “bot” when the desk reaches its lowest position.
Memory Presets
- While the desk is idle, press and hold the “1” button for 3 seconds, a beep will sound and the display will show “S-1 “, meaning that the height is successfully saved to preset 1.
- Pressing the “1” button will now automatically adjust the height to the saved preset. Repeat above steps to override the memory setting.
- Repeat for presets “2” -“4”
Reset function
- If desk is malfunctioning or an error code appears, the control box may need to be reset. Press and hold the “3” and “4” keys together for 3 seconds to enter reset mode.
- After entering reset mode, the display will show “RST”. Press and hold the” ∇ ” key until the desk reaches its lowest point and rebounds slightly. The display will show “bot”, showing that the reset is complete.
29V DC Power Supply Function
- While the table is not in the reset state, after idling for 30 seconds, the 29V DC power supply function will be turned on, and the 2pin connector at the back of the control box will output a 29V DC voltage.
Anti-collision sensitivity adjustment
- When the anti-collision function is turned on, when the desk rises or descends, it will rebound immediately when it encounters an obstacle for protection. If the desk stops unexpectedly without experiencing a collision or does not stop when colliding with another object, the anti-collision sensitivity may need to be changed.
- Press and hold the” Δ ” and” ∇ ” keys together for 3 seconds to adjust between anti-collision sensitivity levels.
- There are 4 sensitivity levels: A-0, A-1, A-2, and A-3. A-0 = off; A-1 = low sensitivity, A-2 = medium sensitivity, A-3 = high sensitivity.
Troubleshooting
- The display will show “RST” or “rSt” when desk is in reset mode. Press and hold the” ∇ ” key until the desk reaches its lowest point and rebounds slightly. The display will show “bot”, showing that the reset is complete.
- If the display shows E01 or E02, please let the desk idle for at least 18 minutes before operating it again.
- If any other codes appear and the desk does not respond to holding down the” ∇ ” button or attempting to enter reset mode, please confirm all cables are properly connected and undamaged. Unplug the desk for at least 10 seconds. When replugged, the display shows “RST” or “rSt”, long press the ” ∇ ” button to enter reset mode.
- If the above steps are unsuccessful at troubleshooting your issues, please contact customer service.
- If the desk rises unexpectedly slow, slides down on its own, or frequently enters reset mode, please double check that the desk is not overloaded (weight capacity: 132 lbs.)
- If the lifting columns are uneven and/or not the same height, please refer to the “standing desk leg problem” video at https://www.flexispot.com/deskresources#3 for troubleshooting.
Attention
- Power supply: AC100 – 240 V, frequency 50/60HZ;
- Working environment: 32° – 104° F;
- Before cleaning, you have to unplug the power supply cable. Clean with a slightly damp cloth to wipe away the surface dust. Keep all electrical components away from liquids. Do not damage the connection line and keep the plug in a safe position.
- Inside the control box, there are electronic components, metal parts, plastic parts, wires and so on. They should be disposed in accordance with the local laws and regulations. They cannot be disposed as household waste.
- Before using the product, please make sure the product has been installed correctly.
- Before starting use of the product, please read the instructions to fully understand all the product’s functions and settings.
- Keep children away from electric height-adjustable desks, control units and handsets. Manufacturer is not responsible of any damages that result from children’s unpredictable behaviour.
- Slight noise caused by the multi wedge belt or brake system will not impact the use of this product.
- Do not use corrosive or abrasive materials to clean this product and please dispose of cleaning solutions in an environmentally friendly manner.
- Understand the risks associated with using this product. Children or those with cognitive impairment should not use this product without supervision.
- If the power supply cord is damaged or broken, it must be replaced by the manufacturer or a relevant specialist to avoid any injuries.
- Please operate in a clean and safe environment. For example, do not left around your tools. And always be careful to deal with packaging materials, in order to avoid any kinds of possible danger. Potential chocking risk exists when children play with plastic bags!
- If necessary, retain the original package for future transportation.
Recycling and Disposal
This product cannot be disposed of as household waste. To prevent damage to the environment, this product should be recycled. Please use the relevant recycling systems available to you or contract the distributor or manufacturer for recycling assistance.
FlexiSpot Limited Warranty
This limited warranty offered by FlexiSpot covers defects in material or workmanship in new FlexiSpot products. This warranty extends to the original purchaser only and is non-transferable. Only consumers purchasing FlexiSpot products from authorized FlexiSpot retailers or resellers may benefit from our limited warranty.
What is Covered?
The FlexiSpot limited warranty covers our products against defects in material or workmanship as follows:
- FlexiSpot Height Adjustable Desk Frames
All height-adjustable desks feature a 5-year warranty for the frame & motor and a 2-year warranty for the controller, switch, electronics and other mechanisms. - FlexiSpot Sit-Stand Desktop Workstations
All sit-stand desktop workstations feature a 5-year warranty for the frame and MDF desktop and 3-year warranty for the gas spring system and other mechanisms. - FlexiSpot Desk Bikes
All desk bikes and parts, including the frame, electronics, and other mechanisms, feature a 1-year warranty. - FlexiSpot Mini Steppers
All Mini Steppers feature a 3-year warranty. - FlexiSpot Monitor Mounts
All monitor mounts and parts, including arms, gas spring systems and other mechanisms, feature a 5-year warranty.
What are your Remedies?
FlexiSpot will replace at no charge to the consumer the defective parts only or, at FlexiSpot’s option, replace any product or part of the product that is defective because of improper workmanship and/or material, under normal installation, use, service and maintenance. If FlexiSpot is unable to provide a replacement and repair is not practical or cannot be completed in a timely fashion, FlexiSpot may elect to refund the purchase price in exchange for the return of the product. In the rare event that your FlexiSpot product is defective, we will provide you with a replacement item shipped at no cost to you within the continental United States. The shipping method for replacement products is FedEx Ground, but expedited shipping is available if you choose to pay the additional expense. In addition, you will need to pay the shipping costs if any products need to be shipped to you at an address outside the continental United States.
REPAIR OR REPLACEMENT (OR, IN LIMITED CIRCUMSTANCES, REFUND OF THE PURCHASE PRICE) AS PROVIDED UNDER THIS WARRANTY IS THE EXCLUSIVE REMEDY OF THE PURCHASER. FLEXISPOT NEITHER ASSUMES NOR AUTHORIZES ANY PERSON TO CREATE FOR ANY OTHER OBLIGATION OR LIABILITY IN CONNECTION WITH THIS PRODUCT.
What is Not Covered?
Our limited warranty does not cover any problem that is caused by:
- Conditions, malfunctions or damage not resulting from defects in material or workmanship.
- Conditions, malfunctions or damage resulting from normal wear and tear, improper installation, improper maintenance, misuse, abuse, negligence, accident or alteration.
- Accessories, connected materials and products, or related products not manufactured by FlexiSpot.
- Conditions, malfunctions or damage resulting from failure to follow the instructions and guidelines relating to the product’s intended use.
Our limited warranty is void if a product is returned with removed, damaged or tampered labels or any alterations (including removal of any component or external cover).
How to File a Claim?
In order to receive the benefit of our limited warranty, you need to process your claim in compliance with the terms of this limited warranty and follow proper return procedure. To request warranty service, please contact customer service via email at [email protected] or toll free at 855-421-2808. You will need to provide the sales receipt or other evidence of the date and place of purchase for your FlexiSpot product.
Implied Warranties and Limitation of Damages
EXCEPT TO THE EXTENT PROHIBITED BY APPLICABLE LAW, ALL IMPLIED WARRANTIES (INCLUDING WARRANTIES OF MERCHANTABILITY AND FITNESS FOR A PARTICULAR PURPOSE) SHALL BE LIMITED IN DURATION TO THE DURATION OF THIS WARRANTY, AND FLEXISPOT SHALL NOT BE LIABLE FOR ANY INCIDENTAL, INDIRECT, SPECIAL, OR CONSEQUENTIAL DAMAGES, INCLUDING BUT NOT LIMITED TO LOSS OF PROFITS OR REVENUE, RESULTING FROM ANY BREACH OF EXPRESS OR IMPLIED WARRANTY OR CONDITION, OR UNDER ANY OTHER LEGAL THEORY, EVEN IF FLEXISPOT HAS BEEN ADVISED OF THE POSSIBILITY OF SUCH DAMAGES. Some jurisdictions do not allow limitations on the duration of an implied warranty or the exclusion or limitation of special, indirect, incidental or consequential damages, so the above limitations or exclusions may not apply to you.
Governing Law
This Warranty shall be governed by the laws of the State of California, USA, without giving effect to any conflict of laws principles that may provide the application of the law of another jurisdiction.
How State Law Applies
This Warranty gives you specific legal rights, and you may also have other rights which vary from state to state.
Website: www.flexispot.com Tel: 1-855-421-2808

















