Namron ZigBee 1 kanal bryter K2 sort Instruction Manual
Important: Read All Instructions Prior to Installation
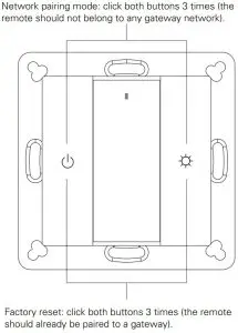
Function introduction
- Front side

- Back side

Product Data
Protocol | ZigBee 3.0 |
Operation Voltage | 3VDC (CR2450) |
| Transmission Frequency | 2.4GHz |
Transmission Range (free field) | 30m |
| Protection Type | IP20 |
Dimming Range | 0.1%-100% |
| Dimensions | 71.2×71.2×13.6mm |
- ZigBee dimmer switch based on ZigBee 3.0
- Enables to pair ZigBee lighting devices via touchlink commissioning without coordinator
- Supports find and bind mode to pair with ZigBee lighting devices in the same network
- Supports 1 group for binding max. 30 lighting devices
- 2.4 GHz global operation
- Long battery life mesh technology
- Transmission range up to 30m
- Compatible with universal ZigBee Gateway products
- Compatible with universal single color ZigBee lighting devices
- Compatible with universal ZigBee dimmable lighting devices
ZigBee Clusters Supported by This Remote Are As Follows:
Input clusters:
- Basic
- Power Configuration
- Identify
- Diagnostics
Output clusters:
- Identify
- On/off
- Level control
- Ota
Safety & Warnings
- This device contains a button lithium battery that shall be stored and disposed properly.
- DO NOT expose the device to moisture.
Quick Start (Simplified operations compared to standard operations in the part “Operation”)

Operation
- This ZigBee dim remote is a wireless transmitter that communicates with a variety of ZigBee compatible systems.
This transmitter sends wireless radio signals that are used to remotely control a compatible system. - This ZigBee remote supports 1 group for binding max. 30 lighting devices and enables to control single color ZigBee lighting devices.
- Zigbee Network Pairing through Coordinator or Hub (Added to a Zigbee Network)

Note:- After pairing successfully, the remote information will appear on the controller or hub interface.
- No remote information will appear on the hub interface if pairing to Philips Hue Bridge
- TouchLink to a Zigbee Lighting Device

Note:- Directly TouchLink (both not added to a ZigBee network), each remote can link with 30 devices.
- TouchLink after both added to a ZigBee network, each remote can link with max. 30 devices.
- For Hue Bridge & Amazon Echo Plus, add remote and device to network first then TouchLink.
- After TouchLink, the remote can control the linked lighting devices.
- Removed from a Zigbee Network through Coordinator or Hub Interface.

- Factory Reset Manually

- Remove a Touchlink Paired ZigBee Lighting Device

- Factory Reset a Lighting Device (Touch Reset)
Note: the device shall be added to a network, the remote added to the same one or not added to any network.
- Find and Bind a Zigbee Lighting Device
Note: Make sure the device and remote already added to the same zigbee network.
- Find and Unbind a Zigbee Lighting Device

- Clear All Find and Bind Mode Paired Lighting Devices

- Setup a Network & Add Devices to the Network (No Coordinator or Hub Required)

Step 5: Add more remotes to the network as you would like.
Step 6: Factory reset the lighting devices that you would like to add to the network, refer to their manuals.
Step 7: Touchlink to pair the added remotes and lighting devices you would like to add, the devices will be added to the network through Touchlink, refer to their manuals - OTA
The remote supports firmware updating through OTA, and will acquire new firmware from zigbee controller or hub every 10 minutes automatically. - How to Check Whether the Remote Belongs to a Network or not
Short press any button, indicator blinking means the remote has already been added to a network. No blinking of indicator means the remote does not belong to any network. - Battery Power Monitor Function
The remote will report battery power value to the coordinator under following situations:- When powered on.
- When short pressing both and buttons simultaneously.
- When operating the switch to send data packets (over 4 hours since last operation).
- When added to the network by a coordinator.
Installation
- Remove battery insulator
- Use tool to open the silicone gel battery cover

- Pull out the battery insulator

- Install the silicone battery cover back

- Use tool to open the silicone gel battery cover
- Install the controller to wall(2 methods)
- Method 1: Stick 3M glue on the back of the bracket and then stick the bracket to the wall

- Method 2: Screw the bracket to the wall

- After the bracket is fixed,clip the frame and control part to the bracket in sequence

- Method 1: Stick 3M glue on the back of the bracket and then stick the bracket to the wall
Mounting
The key part of this controller is an universal one, especially rotary standard sw

itch element that can be integrated in numerous frames by different manufactures as below list:
- BEKER: S1, B1, B3, B7 glass
- GIRA: Standard55, E2, Event, Esprit
- JUNG: A500, Aplus
- MERTEN: M-smart, M-Arc, M-Plan
Importer:
Namron AS Nedre kalbakkvei 88B 1081 Olso Norway
Made in China

































