ELKO EKO07258 Plus SmartTermostat Zigbee Touch

Smart ZB Thermostat 16 A
About this product
The Smart ZB Thermostat 16 A (hereinafter referred to as thermostat) is mainly used for electric underfloor heating or electric radiators, but could also be used to control mains powered motorized valves or circulating pumps for water-based heating.

Control options
Direct operation: The thermostat can always be con-trolled on-site.
- Room air temperature sensor only
- Floor sensor only
- Room air temperature for control and floor sensor for limiting heating temperature
NOTE: The thermostat works with several floor sensor types.
Functions
- Current room temperature and temperature set point
- Heating / cooling and connection status
- Presets
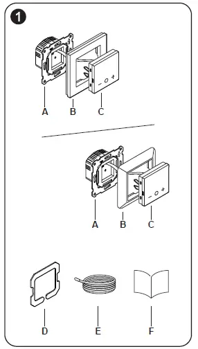
Package content

- A Insert
- B Frame
- C Control module
- D Gasket (Upgrade to IP31) E Sensor cable
- F Installation instructions
Product details

- A Dot matrix display
- B Touch buttons
Selecting the installation site

In order for the thermostat to be operated, the internal temperature sensor must be protected as far as possible against external influences and temperature fluctuations. This helps to guarantee reliable measurement of the room temperature.
Insert installation site
The following should therefore be taken into account when considering the installation site:
- Recommended installation height: 1 m above the floor.
- Do not install too close to windows, doors or ventilation openings.
- Do not install above heaters or other heat sources.
- Do not cover or install behind curtains.
- Avoid direct sunlight and light from lamps.
Floor sensor installation site
For reliable operation, the floor sensor must be protected against moisture, mechanical stresses and temperature fluctuations.
The following should therefore be taken into account when considering the installation site:
- Install in the middle of the loops of the underfloor heating unit.
- Lay the sensor cable in a plastic tube with an inside diameter of at least 16 mm.
- Fix tape to the end of the tube and cut a slice so that condensation water can come out of the tube.
- Ensure that tube corners are not too tight as corners affect installation of the sensor cable.
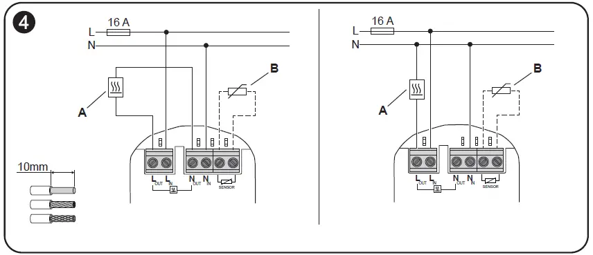
Electrical Connections

DANGER
HAZARD OF ELECTRIC SHOCK, EXPLOSION, OR ARC FLASH
Safe electrical installation must be carried out only by skilled professionals.
Skilled professionals must prove profound knowledge in the following areas:
- Connecting to installation networks.
- Connecting several electrical devices.
- Laying electric cables.
- Safety standards, local wiring rules and regulations.
Failure to follow these instructions will result in death or serious injury.
DANGER
RISK OF FATAL INJURY FROM ELECTRIC SHOCK
The output may carry electrical current even when the load is switched off.
- Disconnect the device from the supply by means of the fuse in the incoming circuit before working on the device.
Failure to follow these instructions will result in death or serious injury.
DANGER
RISK OF FATAL INJURY FROM ELECTRIC SHOCK
The device is not a Safety Extra Low Voltage (SELV) device.
The sensor lines are on mains (AC 230 V) line.
- Only use sensors with mains voltage basic insulated cable.
Failure to follow these instructions will result in death or serious injury.
NOTE: It is recommended to only use sensors tested as compatible. You can find the list of compatible sensors in the Device User Guide.
- A Load: max. 16 A live
- B Input floor sensor (optional)
Mounting

- (Optional) In order for the thermostat to reach protection class IP31:
- Place the gasket on the fixing plate.
- Complete the device with an ELKO RS16 or ELKO Plus frame.
- If not preconfigured, pull the frame over the module. Mind the orientation of the module springs.
- Clip the module into the insert.
NOTICE
EQUIPMENT DAMAGE
The module is firmly connected to the insert with a cable.
- Do not pull hard on the module or insert.
- When unmounting, note the length of the cable.
Failure to follow these instructions can result in equipment damage.
Presets

A preset must be selected after the first power up or reset.
| Preset | Configuration |
| P1 | Heat Pump/Oil Boiler (Room sensor) |
| P2 | Hydronic Radiator/Gas Boiler (Room sensor) |
| P3 | Hydronic Underfloor (Room sensor) |
| P4 | Electrical Radiator (Room sensor) |
| P5 | Electrical Underfloor (Room sensor – without floor limit sensor) |
| P6 | Electrical Underfloor (Room sensor – with floor limit sensor) |
| P7 | Hydronic Underfloor (Floor sensor) |
| P8 | Electrical Underfloor (Floor sensor) |
| P9 | Regulator Mode (based on percentage) |
Selecting a preset
To switch between presets, press the “+” or “–” push-button. “+” to increase the preset value or “–” to decrease the preset value.
Confirming the preset
To confirm the selection, press and hold the “+” button and the “–” button simultaneously for > 1 s.
You can find detailed information about the presets in the Device User Guide.
Reading the full Device User Guide online
Scan the QR code and choose your language for complete information about the device, including operation, configuration and using the product with a ELKO Smart system.
Technical data
| Nominal voltage: | AC 230 V | ~, 50 | Hz |
| Maximum current rating | |||
| Resistive load: | max. 16 A, 3520 W | ||
| Inductive load: | max. 4 A | ||
| Standby: | max. 0.5 W | ||
| Connecting terminals: | Screw terminals for max. 2.5 mm², 0.5 Nm | ||
| Neutral conductor: | Required | ||
| Ambient operating temperature: | 0 to 40 °C | ||
| Relative humidity: | max. 90% non-condensing | ||
| Temperature accuracy: | max. ±0.5 °C (across the range of 4 to 30 °C) | ||
| Temperature measurement resolution: | max. 0.1 °C | ||
| Display: | 7×5 dot matrix, 3 additional LEDs | ||
| Operating frequency: | 2.401 GHz to 2.483 GHz | ||
| Max. radio-frequency power transmitted: < 10 mW | |||
| Communication protocol: | Zigbee 3.0 certified | ||
| Floor sensor types: | 10k, 12k, 15k, 33k, 47k (Thermistor resistance values in Ohm. Nominal value at 25 °C) | ||
| Protection Class: | II | ||
| Working voltage: | 230 V | ||
| Over-voltage category: | III | ||
| Rated impulse voltage: | 4 kV | ||
| Pollution degree: | 2 | ||
| CTI rating of insulation components: | 175 V | ||
| Material group: | IIIa (based on CTI value) | ||
| Disconnection type: | 1.B | ||
Trademarks
Zigbee® is a registered trademark of the Connectivity Standards Alliance.
Other brands and registered trademarks are properties of their relevant owners.
EU Declaration of Conformity
Hereby, ELKO, declares that this product is in compliance with the essential requirements and other relevant provisions of RADIO EQUIPMENT DIRECTIVE 2014/53/EU. Declaration of conformity can be down-loaded on: ELKO.no.
ELKO
ELKO AS
Sandstuveien 68, 0680 Oslo
Pb 6598 Etterstad, 0607 Oslo
+47 67 79 39 00
[email protected]
www.elko.no



















