ELKO EKO07115 Smartbyter Wireless Plus PH 
Prerequisites
Download the ELKO Smart app to your smartphone and install the ELKO SmartHUB to configure and control ELKO Smart devices.
Additional system information
Detailed product information is available online in the system user guide: Scan the QR code or follow the link.http://proff.elko.no/elko-smart
For your safety
DANGER
HAZARD OF ELECTRIC SHOCK, EXPLOSION, OR ARC FLASH The safe electrical installation must be carried out only by skilled professionals. Skilled professionals must prove profound knowledge in the following areas:
- Connecting to installation networks
- Connecting several electrical devices
- Laying electric cables
- Safety standards, local wiring rules and regulations Failure to follow these instructions will result in death or serious injury. Work on the power supply is necessary if you are mounting the device onto a wall box with 230 V AC cables or an existing switch/socket outlet combination.
Getting to know the product
The SmartSwitch Push Wireless (hereinafter referred to as device) is used to control a group of Zigbee devices within the same Zigbee network. The device can be configured through ELKO Smart app or can be paired with other ELKO Smart devices.
Package contents
- SmartSwitch Push
- Wireless B Battery
- Adhesive pads
- Adhesive silver foil
- Installation instructions
The wall box, wall plugs and screws are not included in the package. They must be procured by the user.
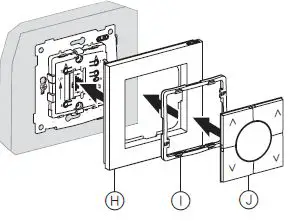
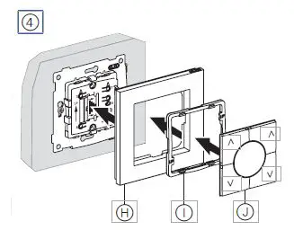
Mounting elements

- Fixing frame
- Module
- Front cover
- Locking ring
- Rocker
Mounting the device
- For wall box, wood or wall use mounting screws.
- For smooth surfaces, use adhesive pads. For glass surfaces, use adhesive pads and adhesive silver foil.
- While mounting the device, the arrow on the module must point upwards.
Note:
Do not install the device on a metal surface, as it affects the wireless communication and performance of the device.
Mounting using screws

Remove the rocker.- Remove the locking ring and the front cover
- Mount the fixing frame on the surface using screws.
- Secure the locking ring, front cover and then the rocker on the fixing frame.
Mounting using adhesive pads
- Affix the adhesive pads C at the four corners on the rear side of the fixing frame.
- Mount the device on the surface.
Mounting using adhesive silver foil
The adhesive pads C must be affixed to the fixing frame.
- Paste the adhesive silver foil D on the glass surface, avoiding bubbles or folds in the foil.
- Mount the device on the adhesive silver foil.
Inserting the battery
WARNING
CHEMICAL BURN HAZARD Keep batteries out of reach of children. If swallowed, seek immediate medical attention. Failure to follow these instructions can result in serious injury or death.
- Press the battery cover.
- Slide towards right to remove.
- Insert the battery with plus (+) symbol facing outward.
- Secure the battery cover by pressing and The battery cover is designed with child lock protection.
Replacing the battery
Dispose of used batteries as per statutory regulations.
Operating elements
- K Pushbutton (Setup/Reset)
- L Status LED
Setting the device
Connecting to the ELKO SmartHUB
Short press (< 0,5 s) the push button 3 times to connect to an available Zigbee network. The status LED blinks amber and then turns green upon successful connection to the Zigbee network.
Pairing to other ELKO Smart devices
To control products in a room control mode, it can be paired with other ELKO Smart devices within the same Zigbee network. For more information refer to the system user guide.
Resetting the device
Short press (< 0,5 s) the push button 3 times and then press and hold the push button (> 10 s), the status LED blinks red. Then release the push button, the status LED stops blinking upon successful reset of the device. The device restarts and blinks green for a few seconds. After reset, the LED turns off to save the battery.After the device is reset all the programming and network data will be deleted.
Troubleshooting
Refer to the system user guide.
Technical data
| Battery | CR2032 |
| Battery life | Up to 5 years (depending frequency of use and quality of battery) |
| IP rating | IP20 |
| Operating frequency | 2405 – 2480 MHz |
| Max. radio- frequency power transmitted | <10 mW |
| Range | 100 m open space |
| Operating temperature | -5 °C to 45 °C |
| Relative humidity | 10% to 95% |
| Certification | Zigbee 3.0 |
Dispose of the device separately from household waste at an official collection point. Professional recycling protects people and the environment against potential negative effects.
Trademarks


- Zigbee is a registered trademark of the Zigbee Alliance.
- Apple and App Store are brand names or registered trademarks of Apple Inc.
- Google Play™ Store and Android™ are brand names or registered trademarks of Google Inc.
Other brands and registered trademarks are properties of their relevant owners.
EU Declaration of conformity
Hereby, ELKO, declares that this product is in compliance with the essential requirements and other relevant provisions of RADIO EQUIPMENT DIRECTIVE 2014/53/EU. Declaration of conformity can be downloaded on: ELKO.no.





Remove the rocker.


















