
TOOLS 012227 0-150mm Digital Vernier Callipers
Instruction Manual

Item no. 012227
0-150 mm
DIGITAL VERNIER CALLIPERS
OPERATING INSTRUCTIONS
An Important! Read the user instructions carefully before use. Save them for future reference. (Translation of the original instructions)
Care for the environment!
Recycle discarded products in accordance with local regulations.
Jula reserves the right to make changes. For the latest version of operating instructions, see www.jula.com 
SYMBOLS
| Read the instructions. | |
![]() | Approved in accordance with the relevant EU directives. |
| Recycle as electrical waste. |
| Length | 235 mm |
| Display | LCD |
| Material | stainless steel |
| Battery (button ce | SR44/LR44 |
| Measuring range | -150mm/0-6 inch |
| Resolution | 0.01 mm/ 0.0005 inch |
| Precision < 100 mm | 0.02 mm/ 0.001 inch |
| 100-150 mm | 0.03 mm/ 0.001 inch |
| Max measuring speed | 1.5 m/ /s, 60 inch/s |
| Ambient temperature, o | 5 to 40°C |
| Best ambient temperature, operation | ion 20 °C |
| Relative humidity | max 80% |
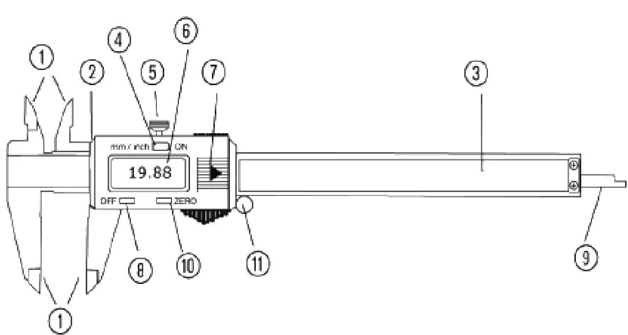
DESCRIPTION
APPLICATIONS
The calliper is a precision tool for measuring internal and external dimensions and depth. With display for distinct readings.
MILLIMETRE AND INCH SCALE
The calliper has two scales of 0-150 millimetres and 0-6 inches, and measures with a precision of 0.01 mm.
RESET FUNCTION
With the reset function, you can reset the calliper at any point on the scale to measure the difference from there.
- Legs to measure internal and external dimensions
- Slider
- Scale
- Selector mm/inch
- Locking screw
- Display
- Battery
- Power switch button
- Depth gauge
- Reset button
- Runner FIG. 1
MAINTENANCE
IF THE DISPLAY FLASHES
Replace the battery if the display flashes – see Technical data. The battery is sold separately in Jula department stores and at www.jula.com.
CLEANING Clean the product with a dry cotton cloth. Do not use acetone or alcohol to clean theproduct.
STORAGE Store the product indoors in a dry and dustless place in the supplied case, well protected from corrosive fluids and substances, at temperature of 5 to 40°C and maximum humidity of 80%.



















