
Item no. 012227 
0-150 mm
DIGITAL VERNIER CALLIPERS

OPERATING INSTRUCTIONS
Important! Read the user instructions carefully before use. Save them for future reference. (Translation of the original in-structions)
Care for the environment!
Recycle discarded product in accordance with local regulations.
Jula reserves the right to make changes. For latest version of operating instructions, see www.jula.com

JULA AB, BOX 363, SE-532 24 SKARA
2021-12-16
©Jula AB

SYMBOLS
![]() | Read the instructions. |
![]() | Approved in accordance with the relevant EU directives. |
![]() | Recycle as electrical waste. |
TECHNICAL DATA
Length 235 mm
Display LCD
Material stainless steel
Battery (button cell) SR44/LR44
Measuring range 0 – 150 mm / 0 – 6 inch
Resolution 0.01 mm / 0.0005 inch
Precision
<100 mm 0.02 mm / 0.001 inch
100-150 mm 0.03 mm / 0.001 inch
Max measuring speed 1.5 m/s, 60 inch/s
Ambient temperature, operation 5 to 40°C
Best ambient temperature, operation 20 °C
Relative humidity max 80%
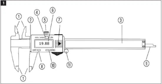
DESCRIPTION
APPLICATIONS
The calliper is a precision tool for measuring internal and e>cernal dimensions and depth. With display for distinct readings.
MILLIMETRE AND INCH SCALE
The calliper has two scales of 0-150 millimetres and 0-6 inches, and measures with a precision of 0.01 mm.
RESET FUNCTION
With the reset function you can reset the calliper at any point on the scale to measure the difference from there.
- Legs to measure internal and external dimensions
- Slider
- Scale
- Selector mm/inch
- Locking screw
- Display
- Battery
- Power switch button
- Depth gauge
- Reset button
- Runner
FIG. 1
MAINTENANCE
IF THE DISPLAY FLASHES
Replace the battery if the display flashes – see Technical data. The battery is sold separately in Jula department stores and at www.jula.com.
CLEANING
Clean the product with a dry cotton cloth. Do not use acetone or alcohol to dean the product.
STORAGE
Store the product indoors in a dry and dustless place in the supplied case, well protected from corrosive fluids and substances, at a temperature of 5 to 40°C and maximum humidity of 80%.




















